TOP
|
特許
|
意匠
|
商標
特許ウォッチ
Twitter
他の特許を見る
公開番号
2025176315
公報種別
公開特許公報(A)
公開日
2025-12-04
出願番号
2024082353
出願日
2024-05-21
発明の名称
情報処理装置および情報処理方法
出願人
清水建設株式会社
代理人
個人
,
個人
,
個人
主分類
E21D
9/00 20060101AFI20251127BHJP(地中もしくは岩石の削孔;採鉱)
要約
【課題】地山の硬軟状況や地質の状態に応じて施工計画を調整するうえで有用な情報を提供する。
【解決手段】モデル処理部は、削孔地点ごとに削孔投入エネルギーの分布を示す削孔データを参照し、前記削孔投入エネルギーの掘削方向の変化量が所定の変化量の閾値よりも大きい変化点を特定し、3個以上の削孔地点間で前記削孔投入エネルギーの変化傾向が共通する変化点を通る境界面を定める。本願の実施形態は、情報処理装置、情報処理方法など、いずれの形態によっても実現することができる。
【選択図】図2
特許請求の範囲
【請求項1】
削孔地点ごとに削孔投入エネルギーの分布を示す削孔データを参照し、前記削孔投入エネルギーの掘削方向の変化量が所定の変化量の閾値よりも大きい変化点を特定し、
3個以上の削孔地点間で前記削孔投入エネルギーの変化傾向が共通する変化点を通る境界面を定めるモデル処理部
を備える情報処理装置。
続きを表示(約 640 文字)
【請求項2】
前記境界面または掘削方向に隣接する境界面で挟まれる層の形状を表示部に表示させる表示処理部を備える
請求項1に記載の情報処理装置。
【請求項3】
前記モデル処理部は、
前記変化点を通る第1境界面と、
前記第1境界面に係る変化点と前記掘削方向に隣接する変化点を通る第2境界面を特定し、
前記第1境界面と前記第2境界面で挟まれる層を特定する
請求項2に記載の情報処理装置。
【請求項4】
前記モデル処理部が特定した層の形状を示す表示情報を表示部に表示させる表示処理部を備える
請求項3に記載の情報処理装置。
【請求項5】
操作に応じて前記変化量の閾値を設定する設定部を備える
請求項1に記載の情報処理装置。
【請求項6】
前記モデル処理部は、
前記境界面または掘削方向に隣接する境界面で挟まれる層を有する地質モデルを構成する
請求項1に記載の情報処理装置。
【請求項7】
情報処理装置が、
削孔地点ごとに削孔投入エネルギーの分布を示す削孔データを参照し、前記削孔投入エネルギーの掘削方向の変化量が所定の変化量の閾値よりも大きい変化点を特定するステップと、
3個以上の削孔地点間で前記削孔投入エネルギーの変化傾向が共通する変化点を通る境界面を定めるステップと、を実行する
情報処理方法。
発明の詳細な説明
【技術分野】
【0001】
本願は、情報処理装置および情報処理方法に関する。
続きを表示(約 2,000 文字)
【背景技術】
【0002】
山岳トンネル施工において、破砕帯など地山の不安定箇所における施工の安全性確保や、的確で遅延のない対策工事の実施のためには、切羽前方を含む周辺地山の状況を把握することが重要である。切羽前方の状況を調査する際、削孔検層が多くの施工現場で用いられている。削孔検層とは、岩盤を削孔して得られる削孔データを利用して地山の硬軟変化や地質状況を探査することを指す。この手法によれば、比較的簡易かつ低コストで岩盤の強度分布を把握できるためである。また、地山の地盤や岩盤を対象として削孔データを用いて空間的に可視化する技術(例えば、特許文献1、2など)や削孔データから地山強度を算出する方法(例えば、特許文献3、4など)が提案されている。
【先行技術文献】
【特許文献】
【0003】
特開平4-161588号公報
特開2022-169055号公報
特開2009-161964号公報
特開2023-003119号公報
特開2022-141080号公報
【発明の概要】
【発明が解決しようとする課題】
【0004】
特許文献2、5には、クリギング(kriging)補間などの地球統計学的手法を用いて、複数地点から取得された削孔投入エネルギーや、それを強度変換して得られた数値に基づいて三次元地質モデルを作成する手法について記載されている。削孔投入エネルギーは、比較的細かい分解能で得られるため、周囲と比較して固い岩塊(例えば、直径1~2m)や、薄い断層もしくは破砕部(例えば、厚さ1m)など、切羽全体の面先に比べて小さな岩盤性状の変化を捉えるうえで有用である。しかしながら、施工現場においては、細かい性状変化よりも、予め設計された支保パターンの変更に関わる大きな岩盤性状境界の出現位置や、補助工法の追加検討を必要とする場所や、境界部分におけるリスクを予測すること、などが重要になることがある。
【0005】
本願は、このような事情に鑑みてなされたもので、地山の硬軟状況や地質の状態に応じて施工計画を調整するうえで有用な情報を提供することを一つの目的とする。
【課題を解決するための手段】
【0006】
(1)本願の一態様は、削孔地点ごとに削孔投入エネルギーの分布を示す削孔データを参照し、前記削孔投入エネルギーの掘削方向の変化量が所定の変化量の閾値よりも大きい変化点を特定し、3個以上の削孔地点間で前記削孔投入エネルギーの変化傾向が共通する変化点を通る境界面を定めるモデル処理部を備える情報処理装置である。
【0007】
(2)本願の一態様は、情報処理装置が、削孔地点ごとに削孔投入エネルギーの分布を示す削孔データを参照し、前記削孔投入エネルギーの掘削方向の変化量が所定の変化量の閾値よりも大きい変化点を特定するステップと、3個以上の削孔地点間で前記削孔投入エネルギーの変化傾向が共通する変化点を通る境界面を定めるステップと、を実行する情報処理方法である。
【発明の効果】
【0008】
本願の実施形態によれば、地山の硬軟状況や地質の状態に応じて施工計画を調整するうえで有用な情報を提供することができる。
【図面の簡単な説明】
【0009】
本実施形態に係る情報処理システムの機能構成例を示す図である。
本実施形態に係る情報処理装置の機能構成例を示す概略ブロック図である。
本実施形態に係るモデル処理部の機能構成例を示す概略ブロック図である。
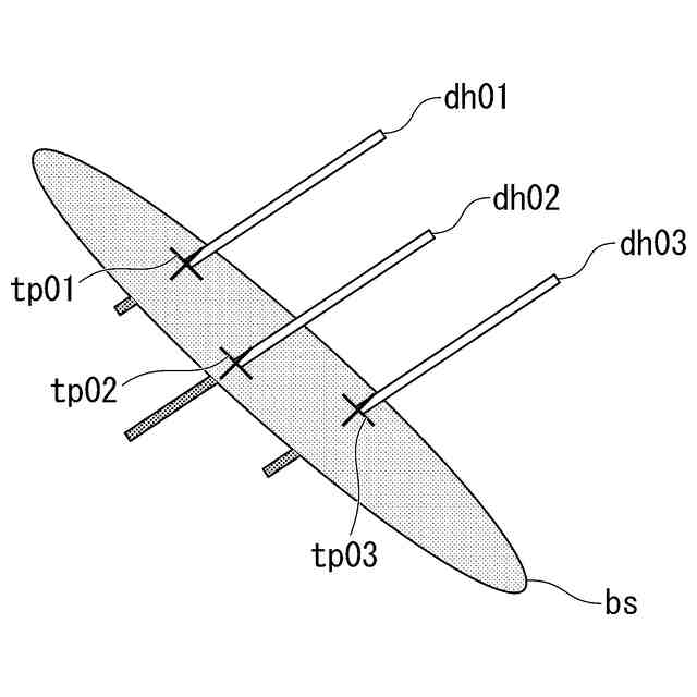
削孔投入エネルギーの変化点を例示する図である。
削孔投入エネルギーの変化点を通る境界面を例示する図である。
境界面に挟まれる層を例示する図である。
本実施形態に係る情報処理手順を例示するフローチャートである。
【発明を実施するための形態】
【0010】
以下、本実施形態について図面を用いて説明する。本実施形態に係る情報処理システムS1は、掘削により得られる削孔データを用いて地山の状況を解析する。地山は、例えば、トンネル施工の対象となる。情報処理システムS1は、地盤の強度が顕著に変化する境界面を特定し、特定した境界面や隣接する境界面で挟まれる層の状況を可視化する。地盤の強度は、掘削時に投入される削孔投入エネルギーに反映される。可視化された情報は、施工に際して発生する可能性があるリスクの判断、施工計画もしくはその調整、などに用いられる。施工計画において、例えば、施工現場に設営する支保パターン、補助工法の追加、などが検討されることがある。
(【0011】以降は省略されています)
この特許をJ-PlatPat(特許庁公式サイト)で参照する
関連特許
清水建設株式会社
建築構造
1か月前
清水建設株式会社
パネル枠
15日前
清水建設株式会社
防振構造
2日前
清水建設株式会社
仮設トイレ
15日前
清水建設株式会社
免震構造物
15日前
清水建設株式会社
枠体および壁体
1か月前
清水建設株式会社
構造物の施工方法
9日前
清水建設株式会社
防災支援システム
1日前
清水建設株式会社
ガラスパネル構造
2日前
清水建設株式会社
走行体の支持構造
15日前
清水建設株式会社
積層造形システム
9日前
清水建設株式会社
二酸化炭素固定化方法
8日前
清水建設株式会社
接合構造および接合方法
今日
清水建設株式会社
遮水層構築の降雨対策方法
1か月前
清水建設株式会社
防火積層体及びその製造方法
1か月前
清水建設株式会社
床版架設装置および床版架設方法
15日前
清水建設株式会社
制振装置およびこれを備えた建物
1か月前
清水建設株式会社
変位計測装置および変位計測方法
1か月前
清水建設株式会社
接合構造及び接合構造の改修方法
1か月前
清水建設株式会社
情報処理装置および情報処理方法
1日前
清水建設株式会社
免震構造および免震構造の施工方法
7日前
清水建設株式会社
地中連続壁の終局せん断耐力算定方法
28日前
清水建設株式会社
施工方法および二酸化炭素排出量の削減方法
今日
清水建設株式会社
自律移動体制御システムおよび自律移動体制御方法
29日前
清水建設株式会社
自律移動体制御システムおよび自律移動体制御方法
15日前
清水建設株式会社
桁と床版との接合構造、及び桁と床版との接合方法
1か月前
清水建設株式会社
打設監視システム、ガイド装置、および打設監視方法
28日前
清水建設株式会社
作業架台の支持構造及びコンクリート構造物の施工方法
1か月前
岡部株式会社
スタッド溶接用治具及びスタッド溶接方法
1か月前
清水建設株式会社
掘削状況判定装置、掘削状況判定方法、およびプログラム
7日前
戸田建設株式会社
距離計測器を備えた吹付けノズル装置
15日前
清水建設株式会社
情報提供システム、情報提供プログラム、及び、情報提供方法
今日
清水建設株式会社
床構造および床構造の施工方法
2日前
個人
掘削機
5か月前
日特建設株式会社
切断装置
1か月前
株式会社奥村組
地山探査方法
3か月前
続きを見る
他の特許を見る