TOP
|
特許
|
意匠
|
商標
特許ウォッチ
Twitter
他の特許を見る
公開番号
2025171489
公報種別
公開特許公報(A)
公開日
2025-11-20
出願番号
2024076896
出願日
2024-05-10
発明の名称
走行体の支持構造
出願人
清水建設株式会社
代理人
弁理士法人アルファ国際特許事務所
主分類
B66C
6/00 20060101AFI20251113BHJP(巻上装置;揚重装置;牽引装置)
要約
【課題】走行体の支持構造における固定部材の破断を抑制する。
【解決手段】走行体の支持構造は、第1支持部材と、第2支持部材と、固定手段と、を備える。第1支持部材は、第1貫通孔が形成され、走行体を支持する。第2支持部材は、第2貫通孔が形成され、第1支持部材を支持する。固定手段は、第1支持部材と第2支持部材とを固定する。固定手段は、第1固定部材と、第2固定部材と、を有する。第1固定部材は、第1貫通孔と第2貫通孔とに挿通される。第2固定部材は、第1固定部材と接続される。第2固定部材は、第1貫通孔に対して第2貫通孔とは反対側に位置し、第1貫通孔と第2貫通孔とが並ぶ方向において第1支持部材に対向する部分を有する。第1支持部材と第1固定部材とは、走行体が走行する方向において互いに離間しており、第1支持部材と第2固定部材とは、第1貫通孔と第2貫通孔とが並ぶ方向において互いに離間している。
【選択図】図3
特許請求の範囲
【請求項1】
走行体の支持構造であって、
第1貫通孔が形成され、前記走行体を支持する第1支持部材と、
第2貫通孔が形成され、前記第1支持部材を支持する第2支持部材と、
前記第1支持部材と前記第2支持部材とを固定する固定手段であって、
前記第1貫通孔と前記第2貫通孔とに挿通される第1固定部材と、
前記第1固定部材と接続される第2固定部材であって、前記第1貫通孔に対して前記第2貫通孔とは反対側に位置し、前記第1貫通孔と前記第2貫通孔とが並ぶ方向において前記第1支持部材に対向する部分を有する第2固定部材と、を有する固定手段と、
を備え、
前記第1支持部材と前記第1固定部材とは、前記走行体が走行する方向において互いに離間しており、
前記第1支持部材と前記第2固定部材とは、前記第1貫通孔と前記第2貫通孔とが並ぶ方向において互いに離間している、走行体の支持構造。
続きを表示(約 490 文字)
【請求項2】
請求項1に記載の走行体の支持構造であって、
前記第1固定部材は、ボルトであり、
前記第2固定部材は、前記ボルトに螺合するナットである、走行体の支持構造。
【請求項3】
請求項2に記載の走行体の支持構造であって、
前記第2固定部材は、ハードロックナットである、走行体の支持構造。
【請求項4】
請求項1に記載の走行体の支持構造であって、
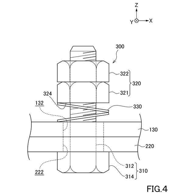
前記固定手段は、さらに、前記第1貫通孔と前記第2貫通孔とが並ぶ方向における前記第1支持部材と前記第2固定部材との間に配置されるスプリングワッシャーを有する、走行体の支持構造。
【請求項5】
請求項1に記載の走行体の支持構造であって、
前記第1貫通孔は、前記走行体が走行する方向に延びるルーズ穴である、走行体の支持構造。
【請求項6】
請求項1から請求項5までのいずれか一項に記載の走行体の支持構造であって、
前記走行体は、クレーンであり、
前記第1支持部材は、クレーンガーダーである、走行体の支持構造。
発明の詳細な説明
【技術分野】
【0001】
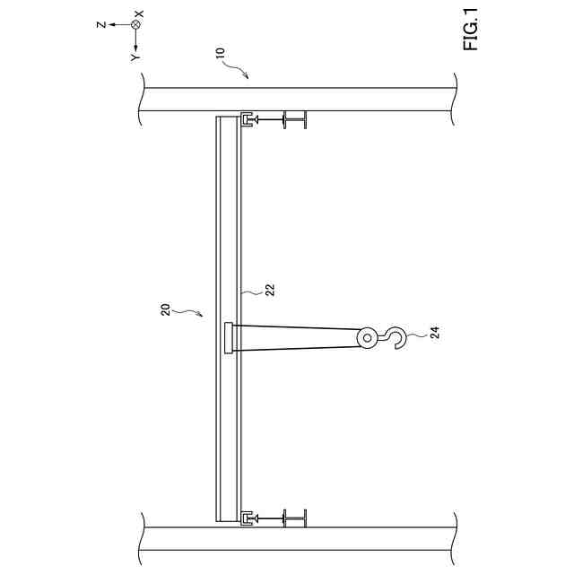
本明細書に開示される技術は、走行体の支持構造に関する。
続きを表示(約 1,600 文字)
【背景技術】
【0002】
クレーンは、重量物等の運搬に用いられる。クレーンの支持構造は、クレーンを支持するクレーンガーダーを備える。クレーンは、例えば、建屋内に設けられたクレーンガーダー上を走行することにより、重量物等を水平方向に運搬する。従来、クレーンを支持する付加ビーム(クレーンガーダー)と、付加ビームを支持する既設ガーダと、付加ビームと既設ガーダとを固定する固定手段と、を備えるクレーンブリッジ構造(クレーンの支持構造)が開示されている。固定手段は、付加ビームおよび既設ガーダに形成されたボルト穴に挿通されるボルト(第1固定部材)と、ボルトに接続されるナットと、を有する(例えば、特許文献1参照)。
【先行技術文献】
【特許文献】
【0003】
特開2010-132415号公報
【発明の概要】
【発明が解決しようとする課題】
【0004】
クレーンの支持構造において、クレーンガーダー上をクレーンが走行すると、クレーンガーダーが撓む。これにより、第1固定部材は、クレーンが走行する方向に生じるせん断応力と、クレーンが走行する方向に交差する方向に生じる引張応力とを受け、第1固定部材が破断するおそれがある。なお、このような課題は、クレーンを支持する支持構造に限らず、走行体を支持する支持構造全般に共通する課題である。
【0005】
本明細書では、上述した課題を解決することが可能な技術を開示する。
【課題を解決するための手段】
【0006】
本明細書に開示される技術は、例えば以下の形態として実現することが可能である。
【0007】
(1)本明細書に開示される走行体の支持構造は、第1支持部材と、第2支持部材と、固定手段と、を備える。前記第1支持部材は、第1貫通孔が形成され、前記走行体を支持する。前記第2支持部材は、第2貫通孔が形成され、前記第1支持部材を支持する。前記固定手段は、前記第1支持部材と前記第2支持部材とを固定する。前記固定手段は、第1固定部材と、第2固定部材と、を有する。前記第1固定部材は、前記第1貫通孔と前記第2貫通孔とに挿通される。前記第2固定部材は、前記第1固定部材と接続される。前記第2固定部材は、前記第1貫通孔に対して前記第2貫通孔とは反対側に位置し、前記第1貫通孔と前記第2貫通孔とが並ぶ方向において前記第1支持部材に対向する部分を有する。前記第1支持部材と前記第1固定部材とは、前記走行体が走行する方向において互いに離間しており、前記第1支持部材と前記第2固定部材とは、前記第1貫通孔と前記第2貫通孔とが並ぶ方向において互いに離間している。
【0008】
本走行体の支持構造によれば、第1支持部材と第1固定部材とが、走行体が走行する方向において互いに離間しているため、第1固定部材に生じるせん断応力が抑制される。また、第1支持部材と第2固定部材とが、第1貫通孔と第2貫通孔とが並ぶ方向において互いに離間しているため、第1固定部材に生じる引張応力が抑制される。そのため、本走行体の支持構造によれば、第1固定部材の破断を抑制できる。
【0009】
(2)上記走行体の支持構造において、前記第1固定部材は、ボルトであり、前記第2固定部材は、前記ボルトに螺合するナットであってもよい。本構成によれば、第1固定部材の破断を抑制できる。
【0010】
(3)上記走行体の支持構造において、前記第2固定部材は、ハードロックナットであってもよい。本構成によれば、第2固定部材がハードロックナットであるため、第1支持部材と第2支持部材とをより強固に固定できる。
(【0011】以降は省略されています)
この特許をJ-PlatPat(特許庁公式サイト)で参照する
関連特許
清水建設株式会社
パネル枠
21日前
清水建設株式会社
防振構造
8日前
清水建設株式会社
制振装置
今日
清水建設株式会社
建築構造
1か月前
清水建設株式会社
仮設トイレ
21日前
清水建設株式会社
免震構造物
21日前
清水建設株式会社
枠体および壁体
1か月前
清水建設株式会社
水制御システム
2か月前
清水建設株式会社
ガラスパネル構造
8日前
清水建設株式会社
防災支援システム
7日前
清水建設株式会社
走行体の支持構造
21日前
清水建設株式会社
構造物の施工方法
15日前
清水建設株式会社
積層造形システム
15日前
清水建設株式会社
遮水層の構築方法
2か月前
清水建設株式会社
免震装置の基礎構造
2か月前
清水建設株式会社
床吹き出し空調装置
2か月前
清水建設株式会社
二酸化炭素固定化方法
14日前
清水建設株式会社
ボルトによる接合構造
2か月前
清水建設株式会社
接合構造および接合方法
6日前
清水建設株式会社
遮水層構築の降雨対策方法
1か月前
清水建設株式会社
来場者グループ把握システム
1日前
清水建設株式会社
防火積層体及びその製造方法
1か月前
清水建設株式会社
CFT柱とRC柱との接合構造
1日前
清水建設株式会社
耐風装置及び耐風装置の制御方法
今日
清水建設株式会社
制振装置およびこれを備えた建物
1か月前
清水建設株式会社
情報処理装置および情報処理方法
7日前
清水建設株式会社
接合構造及び接合構造の改修方法
1か月前
清水建設株式会社
床版架設装置および床版架設方法
21日前
清水建設株式会社
変位計測装置および変位計測方法
1か月前
清水建設株式会社
免震構造および免震構造の施工方法
13日前
清水建設株式会社
中間階免震建物の免震層の構築方法
2か月前
清水建設株式会社
地中連続壁の終局せん断耐力算定方法
1か月前
清水建設株式会社
施工方法および二酸化炭素排出量の削減方法
6日前
清水建設株式会社
陰イオン吸着体の製造方法、陰イオン吸着方法
今日
清水建設株式会社
木質部材と鉄骨部材の接合構造および接合方法
今日
清水建設株式会社
桁と床版との接合構造、及び桁と床版との接合方法
1か月前
続きを見る
他の特許を見る