TOP
|
特許
|
意匠
|
商標
特許ウォッチ
Twitter
他の特許を見る
10個以上の画像は省略されています。
公開番号
2025170839
公報種別
公開特許公報(A)
公開日
2025-11-20
出願番号
2024075619
出願日
2024-05-08
発明の名称
仮設トイレ
出願人
清水建設株式会社
代理人
個人
,
個人
,
個人
,
個人
主分類
A47K
11/00 20060101AFI20251113BHJP(家具;家庭用品または家庭用設備;コーヒーひき;香辛料ひき;真空掃除機一般)
要約
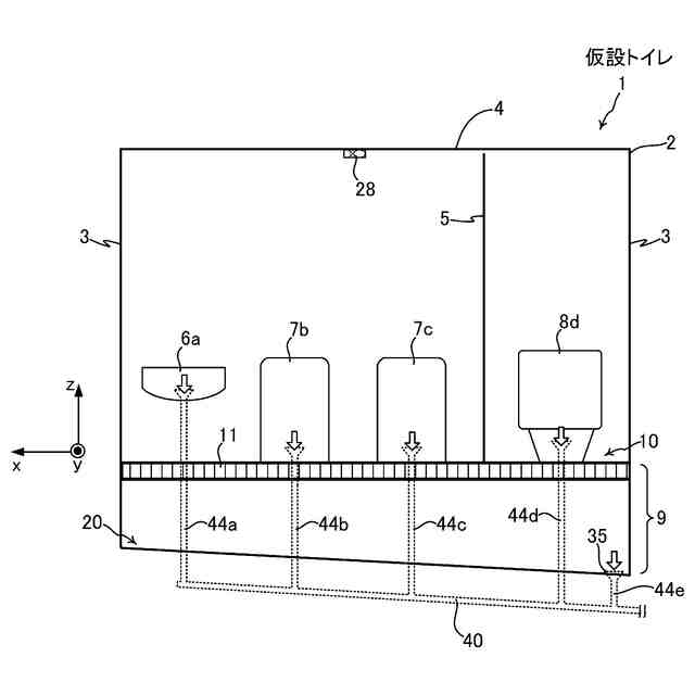
【課題】臭気の発生を抑制し、清潔感を保つことが可能な仮設トイレを提供する。
【解決手段】本発明は、水源に隣接する低未利用土地の対象区画における取水と排水とを制御する仮設トイレ1であって、本発明に係る仮設トイレ1は、上方床10と下方床20とからなる二重床構造9の建物2内に、少なくとも一つの便器が配される仮設トイレ1において、前記上方床10はグレーチング11を有し、前記下方床20には傾斜が設けられ、前記下方床20における高い側に流水機構31が配されている。
【選択図】 図3
特許請求の範囲
【請求項1】
上方床と下方床とからなる二重床構造の建物内に、少なくとも一つの便器が配される仮設トイレにおいて、
前記上方床はグレーチングを有し、
前記下方床には傾斜が設けられ、前記下方床における高い側に流水機構が配されることを特徴とする仮設トイレ。
続きを表示(約 950 文字)
【請求項2】
上方床と下方床とからなる二重床構造の建物内に、少なくとも一つの便器が配される仮設トイレにおいて、
前記上方床はグレーチングを有し、
前記下方床には第1の傾斜が設けられた第1下方床面を有し、
前記第1下方床面と前記グレーチングとの間の空間には、
少なくとも2つのローラーと、
前記少なくとも2つのローラーに、テンションを有する状態で回しかけられ、いずれかのローラーの駆動により、上面は前記第1下方床面の高い側から低い側へと、下面は前記第1下方床面の低い側から高い側へと移動する無終端ベルトと、
前記第1下方床面の低い側から高い側へと順に配される高圧洗浄部と、ブラシ部と、送風部と、が配されることを特徴とする仮設トイレ。
【請求項3】
前記下方床は、第1の傾斜が設けられた第1下方床面と、第2の傾斜が設けられた第2下方床面と、を有することを特徴とする請求項1に記載の仮設トイレ。
【請求項4】
前記第2下方床面は、前記第1下方床面より低い側に設けられ、前記第2下方床面にはドレインが設けられることを特徴とする請求項3に記載の仮設トイレ。
【請求項5】
前記流水機構は、前記便器の洗浄時に流水を行うことを特徴とする請求項1に記載の仮設トイレ。
【請求項6】
前記建物内における人の存在を検知する人感センサーを有し、前記流水機構は、前記人感センサーが人の存在を検知した時、流水を行うことを特徴とする請求項1に記載の仮設トイレ。
【請求項7】
計時手段を有し、前記流水機構は、計時手段に基づいて所定時間間隔毎に流水を行うことを特徴とする請求項1に記載の仮設トイレ。
【請求項8】
前記ドレインを開閉する開閉機構と、
前記下方床に給水を行う給水機構と、
前記グレーチングに超音波振動を印加する振動印加機構と、
前記開閉機構を閉じ、前記グレーチングに水が被るまで前記給水機構により給水を行い、前記振動印加機構により前記グレーチングに超音波振動を印加する制御を行う制御部と、を有することを特徴とする請求項4に記載の仮設トイレ。
発明の詳細な説明
【技術分野】
【0001】
本発明は、建設現場、コンサート会場、被災地などに臨時的に設けられる仮設トイレに関する。
続きを表示(約 1,400 文字)
【背景技術】
【0002】
仮設トイレは、工事現場やイベント会場等において広く一般的に使用されている。現在、実際に供給されている仮設トイレの例としては、非特許文献1や非特許文献2などに示されている。
【先行技術文献】
【非特許文献】
【0003】
https://www.sankyofrontier.com/unithouse/product/sanit_s/
https://www.hamanetsu.co.jp/products/unit/ix/
【発明の概要】
【発明が解決しようとする課題】
【0004】
仮設トイレの清掃には水を使用することが多いが、水の拭き取りを入念に行わないと、残留した水、小便、そして空気が反応し、アンモニアを発生してしまい、臭気の発生要因の一つとなってしまう。
【0005】
非特許文献1記載の仮設トイレでは、1枚ものの防水シートの貼り付けによる床材が用いられており、非特許文献2記載の仮設トイレでは、プラスチック製の床材が用いられている。いずれの床材も、必ずしも水の拭き取り作業がしやすいものではなく、拭き取りきれず残った水により、臭気が発生しやすくなる、という問題があった。
【0006】
また、仮設トイレは、基本的に土足で利用されるものであるので、土などの汚れが床面に付着する。上記のような床材が用いられている場合、清掃時、土の拭き取りがし難く、見た目の面でも悪くなり、清潔感を保つことが困難である、という問題もあった。
【課題を解決するための手段】
【0007】
この発明は、上記課題を解決するものであって、本発明に係る仮設トイレは、上方床と下方床とからなる二重床構造の建物内に、少なくとも一つの便器が配される仮設トイレにおいて、前記上方床はグレーチングを有し、前記下方床には傾斜が設けられ、前記下方床における高い側に流水機構が配されることを特徴とする。
【0008】
また、本発明に係る仮設トイレは、上方床と下方床とからなる二重床構造の建物内に、少なくとも一つの便器が配される仮設トイレにおいて、前記上方床はグレーチングを有し、前記下方床には第1の傾斜が設けられた第1下方床面を有し、前記第1下方床面と前記グレーチングとの間の空間には、少なくとも2つのローラーと、前記少なくとも2つのローラーに、テンションを有する状態で回しかけられ、いずれかのローラーの駆動により、上面は前記第1下方床面の高い側から低い側へと、下面は前記第1下方床面の低い側から高い側へと移動する無終端ベルトと、前記第1下方床面の低い側から高い側へと順に配される高圧洗浄部と、ブラシ部と、送風部と、が配されることを特徴とする。
【0009】
また、本発明に係る仮設トイレは、前記下方床は、第1の傾斜が設けられた第1下方床面と、第2の傾斜が設けられた第2下方床面と、を有することを特徴とする。
【0010】
また、本発明に係る仮設トイレは、前記第2下方床面は、前記第1下方床面より低い側に設けられ、前記第2下方床面にはドレインが設けられることを特徴とする。
(【0011】以降は省略されています)
この特許をJ-PlatPat(特許庁公式サイト)で参照する
関連特許
清水建設株式会社
パネル枠
21日前
清水建設株式会社
防振構造
8日前
清水建設株式会社
制振装置
今日
清水建設株式会社
建築構造
1か月前
清水建設株式会社
仮設トイレ
21日前
清水建設株式会社
免震構造物
21日前
清水建設株式会社
枠体および壁体
1か月前
清水建設株式会社
水制御システム
2か月前
清水建設株式会社
ガラスパネル構造
8日前
清水建設株式会社
防災支援システム
7日前
清水建設株式会社
走行体の支持構造
21日前
清水建設株式会社
構造物の施工方法
15日前
清水建設株式会社
積層造形システム
15日前
清水建設株式会社
遮水層の構築方法
2か月前
清水建設株式会社
免震装置の基礎構造
2か月前
清水建設株式会社
床吹き出し空調装置
2か月前
清水建設株式会社
二酸化炭素固定化方法
14日前
清水建設株式会社
ボルトによる接合構造
2か月前
清水建設株式会社
接合構造および接合方法
6日前
清水建設株式会社
遮水層構築の降雨対策方法
1か月前
清水建設株式会社
来場者グループ把握システム
1日前
清水建設株式会社
防火積層体及びその製造方法
1か月前
清水建設株式会社
CFT柱とRC柱との接合構造
1日前
清水建設株式会社
耐風装置及び耐風装置の制御方法
今日
清水建設株式会社
制振装置およびこれを備えた建物
1か月前
清水建設株式会社
情報処理装置および情報処理方法
7日前
清水建設株式会社
接合構造及び接合構造の改修方法
1か月前
清水建設株式会社
床版架設装置および床版架設方法
21日前
清水建設株式会社
変位計測装置および変位計測方法
1か月前
清水建設株式会社
免震構造および免震構造の施工方法
13日前
清水建設株式会社
中間階免震建物の免震層の構築方法
2か月前
清水建設株式会社
地中連続壁の終局せん断耐力算定方法
1か月前
清水建設株式会社
施工方法および二酸化炭素排出量の削減方法
6日前
清水建設株式会社
陰イオン吸着体の製造方法、陰イオン吸着方法
今日
清水建設株式会社
木質部材と鉄骨部材の接合構造および接合方法
今日
清水建設株式会社
桁と床版との接合構造、及び桁と床版との接合方法
1か月前
続きを見る
他の特許を見る