TOP
|
特許
|
意匠
|
商標
特許ウォッチ
Twitter
他の特許を見る
公開番号
2025152390
公報種別
公開特許公報(A)
公開日
2025-10-09
出願番号
2024054259
出願日
2024-03-28
発明の名称
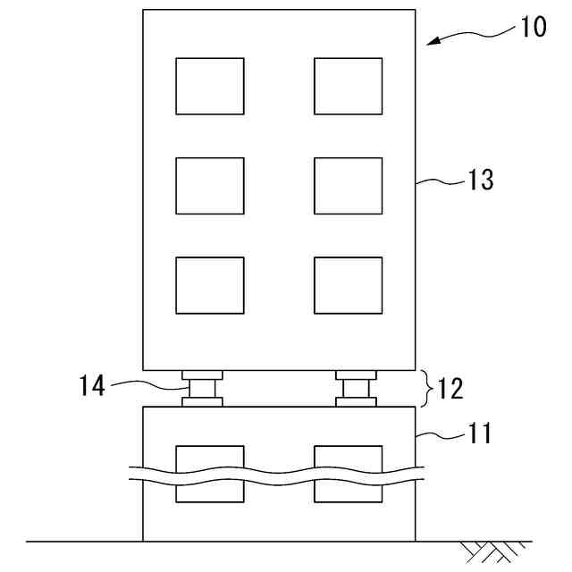
中間階免震建物の免震層の構築方法
出願人
清水建設株式会社
代理人
個人
,
個人
,
個人
主分類
E04H
9/02 20060101AFI20251002BHJP(建築物)
要約
【課題】免震層を設けた中間階免震建物を構築する際、免震基礎構造の施工精度の管理がし易く、かつ、施工日数を短縮できる中間階免震建物の免震層の構築方法を提供する。
【解決手段】下部躯体11の上部に免震装置14を設置するとともに免震装置の上部に上部躯体13を構築することで中間階免震建物10の免震層12を構築する方法であり、下部躯体を構築するための基礎鉄骨16の建方を行った後に、免震装置の設置面24が設けられたプレキャスト部材21を、設置面が所定の高さで水平となるように基礎鉄骨上に設置し、その後、コンクリート31を打設してプレキャスト部材の下方に下部躯体を構築するとともに、プレキャスト部材の設置面に免震装置を設置して上部躯体を構築する。
【選択図】図8
特許請求の範囲
【請求項1】
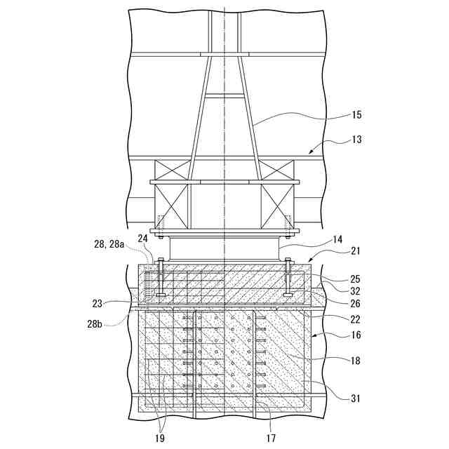
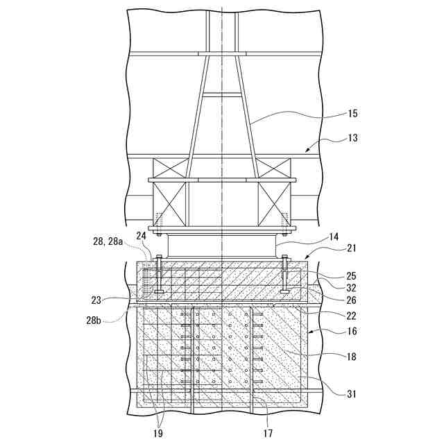
下部躯体の上部に免震装置を設置するとともに該免震装置の上部に上部躯体を構築することで中間階免震建物における免震層を構築する方法であって、
前記下部躯体を構築するための基礎鉄骨の建方を行う工程と、
前記免震装置の設置面が設けられたプレキャスト部材を、前記設置面が所定の高さで水平となるように前記基礎鉄骨上に設置する工程と、
前記プレキャスト部材の前記設置面に前記免震装置を設置する工程と、
前記免震装置を設置した後に、コンクリートを打設して前記下部躯体を構築するとともに、前記免震装置の上部に前記上部躯体を構築する工程と、を有する中間階免震建物の免震層の構築方法。
続きを表示(約 380 文字)
【請求項2】
前記プレキャスト部材に予め貫通孔を設け、該貫通孔に固定部材を配置し、該固定部材の一端を前記貫通孔に配置するとともに他端を前記下部躯体側の空間に突出するように配置し、前記貫通孔内にグラウトを充填して前記プレキャスト部材と前記固定部材とを一体化する、請求項1に記載の中間階免震建物の免震層の構築方法。
【請求項3】
前記プレキャスト部材を前記基礎鉄骨上に載置して該プレキャスト部材下部の調整用間隙により前記免震装置の設置面の高さ及び傾きを調整するとともに、前記調整用間隙内にグラウトを充填して前記プレキャスト部材と前記基礎鉄骨とを一体化する、請求項1に記載の中間階免震建物の免震層の構築方法。
【請求項4】
前記プレキャスト部材を前記基礎鉄骨における大梁上に設置する、請求項1に記載の中間階免震建物の免震層の構築方法。
発明の詳細な説明
【技術分野】
【0001】
本発明は、中間階免震建物の免震層の構築方法に関する。
続きを表示(約 1,800 文字)
【背景技術】
【0002】
従来、中間階免震建物の免震層を構築する際、鉄筋コンクリートまたは鉄骨を用いて免震基礎構造を構築して免震装置を設置し、免震装置上に上部躯体を構築していた。下記特許文献1では、プレキャストコンクリート盤を用いた構造が提案されていた。
特許文献1では、下部躯体(基礎躯体)を構築し、基礎スラブに設けた水平面上にプレキャストコンクリート盤を設置し、プレキャストコンクリート盤と基礎スラブとを一体に固定して免震基礎構造を構築していた。その後、プレキャストコンクリート盤に免震装置を設置して、免震装置上に上部躯体を構築していた。
【先行技術文献】
【特許文献】
【0003】
特許第5458375号公報
【発明の概要】
【発明が解決しようとする課題】
【0004】
しかしながら従来の構築方法では、下部躯体の建方後に免震層の床までコンクリートを打設及び硬化させて水平な設置面を構築した後でなければ、免震装置及びプレキャスト部材を設置できなかった。そのため、免震層の構築には他階に比べて施工日数が多く必要であるという問題点があった。また、プレキャスト部材を設置するための設置面の精度が下部躯体の鉄骨の建方精度と免震層に構築された床の構築精度等が複合して大きく影響するため、免震基礎構造の施工精度の管理が容易でないという問題点あった。
【0005】
本発明は、上記事情に鑑みてなされたものであり、免震層を設けた中間階免震建物を構築する際、免震基礎構造の施工精度の管理がし易く、かつ、施工日数を短縮できる中間階免震建物の免震層の構築方法を提供することを課題とする。
【課題を解決するための手段】
【0006】
上記課題を解決するため、本発明に係る中間階免震建物の免震層の構築方法は、下部躯体の上部に免震装置を設置するとともに該免震装置の上部に上部躯体を構築することで中間階免震建物における免震層を構築する方法であって、前記下部躯体を構築するための基礎鉄骨の建方を行う工程と、前記免震装置の設置面が設けられたプレキャスト部材を、前記設置面が所定の高さで水平となるように前記基礎鉄骨上に設置する工程と、前記プレキャスト部材の前記設置面に前記免震装置を設置する工程と、前記免震装置を設置した後に、コンクリートを打設して前記下部躯体を構築するとともに、前記免震装置の上部に前記上部躯体を構築する工程と、を有する。
【0007】
本発明によれば、免震装置の設置面が設けられたプレキャスト部材を、免震装置の設置面が所定の高さで水平となるようにして基礎鉄骨上に設置する。そのため免震層にコンクリートを打設してプレキャスト部材を設置するための水平面などを事前に形成する必要がない。これにより下部躯体の構築やコンクリートの硬化を待つことなくプレキャスト部材を設置できる。しかも免震装置の設置面が所定の高さで水平となるようにプレキャスト部材を基礎鉄骨に設置するため、設置面を容易に精度よく配置できる。従って、本発明の間階免震建物の免震層の構築方法によれば、免震基礎構造の施工精度を管理し易いとともに施工日数を短縮することが可能である。
【0008】
本発明では、前記プレキャスト部材に予め貫通孔を設け、該貫通孔に固定部材を配置し、該固定部材の一端を前記貫通孔に配置するとともに他端を前記下部躯体側の空間に突出するように配置し、前記貫通孔内にグラウトを充填して前記プレキャスト部材と前記固定部材とを一体化してもよい。
【0009】
このようにすれば、プレキャスト部材に固定部材を一体化させることができるとともに、その後にコンクリートを打設して下部躯体を構築することで容易にプレキャスト部材を下部躯体と一体化して定着させることができる。
【0010】
本発明では、前記プレキャスト部材を前記基礎鉄骨上に載置して該プレキャスト部材下部の調整用間隙により前記免震装置の設置面の高さ及び傾きを調整するとともに、前記調整用間隙内にグラウトを充填して前記プレキャスト部材と前記基礎鉄骨とを一体化してもよい。
(【0011】以降は省略されています)
この特許をJ-PlatPat(特許庁公式サイト)で参照する
関連特許
清水建設株式会社
外壁構造
1か月前
清水建設株式会社
建築構造
今日
清水建設株式会社
配筋装置
19日前
清水建設株式会社
化粧カバー
18日前
清水建設株式会社
情報処理装置
25日前
清水建設株式会社
鉄筋把持装置
19日前
清水建設株式会社
水制御システム
5日前
清水建設株式会社
遮水層の構築方法
4日前
清水建設株式会社
配筋高さ調整機構
19日前
清水建設株式会社
製炭炉、製炭方法
18日前
清水建設株式会社
床吹き出し空調装置
4日前
清水建設株式会社
免震装置の基礎構造
5日前
清水建設株式会社
配筋の千鳥調整機構
19日前
清水建設株式会社
ボルトによる接合構造
11日前
清水建設株式会社
コンクリートの施工方法
26日前
清水建設株式会社
建築部材および空調システム
15日前
清水建設株式会社
変位計測装置および変位計測方法
今日
清水建設株式会社
中間階免震建物の免震層の構築方法
5日前
清水建設株式会社
低透水層の施工方法および低透水層構造
26日前
清水建設株式会社
ケーソンの施工方法および施工補助装置
13日前
清水建設株式会社
木質耐火被覆鉄骨部材およびその施工方法
27日前
清水建設株式会社
ガス回収装置、ビル空調システム、ガス回収方法
1か月前
清水建設株式会社
鉄筋の放射線漏洩線量減少率評価方法及び解析装置
11日前
清水建設株式会社
金属造形物の造形装置および金属造形物の造形方法
6日前
清水建設株式会社
施工時CO2排出量の推定方法および推定システム
11日前
公益財団法人鉄道総合技術研究所
樹脂吹付け方法
25日前
清水建設株式会社
地形計測装置、地形計測システム、及び地形計測方法
15日前
清水建設株式会社
土壌資材、土壌資材の設計方法および土壌資材の製造方法
15日前
清水建設株式会社
鉄筋の突合わせ接合構造及び鉄筋接続用スリーブの圧縮装置
11日前
清水建設株式会社
陰イオン吸着体、陰イオン吸着体の製造方法、陰イオン吸着方法
11日前
清水建設株式会社
スリムケーソン工法に用いる揚重構造およびスリムケーソン工法
1か月前
清水建設株式会社
ジオポリマー、ジオポリマーの固化物、放射性廃棄物の処理方法、
19日前
清水建設株式会社
情報処理システム、情報処理装置、情報処理方法、およびプログラム
26日前
清水建設株式会社
設定データ供給装置、設定データ共有システム、設定データ供給方法
19日前
清水建設株式会社
情報処理装置、情報処理システム、情報処理方法、および、プログラム
5日前
清水建設株式会社
工事支援装置、鉄筋加工支援システム、工事支援方法、および、コンピュータプログラム
19日前
続きを見る
他の特許を見る