TOP
|
特許
|
意匠
|
商標
特許ウォッチ
Twitter
他の特許を見る
10個以上の画像は省略されています。
公開番号
2025144685
公報種別
公開特許公報(A)
公開日
2025-10-03
出願番号
2024044483
出願日
2024-03-21
発明の名称
鉄筋の突合わせ接合構造及び鉄筋接続用スリーブの圧縮装置
出願人
清水建設株式会社
,
三和テッキ株式会社
代理人
個人
主分類
E04C
5/18 20060101AFI20250926BHJP(建築物)
要約
【課題】比較的小さな圧縮力で、鋼管スリーブの大きな押し込み量を得ることができる圧縮装置と、それにより得られる鉄筋の接合構造を提供する。
【解決手段】鉄筋接続用鋼管スリーブの圧縮装置は、鋼管スリーブ1を縮径して鉄筋10に圧着させるダイス2,3と、このダイス2,3の駆動手段とを具備する。ダイス2,3は、鋼管スリーブ1を六方から局部的に圧縮縮径させて谷部12を形成する凸条部21,31と、当該谷部12の形成時に周方向両側に鋼管素材が増肉されてなる陵部11を形成する溝部22,32とを具備する。
【選択図】図4
特許請求の範囲
【請求項1】
鋼管スリーブに両端から突き合わせ挿入された鉄筋同士が、圧着された前記鋼管スリーブ内で接合されており、
圧着された前記鋼管スリーブは、周方向に所定の角度ごとに軸線方向に所定長を有する肉厚の陵部と肉薄の谷部とを備え、外周は当該陵部と谷部とが互いに曲面をもって連続し、かつ内周が前記鉄筋の外周に密着して、概略断面多角形状であることを特徴とする鉄筋の突合わせ接合構造。
続きを表示(約 450 文字)
【請求項2】
鋼管スリーブに両端から突き合わせ挿入された鉄筋同士が、圧着された前記鋼管スリーブ内で接合されており、
圧着された前記鋼管スリーブは、周方向に所定の角度ごとに軸線方向に所定長を有する肉厚の陵部と肉薄の谷部とを備え、2つの対角部に位置する4つの当該陵部とこれに連続する谷部の外周は互いに曲面をもって連続し、かつ内周が前記鉄筋の外周に密着して、概略断面多角形状であることを特徴とする鉄筋の突合わせ接合構造。
【請求項3】
請求項1又は2に記載の鉄筋の突合わせ接合構造を得るための前記鋼管スリーブの圧縮装置であって、
前記鋼管スリーブを縮径して前記鉄筋に圧着させるダイスと、当該ダイスの駆動手段とを具備し、
前記ダイスは、前記鋼管スリーブを六方から局部的に圧縮縮径させて前記谷部を形成する凸条部と、当該谷部の形成時に周方向両側に鋼管素材が増肉されてなる前記陵部を形成する溝部とを具備することを特徴とする鉄筋接続用鋼管スリーブの圧縮装置。
発明の詳細な説明
【技術分野】
【0001】
本発明は、鉄筋の突合わせ接合構造と、この接合構造を得るための鉄筋接続用スリーブの圧縮装置に関する。
続きを表示(約 2,200 文字)
【背景技術】
【0002】
従来、建設現場で使用する異形鉄筋の突合わせ連結の手段として、1対の異形鉄筋の先端部に鋼管スリーブを圧着して異形鉄筋同士を突合わせ連結する工法が採用されている(例えば特許文献1)。この工法は、円筒状の鋼管スリーブに、両端から異形鉄筋を挿入して突き合わせ、このスリーブを冷間で圧縮し、その性変形により両鉄筋を接合するものである。この接合構造は、異形鉄筋のふしとスリーブの内周部とのかみ合いによる機械的摩擦力を利用して鉄筋に軸線方向の応力を伝達させるものである。
【先行技術文献】
【特許文献】
【0003】
特開平11-256767号公報
【発明の概要】
【発明が解決しようとする課題】
【0004】
上記従来の異形鉄筋の突合わせ接合工法においては、施工性を考慮して鉄筋外径に対して鋼管内径が大きく設定されるので、両者間の空隙を埋め、しかも鋼管スリーブの内周を鉄筋のふし底にまで密着させるだけの鋼管の押し込み量が求められる。押し込み量が大きければ、圧縮率が高くなり、必要面圧が増す関係にあり、ダイスに相応に大きな面圧がかかることになる。油圧圧縮機を大型化せずに圧縮に必要な面圧を確保するためには、ダイスの幅(=スリーブの圧縮長さ)を相対的に小さくせざるを得ず、所要長さの圧縮を行うのに圧縮回数が増えることになり、施工性が低下する。また、圧縮率が高くなれば、圧着後の鋼管スリーブの断面積は減少し必要な引張強度を確保できないという課題がある。
従って、本発明は、鋼管スリーブの大きな押し込み量に対して、比較的小さな面圧で圧縮でき、圧縮後の鋼管スリーブに十分な引張強度を持たせることができる圧縮装置と、それにより得られる鉄筋の接合構造を提供することを課題とする。
【課題を解決するための手段】
【0005】
以下の説明において添付図面の符号を参照するが、本発明はこれに限定されるものではない。
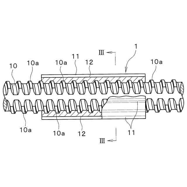
上記課題を解決するための、本発明の鉄筋10,10の接合構造においては、鋼管スリーブ1に両端から突き合わせ挿入された鉄筋10,10同士が、圧着された鋼管スリーブ1内で接合される。圧着された鋼管スリーブ1は、周方向に所定角度ごとに、軸線方向に所定長を有する肉厚の陵部11と肉薄の谷部12とを備え、外周は陵部11と谷部12とが互いに曲面をもって連続しており、かつ内周が鉄筋10の外周に密着して、概略断面多角形状を呈する構造である。
上記課題を解決するための、本発明の鉄筋接続用鋼管スリーブ1の圧縮装置は、鋼管スリーブ1を縮径して鉄筋10に圧着させるダイス2,3と、このダイス2,3の駆動手段とを具備する。ダイス2,3は、鋼管スリーブ1を六方から局部的に圧縮縮径させて谷部12を形成する凸条部21,31と、当該谷部12の形成時に周方向両側に鋼管素材が増肉されてなる陵部11を形成する溝部22,32とを具備する。
【発明の効果】
【0006】
本発明の鉄筋の接合構造によれば、鉄筋の十分な接続強度があり、かつ容易に、施工可能であり、施工の省エネルギーにも貢献できる。
本発明の鉄筋接続用鋼管スリーブの圧縮装置によれば、比較的小型であっても容易に上記良好な鉄筋の接合構造を得ることができる。
【図面の簡単な説明】
【0007】
本発明に係る鉄筋の接続構造を示す斜視図である。
図1の鉄筋の接続部の断面図である。
図2におけるIII-III断面図である。
本発明に係る鉄筋接続用鋼管スリーブの圧縮装置におけるダイスの斜視図である。
図4のダイスの側面図である。
図5におけるVI-VI断面図である。
図6におけるVII-VII断面図である。
他の実施形態の鉄筋の接続部の断面図である。
他の実施形態のダイスの断面図である。
【発明を実施するための形態】
【0008】
図面を参照して本発明の実施の形態を説明する。
図1~3に本発明に係る鉄筋の接合構造を示す。この鉄筋の接合構造においては、鋼管スリーブ1に、両端から突き合わせ挿入された鉄筋10同士が、圧着された鋼管スリーブ1内で接合されている。圧着された鋼管スリーブ1は、周方向に60°ごとに、交互に、軸線方向に所定長を有する肉厚の陵部11と肉薄の谷部12とを備える。陵部11と谷部12の外周は、互いに曲面をもって連続しており、図3に示すように、断面六角星形状を呈する概略形状である。鋼管スリーブ1の内周は、鉄筋10の外周に、ふし10aの底まで密着している。
【0009】
上記鉄筋の接合は、鋼管スリーブ1に両端から鉄筋10,10を突き合わせ挿入したものを、4~図6に示すダイス2,3間に配置し、図示しない駆動手段により、ダイス2,3を圧縮動作させて行われる。
【0010】
ダイス2,3は、鋼管スリーブ1を六方から局部的に大きく圧縮縮径させて谷部12を形成する凸条部21,31と、谷部12の形成時に鋼管素材を周方向両側に逃がすことにより肉厚の陵部11を形成する溝部22.32とを具備する。
(【0011】以降は省略されています)
この特許をJ-PlatPat(特許庁公式サイト)で参照する
関連特許
清水建設株式会社
建築構造
2日前
清水建設株式会社
床吹き出し空調装置
6日前
清水建設株式会社
変位計測装置および変位計測方法
2日前
個人
接合構造
10日前
個人
タッチミー
9日前
個人
屋台
27日前
個人
野良猫ハウス
1か月前
個人
フェンス
1か月前
個人
転落防止用手摺
1か月前
個人
地下型マンション
3か月前
個人
ベンリナアングル
9日前
ニチハ株式会社
建築板
1か月前
個人
居住車両用駐車場
1か月前
個人
筋交自動設定装置
17日前
積水樹脂株式会社
柵体
1か月前
株式会社タナクロ
テント
3か月前
個人
熱抵抗多層断熱建材
1か月前
個人
鋼管結合資材
3か月前
個人
補強部材
1か月前
個人
柵
2か月前
成友建設株式会社
建物
1か月前
個人
身体用シェルター
17日前
個人
身体用シェルター
17日前
個人
循環流水式屋根融雪装置
3か月前
鹿島建設株式会社
壁体
1か月前
インターマン株式会社
天井構造
2か月前
三協立山株式会社
構造体
17日前
個人
可搬型供養墓
15日前
株式会社熊谷組
床構成材
7日前
イワブチ株式会社
組立柱
1か月前
株式会社熊谷組
吊り治具
14日前
三協立山株式会社
構造体
17日前
三協立山株式会社
構造体
17日前
三協立山株式会社
構造体
17日前
三協立山株式会社
構造体
17日前
三協立山株式会社
構造体
17日前
続きを見る
他の特許を見る