TOP
|
特許
|
意匠
|
商標
特許ウォッチ
Twitter
他の特許を見る
公開番号
2025153848
公報種別
公開特許公報(A)
公開日
2025-10-10
出願番号
2024056511
出願日
2024-03-29
発明の名称
床吹き出し空調装置
出願人
清水建設株式会社
,
株式会社テクネット
代理人
個人
主分類
F24F
13/02 20060101AFI20251002BHJP(加熱;レンジ;換気)
要約
【課題】 床下空間を空調として使用する二重床の空調装置において、床高さを低くすることができる床吹き出し空調装置を提供する。
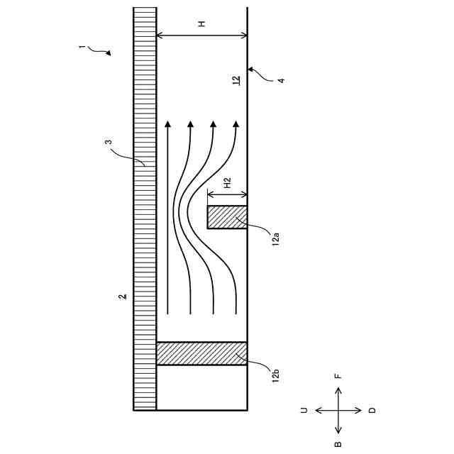
【解決手段】 床吹き出し空調装置1は、床下空間を空調として使用する二重床の床吹き出し空調装置において、室2の下部に設けられる床部材3と、床部材3の下方に形成される給気チャンバー5と、給気チャンバー5へ空気を吹き出す吹出口10と、を備え、給気チャンバー5は、吹出口10の吹き出し側に形成される第1バッファ11と、第1バッファ11から離間した位置に形成される第2バッファ12と、第1バッファ11と第2バッファ12を連結するダクト13と、を含み、吹出口10から吹き出された空気は、第1バッファ11及び第2バッファ12から給気チャンバー5へ吹き出されることを特徴とする。
【選択図】図1
特許請求の範囲
【請求項1】
床下空間を空調として使用する二重床の床吹き出し空調装置において、
室の下部に設けられる床部材と、
前記床部材の下方に形成される給気チャンバーと、
前記給気チャンバーへ空気を吹き出す吹出口と、
を備え、
前記給気チャンバーは、
前記吹出口の吹き出し側に形成される第1バッファと、
前記第1バッファから離間した位置に形成される第2バッファと、
前記第1バッファと前記第2バッファを連結するダクトと、
を含み、
前記吹出口から吹き出された空気は、前記第1バッファ及び前記第2バッファから前記給気チャンバーへ吹き出される
ことを特徴とする床吹き出し空調装置。
続きを表示(約 580 文字)
【請求項2】
前記第1バッファ及び前記第2バッファから前記給気チャンバーへ吹き出される空気の少なくとも一部は、前記吹出口から吹き出される空気と同じ方向へ吹き出される
ことを特徴とする請求項1に記載の床吹き出し空調装置。
【請求項3】
前記第1バッファは、第1境界部によって区画され、
前記第1境界部は、前記床部材に垂直な断面の有効開口面積を小さくする第1抵抗帯を少なくとも一部に含み、
前記第2バッファは、第2境界部によって区画され、
前記第2境界部は、前記床部材に垂直な断面の有効開口面積を小さくする第2抵抗帯を少なくとも一部に含み、
前記ダクトは、前記給気チャンバーの前記床部材に垂直な断面を遮蔽する2つのダクト壁によって形成される
ことを特徴とする請求項1に記載の床吹き出し空調装置。
【請求項4】
前記第1抵抗帯が形成する前記床部材に垂直な断面の有効開口面積は、前記第2抵抗帯が形成する前記床部材に垂直な断面の有効開口面積よりも小さい
ことを特徴とする請求項3に記載の床吹き出し空調装置。
【請求項5】
前記第2バッファは、前記給気チャンバーを形成する壁から離間して形成される
ことを特徴とする請求項1に記載の床吹き出し空調装置。
発明の詳細な説明
【技術分野】
【0001】
本発明は、二重床の床下から空調空気を室内に供給する床吹き出し空調装置に関する。
続きを表示(約 1,600 文字)
【背景技術】
【0002】
従来、二重床の床下空間をダクト代わりに利用し、床部材の下方の吹出口から給気チャンバーに吹き出された空調空気を、全面に多数の給気孔を有する床部材から室内に供給する空調装置が知られている。多数の給気孔を有する床部材は、軽量なので、床下圧力が高くなると、剥離してしまうおそれがあった。
【0003】
そこで、吹出口を囲むように棒状の抵抗帯を配置し、吹出口近傍の有効開口面積を狭めることで、抵抗帯から下流の給気チャンバー内の気流分布を均一化して床下差圧の均一化を図る発明が開示されている(特許文献1参照)。
【先行技術文献】
【特許文献】
【0004】
特許5881976号公報
【発明の概要】
【発明が解決しようとする課題】
【0005】
二重床の床下空間をダクト代わりに利用するシステムにおける標準的な床高さは約150mmから300mmである。床下空間を空調として使用しない場合の二重床の床高さは約100mmである。したがって、床下空間を空調として使用する場合は、床下空間を空調として使用しない場合よりも床高さが増加した分、1階分の高さが50mm高くなる。つまり、床下空間を空調として使用する場合と使用しない場合で同じ階数にするには空調として使用する場合の建物高さを高くしなければならない。また、床下空間を空調として使用する場合と使用しない場合で建物を同じ高さにするには空調として使用する場合の階数を少なくしなければならない。なお、床下空間を空調として使用する場合に天井高を低くしてもよいが、圧迫感が強くなり、住環境を悪化させてしまう。
【0006】
また、床下空間を空調として使用するシステムにおいて、床下空間を空調として使用しない場合と同様に、二重床の床高さを約100mmとすることも可能であるが、床下の風速及び圧力の増大を減少させるため、吹出口から対向する壁までの給気チャンバー5の奥行きを10mまでに制限されてしまう。一般的な建物の室の奥行きは、約13mから16mなので、床高さは150mm以上とするのが現状である。
【0007】
本発明は、床下空間を空調として使用する二重床の空調装置において、床高さを低くすることができる床吹き出し空調装置を提供することを目的とする。
【課題を解決するための手段】
【0008】
本発明にかかる床吹き出し空調装置は、
床下空間を空調として使用する二重床の床吹き出し空調装置において、
室の下部に設けられる床部材と、
前記床部材の下方に形成される給気チャンバーと、
前記給気チャンバーへ空気を吹き出す吹出口と、
を備え、
前記給気チャンバーは、
前記吹出口の吹き出し側に形成される第1バッファと、
前記第1バッファから離間した位置に形成される第2バッファと、
前記第1バッファと前記第2バッファを連結するダクトと、
を含み、
前記吹出口から吹き出された空気は、前記第1バッファ及び前記第2バッファから前記給気チャンバーへ吹き出される
ことを特徴とする。
【発明の効果】
【0009】
本発明にかかる床吹き出し空調装置によれば、床下空間を空調として使用する二重床の空調装置において、床高さを低くすることができる。
【図面の簡単な説明】
【0010】
第1実施形態の床吹き出し空調装置1を示す。
図1のII-II断面を示す。
図1のIII-III断面を示す。
第2実施形態の床吹き出し空調装置1を示す。
【発明を実施するための形態】
(【0011】以降は省略されています)
この特許をJ-PlatPat(特許庁公式サイト)で参照する
関連特許
清水建設株式会社
配筋装置
1か月前
清水建設株式会社
建築構造
19日前
清水建設株式会社
化粧カバー
1か月前
清水建設株式会社
鉄筋把持装置
1か月前
清水建設株式会社
情報処理装置
1か月前
清水建設株式会社
枠体および壁体
3日前
清水建設株式会社
水制御システム
24日前
清水建設株式会社
製炭炉、製炭方法
1か月前
清水建設株式会社
配筋高さ調整機構
1か月前
清水建設株式会社
遮水層の構築方法
23日前
清水建設株式会社
配筋の千鳥調整機構
1か月前
清水建設株式会社
免震装置の基礎構造
24日前
清水建設株式会社
床吹き出し空調装置
23日前
清水建設株式会社
ボルトによる接合構造
1か月前
清水建設株式会社
コンクリートの施工方法
1か月前
清水建設株式会社
遮水層構築の降雨対策方法
3日前
清水建設株式会社
建築部材および空調システム
1か月前
清水建設株式会社
防火積層体及びその製造方法
9日前
清水建設株式会社
変位計測装置および変位計測方法
19日前
清水建設株式会社
接合構造及び接合構造の改修方法
10日前
清水建設株式会社
制振装置およびこれを備えた建物
3日前
清水建設株式会社
中間階免震建物の免震層の構築方法
24日前
清水建設株式会社
低透水層の施工方法および低透水層構造
1か月前
清水建設株式会社
ケーソンの施工方法および施工補助装置
1か月前
清水建設株式会社
木質耐火被覆鉄骨部材およびその施工方法
1か月前
清水建設株式会社
施工時CO2排出量の推定方法および推定システム
1か月前
清水建設株式会社
鉄筋の放射線漏洩線量減少率評価方法及び解析装置
1か月前
清水建設株式会社
金属造形物の造形装置および金属造形物の造形方法
25日前
公益財団法人鉄道総合技術研究所
樹脂吹付け方法
1か月前
清水建設株式会社
桁と床版との接合構造、及び桁と床版との接合方法
3日前
清水建設株式会社
地形計測装置、地形計測システム、及び地形計測方法
1か月前
清水建設株式会社
作業架台の支持構造及びコンクリート構造物の施工方法
3日前
清水建設株式会社
土壌資材、土壌資材の設計方法および土壌資材の製造方法
1か月前
岡部株式会社
スタッド溶接用治具及びスタッド溶接方法
3日前
清水建設株式会社
鉄筋の突合わせ接合構造及び鉄筋接続用スリーブの圧縮装置
1か月前
清水建設株式会社
陰イオン吸着体、陰イオン吸着体の製造方法、陰イオン吸着方法
1か月前
続きを見る
他の特許を見る