TOP
|
特許
|
意匠
|
商標
特許ウォッチ
Twitter
他の特許を見る
公開番号
2025172629
公報種別
公開特許公報(A)
公開日
2025-11-26
出願番号
2024078243
出願日
2024-05-13
発明の名称
積層造形システム
出願人
清水建設株式会社
代理人
個人
,
個人
,
個人
主分類
B23K
9/04 20060101AFI20251118BHJP(工作機械;他に分類されない金属加工)
要約
【課題】サポート材なしに積層材の垂れを防止し得る積層経路の生成が可能な積層造形システムを提供する。
【解決手段】積層造形を行う溶接ロボットと、溶接ロボットの積層経路を生成する積層経路生成装置と、積層経路に基づいて溶接ロボットを制御する制御装置とを備える積層造形システムであって、積層経路生成装置は、分岐積層面の計算にポテンシャル場を用いることによって積層経路を生成する。
【選択図】図1
特許請求の範囲
【請求項1】
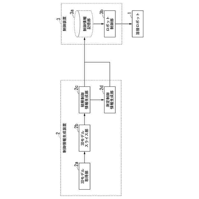
積層造形を行う溶接ロボットと、前記溶接ロボットの積層経路を生成する積層経路生成装置と、前記積層経路に基づいて前記溶接ロボットを制御する制御装置とを備える積層造形システムであって、
前記積層経路生成装置は、分岐積層面の計算にポテンシャル場を用いることによって前記積層経路を生成する積層造形システム。
続きを表示(約 390 文字)
【請求項2】
前記積層経路生成装置は、
積層体の底面と上面に仮想的なポテンシャル値を設定し、有限要素法で前記ポテンシャル値に関するポアソン方程式を解くことで前記積層体上でのポテンシャル場を算出し、当該ポテンシャル場から前記積層体の表面情報を抽出することにより同一な前記ポテンシャル値の点群を取得し、当該点群を辿る順番を決定するために巡回セールスマン問題として解くことで、前記積層経路の長さが最小となる、交差の無い一筆書きの線を取得し、各々の前記ポテンシャル値でのパスを所定の点数に分割し、各点において一つ下の面との方向ベクトルを取得し、各点と方向ベクトルを繋げることによって前記積層経路を取得する請求項1に記載の積層造形システム。
【請求項3】
前記ポテンシャル値は、温度に関する温度ポテンシャル値である請求項2に記載の積層造形システム。
発明の詳細な説明
【技術分野】
【0001】
本発明は、積層造形システムに関する。
続きを表示(約 1,700 文字)
【背景技術】
【0002】
下記特許文献1には、ビード形成の狙い位置を正確に求めることにより高精度な積層造形物を製造できる積層造形方法が開示されている。この積層造形方法は、所謂WAAM(Wire and Arc Additive Manufacturing)方式に分類される造形技術であり、アーク溶接ロボットを用いて金属材料(積層材)を積層することにより、所望形状の三次元造形物(積層造形物)を得るものである。
【0003】
すなわち、この積層造形方法は、積層経路計画に基づいて積層造形物を造形する際に溶接トーチと一体にロボット先端軸に設けられた非接触式形状センサを用いて既設の溶着ビードの形状プロファイルを測定し、当該形状プロファイルと溶接トーチの狙い位置からビード形状の第一幾何情報を抽出し、また積層経路計画から第一幾何情報に対応する第二幾何情報を抽出して第一幾何情報と第二幾何情報とのずれ量を算出し、当該ずれ量に応じて積層経路計画で定めた溶着ビードのビード高さとビード幅との少なくとも一方を変更して積層経路計画を更新するとともに、積層経路計画の更新結果に応じて溶接条件を変更することにより、高精度な積層造形物を製造する。
【先行技術文献】
【特許文献】
【0004】
特許第6797324号公報
【発明の概要】
【発明が解決しようとする課題】
【0005】
ところで、上述したWAAMでは、例えば複雑な積層を行う場合にサポート材を用いることにより溶融した積層材の垂れを防止しているが、例えば積層材がアルミニウムの場合にはサポート材を用いることができないため、積層材の非平行な積層を行うことが行われている。この非平行な積層を実現するための手法として、積層体の測地線を取得する方法が知られている。
【0006】
しかしながら、上記測地線を取得する方法は、積層体の端が面や曲線で描かれている場合又は積層体の上面や底面が複数個所存在する分岐形状に対して適応することは困難である。すなわち、上述した背景技術には、サポート材なしに積層材の垂れを防止し得る積層経路の生成が困難であるという問題がある。
【0007】
本発明は、上述した事情に鑑みてなされたものであり、サポート材なしに積層材の垂れを防止し得る積層経路の生成が可能な積層造形システムの提供を目的とするものである。
【課題を解決するための手段】
【0008】
上記目的を達成するために、本発明では、積層造形システムに係る第1の解決手段として、積層造形を行う溶接ロボットと、前記溶接ロボットの積層経路を生成する積層経路生成装置と、前記積層経路に基づいて前記溶接ロボットを制御する制御装置とを備える積層造形システムであって、前記積層経路生成装置は、分岐積層面の計算にポテンシャル場を用いることによって前記積層経路を生成する、という手段を採用する。
【0009】
本発明では、積層造形システムに係る第2の解決手段として、上記第1の解決手段において、前記積層経路生成装置は、積層体の底面と上面に仮想的なポテンシャル値を設定し、有限要素法で前記ポテンシャル値に関するポアソン方程式を解くことで前記積層体上でのポテンシャル場を算出し、当該ポテンシャル場から前記積層体の表面情報を抽出することにより同一な前記ポテンシャル値の点群を取得し、当該点群を辿る順番を決定するために巡回セールスマン問題を解くことで、前記積層経路の長さが最小となる、交差の無い一筆書きの線を取得し、各々の前記ポテンシャル値でのパスを所定の点数に分割し、各点において一つ下の面との方向ベクトルを取得し、各点と方向ベクトルを繋げることによって前記積層経路を取得する、という手段を採用する。
【0010】
本発明では、積層造形システムに係る第3の解決手段として、上記第2の解決手段において、前記ポテンシャル値は、温度に関する温度ポテンシャル値である、という手段を採用する。
【発明の効果】
(【0011】以降は省略されています)
この特許をJ-PlatPat(特許庁公式サイト)で参照する
関連特許
清水建設株式会社
パネル枠
9日前
清水建設株式会社
免震構造物
9日前
清水建設株式会社
仮設トイレ
9日前
清水建設株式会社
枠体および壁体
1か月前
清水建設株式会社
構造物の施工方法
3日前
清水建設株式会社
走行体の支持構造
9日前
清水建設株式会社
積層造形システム
3日前
清水建設株式会社
二酸化炭素固定化方法
2日前
清水建設株式会社
遮水層構築の降雨対策方法
1か月前
清水建設株式会社
防火積層体及びその製造方法
1か月前
清水建設株式会社
床版架設装置および床版架設方法
9日前
清水建設株式会社
接合構造及び接合構造の改修方法
1か月前
清水建設株式会社
制振装置およびこれを備えた建物
1か月前
清水建設株式会社
変位計測装置および変位計測方法
1か月前
清水建設株式会社
免震構造および免震構造の施工方法
1日前
清水建設株式会社
地中連続壁の終局せん断耐力算定方法
22日前
清水建設株式会社
自律移動体制御システムおよび自律移動体制御方法
9日前
清水建設株式会社
自律移動体制御システムおよび自律移動体制御方法
23日前
清水建設株式会社
桁と床版との接合構造、及び桁と床版との接合方法
1か月前
清水建設株式会社
打設監視システム、ガイド装置、および打設監視方法
22日前
清水建設株式会社
作業架台の支持構造及びコンクリート構造物の施工方法
1か月前
岡部株式会社
スタッド溶接用治具及びスタッド溶接方法
1か月前
戸田建設株式会社
距離計測器を備えた吹付けノズル装置
9日前
清水建設株式会社
掘削状況判定装置、掘削状況判定方法、およびプログラム
1日前
個人
フライス盤
2か月前
日東精工株式会社
ねじ締め機
3か月前
日東精工株式会社
ねじ締め機
2か月前
日東精工株式会社
ねじ締め機
1か月前
ダイニチ工業株式会社
配膳治具
25日前
日東精工株式会社
ねじ締め装置
2か月前
株式会社ダイヘン
溶接電源装置
4か月前
株式会社ダイヘン
溶接電源装置
3か月前
株式会社ダイヘン
溶接電源装置
4か月前
キヤノン電子株式会社
加工装置
22日前
株式会社FUJI
工作機械
1か月前
株式会社FUJI
工作機械
1か月前
続きを見る
他の特許を見る