TOP
|
特許
|
意匠
|
商標
特許ウォッチ
Twitter
他の特許を見る
公開番号
2025139175
公報種別
公開特許公報(A)
公開日
2025-09-26
出願番号
2024037976
出願日
2024-03-12
発明の名称
化粧カバー
出願人
清水建設株式会社
代理人
個人
,
個人
,
個人
主分類
E06B
1/34 20060101AFI20250918BHJP(戸,窓,シャッタまたはローラブラインド一般;はしご)
要約
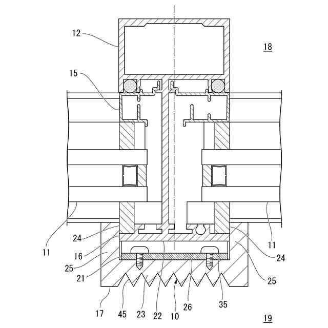
【課題】方立における熱の外側への流出量を低減でき、しかも外観品質を向上させることができる化粧カバーを提供する。
【解決手段】隣り合う複数のパネル部11を連結する方立12を覆う化粧カバー10であり、複数のパネル部11より外側に突出した突出部16を覆う木製のカバー本体17と、カバー本体17を方立12に取付けるための取付部21と、を備え、カバー本体17は、方立の見付部22を覆う見付部被覆部23と、見付部22の両側の見込部24を覆う見込部被覆部25と、を有している。
【選択図】図3
特許請求の範囲
【請求項1】
隣り合う複数のパネル部を連結する方立を覆う化粧カバーであって、
前記複数のパネル部より外側に突出した突出部を覆う木製のカバー本体と、
前記カバー本体を前記方立に取付けるための取付部と、を備え、
前記カバー本体は、前記方立の見付部を覆う見付部被覆部と、該見付部の両側の見込部を覆う見込部被覆部と、を有する、化粧カバー。
続きを表示(約 590 文字)
【請求項2】
前記カバー本体には、前記見付部被覆部及び前記見込部被覆部が一体に設けられて前記突出部を収容可能な凹部が設けられている、請求項1に記載の化粧カバー。
【請求項3】
前記取付部は、前記凹部の内側面に下向きに設けられた係止部と、前記突出部に上向きに設けられた被係止部と、を備え、
前記凹部を前記突出部に被せて前記カバー本体を下方へ移動させることで、前記係止部が前記被係止部に係止可能である、請求項2に記載の化粧カバー。
【請求項4】
前記係止部と前記被係止部とが、共通の屈曲板部材からなり、前記凹部の内側面と前記見付部との何れにも固定可能な固定片と、該固定片から前記内側面又は前記見付部から離間するように突出して前記係止部と前記被係止部との何れにも使用可能な突片と、を有する、請求項3に記載の化粧カバー。
【請求項5】
前記カバー本体は、上下に複数並べて配置されることで前記突出部を連続して被覆可能に構成され、前記方立の前記突出部からの突出量が上端側から下端側に向けて増加する外表面を有する、請求項1に記載の化粧カバー。
【請求項6】
前記パネル部は、室内と室外とを仕切る窓パネルを有し、前記カバー本体は、前記室外側に突出した前記突出部を覆うものである、請求項1~5のいずれか一項に記載の化粧カバー。
発明の詳細な説明
【技術分野】
【0001】
本発明は、化粧カバーに関する。
続きを表示(約 1,500 文字)
【背景技術】
【0002】
従来、隣り合う複数のパネル部を方立により連結した連窓サッシやカーテンウォール等の壁面構造体が多数知られている。例えば下記特許文献1では、方立と、方立に取付くパネルユニットとを備え、防火性能を有する壁面構造体が提案されている。
【先行技術文献】
【特許文献】
【0003】
特開2020-139308号公報
【発明の概要】
【発明が解決しようとする課題】
【0004】
しかしながら、壁面構造体の方立には、通常、アルミニウムの押し出し形材が使用されているため、方立における熱流出量が大きい。そのため外気温が低いときに、方立の室内側の表面温度が低くなるため、結露が発生しやすいという問題点があった。ウイルス対策等のために室内を高湿度化した場合などには特に顕著であった。また、方立がアルミニウムの押し出し形材により形成されているため、方立表面の意匠に制約が生じやすく、外観品質を向上しにくいという問題点もあった。
【0005】
本発明は、上記事情に鑑みてなされたものであり、方立における熱の外側への流出量を低減でき、しかも外観品質を向上させることができる化粧カバーを提供することを課題とする。
【課題を解決するための手段】
【0006】
上記課題を解決するために、本発明に係る化粧カバーは、隣り合う複数のパネル部を連結する方立を覆う化粧カバーであって、前記複数のパネル部より外側に突出した突出部を覆う木製のカバー本体と、前記カバー本体を前記方立に取付けるための取付部と、を備え、前記カバー本体は、前記方立の見付部を覆う見付部被覆部と、該見付部の両側の見込部を覆う見込部被覆部と、を有していることを特徴としている。
【0007】
本発明によれば、突出部を覆うカバー本体が、木製であり、方立の見付部を覆う見付部被覆部と、見付部の両側の見込部を覆う見込部被覆部と、を有する。そのため隣り合うパネル部より外側に突出した方立の突出部の広い範囲を、断熱性に優れた木材により覆うことができる。これにより、方立が金属等のように熱伝導のよい材料により形成されていても、方立における熱の流出量を低減することができる。
また、隣り合うパネル部より外側に突出した突出部がカバー本体により覆われるため、方立の突出部の代わりにカバー本体の外表面が外部から視認される。そのためカバー本体の意匠により方立の外観品質を向上できる。
したがって、本発明に係る化粧カバーは、方立における熱の外側への流出量を低減でき、しかも外観品質を向上させることができる。
【0008】
本発明では、前記カバー本体には、前記見付部被覆部及び前記見込部被覆部が設けられて前記突出部を収容可能な凹部が設けられていてもよい。
【0009】
このようにすれば、凹部に方立の突出部を収容するだけで、方立の見付部と見込部とをカバー本体により覆うことができる。また、化粧カバーの凹部を方立の突出部に嵌め込むようにすることで取り付けられるため、化粧カバーを方立に装着しやすい。
【0010】
本発明では、前記取付部は、前記凹部の内側面に下向きに設けられた係止部と、前記突出部に上向きに設けられた被係止部と、を備え、前記凹部を前記突出部に被せて前記カバー本体を下方へ移動させることで、前記係止部が前記被係止部に係止可能であってもよい。
(【0011】以降は省略されています)
この特許をJ-PlatPat(特許庁公式サイト)で参照する
関連特許
清水建設株式会社
外壁構造
1か月前
清水建設株式会社
建築構造
15日前
清水建設株式会社
配筋装置
1か月前
清水建設株式会社
化粧カバー
1か月前
清水建設株式会社
情報処理装置
1か月前
清水建設株式会社
鉄筋把持装置
1か月前
清水建設株式会社
水制御システム
20日前
清水建設株式会社
製炭炉、製炭方法
1か月前
清水建設株式会社
遮水層の構築方法
19日前
清水建設株式会社
配筋高さ調整機構
1か月前
清水建設株式会社
配筋の千鳥調整機構
1か月前
清水建設株式会社
加熱井戸の設置方法
1か月前
清水建設株式会社
床吹き出し空調装置
19日前
清水建設株式会社
免震装置の基礎構造
20日前
清水建設株式会社
ボルトによる接合構造
26日前
清水建設株式会社
コンクリートの施工方法
1か月前
清水建設株式会社
防火積層体及びその製造方法
5日前
清水建設株式会社
建築部材および空調システム
1か月前
清水建設株式会社
変位計測装置および変位計測方法
15日前
清水建設株式会社
接合構造及び接合構造の改修方法
6日前
清水建設株式会社
中間階免震建物の免震層の構築方法
20日前
清水建設株式会社
ケーソンの施工方法および施工補助装置
28日前
清水建設株式会社
低透水層の施工方法および低透水層構造
1か月前
清水建設株式会社
角部用タブおよび四面ボックスの溶接方法
1か月前
清水建設株式会社
木質耐火被覆鉄骨部材およびその施工方法
1か月前
清水建設株式会社
ガス回収装置、ビル空調システム、ガス回収方法
1か月前
公益財団法人鉄道総合技術研究所
樹脂吹付け方法
1か月前
清水建設株式会社
金属造形物の造形装置および金属造形物の造形方法
21日前
清水建設株式会社
施工時CO2排出量の推定方法および推定システム
26日前
清水建設株式会社
鉄筋の放射線漏洩線量減少率評価方法及び解析装置
26日前
清水建設株式会社
地形計測装置、地形計測システム、及び地形計測方法
1か月前
清水建設株式会社
トンネル防水シートの施工管理装置及び施工管理方法
1か月前
清水建設株式会社
土壌資材、土壌資材の設計方法および土壌資材の製造方法
1か月前
清水建設株式会社
鉄筋の突合わせ接合構造及び鉄筋接続用スリーブの圧縮装置
26日前
清水建設株式会社
スリムケーソン工法に用いる揚重構造およびスリムケーソン工法
1か月前
清水建設株式会社
陰イオン吸着体、陰イオン吸着体の製造方法、陰イオン吸着方法
26日前
続きを見る
他の特許を見る