TOP
|
特許
|
意匠
|
商標
特許ウォッチ
Twitter
他の特許を見る
公開番号
2025134561
公報種別
公開特許公報(A)
公開日
2025-09-17
出願番号
2024032542
出願日
2024-03-04
発明の名称
木質耐火被覆鉄骨部材およびその施工方法
出願人
清水建設株式会社
代理人
弁理士法人酒井国際特許事務所
主分類
E04B
1/94 20060101AFI20250909BHJP(建築物)
要約
【課題】フランジ間の木材内部への燃焼進行を防止することができる木質耐火被覆鉄骨部材およびその施工方法を提供する。
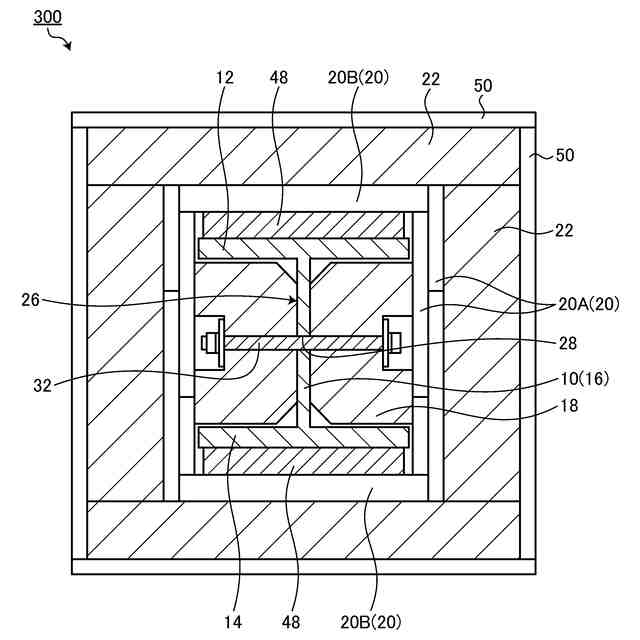
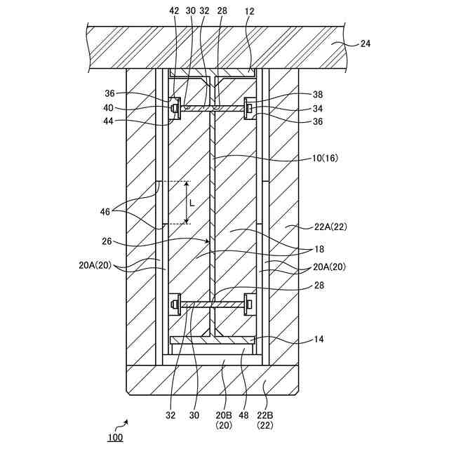
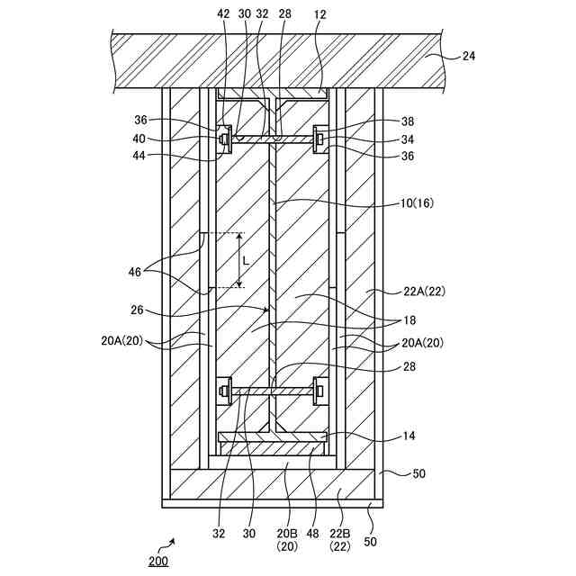
【解決手段】ウェブ10とフランジ12、14を有するH形鋼からなる鉄骨部材16と、前記ウェブ10と前記フランジ12、14によって区画形成される凹部空間26に充てんするように設けられた木質下地材18と、前記木質下地材18の外側から前記フランジ12、14の端部および外側にかけて連続的に被覆するように設けられた耐火被覆材20、22とを備えるようにする。
【選択図】図1
特許請求の範囲
【請求項1】
ウェブとフランジを有するH形鋼からなる鉄骨部材と、前記ウェブと前記フランジによって区画形成される凹部空間に充てんするように設けられた木質下地材と、前記木質下地材の外側から前記フランジの端部および外側にかけて連続的に被覆するように設けられた耐火被覆材とを備えることを特徴とする木質耐火被覆鉄骨部材。
続きを表示(約 550 文字)
【請求項2】
前記木質下地材は、前記フランジの端部よりも外側にせり出すように設けられることを特徴とする請求項1に記載の木質耐火被覆鉄骨部材。
【請求項3】
前記耐火被覆材の外側に、木質化粧材が設けられることを特徴とする請求項1に記載の木質耐火被覆鉄骨部材。
【請求項4】
前記耐火被覆材は、非木質耐火被覆材と、木質耐火被覆部材とを積層配置したものであることを特徴とする請求項1に記載の木質耐火被覆鉄骨部材。
【請求項5】
前記非木質耐火被覆材は、厚さ方向に積層配置した複数枚の強化せっこうボードにより構成され、複数枚の前記強化せっこうボードのうち、厚さ方向に隣接する前記強化せっこうボードのそれぞれに形成される目地は、厚さ方向に重ならないように前記強化せっこうボードの幅方向にずらして配置されることを特徴とする請求項4に記載の木質耐火被覆鉄骨部材。
【請求項6】
請求項1~5のいずれか一つに記載の木質耐火被覆鉄骨部材を施工する方法であって、
前記凹部空間に前記木質下地材を留め付けた後、前記木質下地材の外側と、前記フランジの端部および外側とに、前記耐火被覆材を留め付けることを特徴とする木質耐火被覆鉄骨部材の施工方法。
発明の詳細な説明
【技術分野】
【0001】
本発明は、木質耐火被覆鉄骨部材およびその施工方法に関するものである。
続きを表示(約 1,300 文字)
【背景技術】
【0002】
従来、建設分野における環境負荷低減を目的として、再生可能な資源であり、二酸化炭素を固定化する効果を有する木材を、鉄骨梁の耐火被覆材として利用することが知られている。例えば、特許文献1には、H形鋼により形成された鉄骨梁の周囲に木質耐火被覆材を設けたものが示されている。この鉄骨梁は、上下方向に互いに対向する上下フランジと、これらを接続するウェブとを有しており、上側のフランジの上には、スラブが設けられる。木質耐火被覆材は、上下フランジの各両端に設けた下地材を介して鉄骨梁に取り付けられる。
【先行技術文献】
【特許文献】
【0003】
特開2023-84597号公報
【発明の概要】
【発明が解決しようとする課題】
【0004】
しかしながら、二酸化炭素の固定量を多くし、環境負荷低減効果を高めるためには、鉄骨梁の上下フランジ間にも木材を充てんすることが望ましい。一方、火災時を想定した場合、フランジ間に充てんした木材の内部まで燃焼が進行すると鉄骨梁温度の上昇を招き、架構の崩壊に至るおそれがある。特に、2時間以上の火災加熱を受けた場合、木材の「燃え止まり」が困難になり、鉄骨梁温度の上昇を招きやすい。そのため、フランジ間の木材の内部まで燃焼が進行しない構造が求められていた。なお、ここでの「燃え止まり」とは、火災加熱終了後、木材が自消する現象のことである。
【0005】
また、鉄骨梁に耐火被覆材を施工する際、鉄骨のゆがみにより耐火被覆材の取付が困難になるため、鉄骨のゆがみに影響されない耐火被覆材の施工方法が求められていた。
【0006】
本発明は、上記に鑑みてなされたものであって、フランジ間の木材内部への燃焼進行を防止することができる木質耐火被覆鉄骨部材およびその施工方法を提供することを目的とする。
【課題を解決するための手段】
【0007】
上記した課題を解決し、目的を達成するために、本発明に係る木質耐火被覆鉄骨部材は、ウェブとフランジを有するH形鋼からなる鉄骨部材と、前記ウェブと前記フランジによって区画形成される凹部空間に充てんするように設けられた木質下地材と、前記木質下地材の外側から前記フランジの端部および外側にかけて連続的に被覆するように設けられた耐火被覆材とを備えることを特徴とする。
【0008】
また、本発明に係る他の木質耐火被覆鉄骨部材は、上述した発明において、前記木質下地材は、前記フランジの端部よりも外側にせり出すように設けられることを特徴とする。
【0009】
また、本発明に係る他の木質耐火被覆鉄骨部材は、上述した発明において、前記耐火被覆材の外側に、木質化粧材が設けられることを特徴とする。
【0010】
また、本発明に係る他の木質耐火被覆鉄骨部材は、上述した発明において、前記耐火被覆材は、非木質耐火被覆材と、木質耐火被覆部材とを積層配置したものであることを特徴とする。
(【0011】以降は省略されています)
この特許をJ-PlatPat(特許庁公式サイト)で参照する
関連特許
清水建設株式会社
外壁構造
1か月前
清水建設株式会社
配筋装置
17日前
清水建設株式会社
化粧カバー
16日前
清水建設株式会社
鉄筋把持装置
17日前
清水建設株式会社
情報処理装置
23日前
清水建設株式会社
水制御システム
3日前
清水建設株式会社
製炭炉、製炭方法
16日前
清水建設株式会社
汚染拡散防止構造
1か月前
清水建設株式会社
配筋高さ調整機構
17日前
清水建設株式会社
遮水層の構築方法
2日前
清水建設株式会社
加熱井戸の設置方法
1か月前
清水建設株式会社
配筋の千鳥調整機構
17日前
清水建設株式会社
床吹き出し空調装置
2日前
清水建設株式会社
免震装置の基礎構造
3日前
清水建設株式会社
ボルトによる接合構造
9日前
清水建設株式会社
コンクリートの施工方法
24日前
清水建設株式会社
建築部材および空調システム
13日前
清水建設株式会社
中間階免震建物の免震層の構築方法
3日前
清水建設株式会社
低透水層の施工方法および低透水層構造
24日前
清水建設株式会社
ケーソンの施工方法および施工補助装置
11日前
清水建設株式会社
木質耐火被覆鉄骨部材およびその施工方法
25日前
清水建設株式会社
角部用タブおよび四面ボックスの溶接方法
1か月前
清水建設株式会社
ガス回収装置、ビル空調システム、ガス回収方法
1か月前
公益財団法人鉄道総合技術研究所
樹脂吹付け方法
23日前
清水建設株式会社
鉄筋の放射線漏洩線量減少率評価方法及び解析装置
9日前
清水建設株式会社
金属造形物の造形装置および金属造形物の造形方法
4日前
清水建設株式会社
施工時CO2排出量の推定方法および推定システム
9日前
清水建設株式会社
トンネル防水シートの施工管理装置及び施工管理方法
1か月前
清水建設株式会社
地形計測装置、地形計測システム、及び地形計測方法
13日前
清水建設株式会社
土壌資材、土壌資材の設計方法および土壌資材の製造方法
13日前
清水建設株式会社
鉄筋の突合わせ接合構造及び鉄筋接続用スリーブの圧縮装置
9日前
清水建設株式会社
スリムケーソン工法に用いる揚重構造およびスリムケーソン工法
1か月前
清水建設株式会社
陰イオン吸着体、陰イオン吸着体の製造方法、陰イオン吸着方法
9日前
清水建設株式会社
ジオポリマー、ジオポリマーの固化物、放射性廃棄物の処理方法、
17日前
清水建設株式会社
情報処理システム、情報処理装置、情報処理方法、およびプログラム
1か月前
清水建設株式会社
情報処理システム、情報処理装置、情報処理方法、およびプログラム
24日前
続きを見る
他の特許を見る