TOP
|
特許
|
意匠
|
商標
特許ウォッチ
Twitter
他の特許を見る
公開番号
2025161032
公報種別
公開特許公報(A)
公開日
2025-10-24
出願番号
2024063877
出願日
2024-04-11
発明の名称
防火積層体及びその製造方法
出願人
清水建設株式会社
代理人
個人
,
個人
,
個人
主分類
B27M
3/00 20060101AFI20251017BHJP(木材または類似の材料の加工または保存;釘打ち機またはステープル打ち機一般)
要約
【課題】内装制限を受ける箇所において、内装に用いる木材又は木質材料には、不燃性能を有する材料であることが求められることがある。加えて、内装に用いる木材又は木質材料には、施工現場での施工が容易であることが求められる。本発明は、上記事情に鑑みてなされたものであり、不燃性能に優れ、かつ施工性に優れる防火積層体を目的とする。
【解決手段】平板状の木材又は木質材料である基体と、前記基体の一方の面に位置する防火層と、接着層と、を有し、前記防火層は、前記一方の面の面方向に並ぶ2つ以上の難燃処理木材を有し、前記接着層の一部又は全部は、前記基体と前記防火層との間に位置することよりなる。
【選択図】図1
特許請求の範囲
【請求項1】
平板状の木材又は木質材料である基体と、前記基体の一方の面に位置する防火層と、接着層と、を有し、
前記防火層は、前記一方の面の面方向に並ぶ2つ以上の難燃処理木材を有し、
前記接着層の一部又は全部は、前記基体と前記防火層との間に位置する、防火積層体。
続きを表示(約 710 文字)
【請求項2】
前記接着層の目付は、200~350g/m
2
である、請求項1に記載の防火積層体。
【請求項3】
前記難燃処理木材は、隣接する他の前記難燃処理木材に向く一方又は両方の面と、前記基体に向く面との間に面取部を有する、請求項1に記載の防火積層体。
【請求項4】
前記基体は、合板、集成材又は直交集成板(Cross Laminated Timber)である、請求項1~3のいずれか一項に記載の防火積層体。
【請求項5】
平板状の木材又は木質材料である基体と、前記基体の一方の面に位置する防火層と、を有する防火積層体の製造方法であって、
第一の接着剤を介して、前記基体の一方の面上に2つ以上の難燃処理木材を前記一方の面の面方向に並べて前記防火層とし、
次いで、前記第一の接着剤を硬化して、前記防火層を前記基体に接着する、防火積層体の製造方法。
【請求項6】
合板、集成材又は直交集成板(Cross Laminated Timber)である基体と、前記基体の一方の面に位置する防火層と、を有する防火積層体の製造方法であって、
第二の接着剤を介して、2つ以上のひき板を重ねて基体前駆体とし、
前記基体前駆体の一方の面に位置するように、第一の接着剤を介して、前記ひき板の面上に2つ以上の難燃処理木材を前記ひき板の面の面方向に並べて前記防火層とし、
次いで、前記第二の接着剤を硬化して前記基体前駆体を前記基体とし、前記第一の接着剤を硬化して前記防火層を前記基体に接着する、防火積層体の製造方法。
発明の詳細な説明
【技術分野】
【0001】
本発明は、防火積層体及びその製造方法に関する。
続きを表示(約 2,100 文字)
【背景技術】
【0002】
建築物の内装材、構造材、下地材等には、木材又は木質材料が用いられる。建築物に用いられる木材又は木質材料には、不燃性能が求められる場合がある。不燃性能を有する木材又は木質材料としては、難燃薬剤を含浸した難燃処理木材がある。かかる難燃処理木材を用いることで、建築物の防火性、耐火性を高められる。
【0003】
例えば、特許文献1には、外壁仕上げ材の下地として木質材料からなる下地材が配設され、この下地材に30mm以上の厚さを確保することにより防火性及び耐火性を備えたことを特徴とする木質外壁の防耐火構造が提案されている。
【先行技術文献】
【特許文献】
【0004】
特開2006-348558号公報
【発明の概要】
【発明が解決しようとする課題】
【0005】
木材又は木質材料を内装に用いる場合、建築基準法による内装制限を受ける場合がある。このため、内装制限を受ける箇所において、内装に用いる木材又は木質材料には、不燃性能を有する材料(不燃材料、準不燃材料又は難燃材料。以下、「防火材料」ということがある。)であることが求められる。加えて、内装に用いる木材又は木質材料には、施工現場での施工が容易であること(施工性に優れる)が求められる。さらに、内装に用いる木材又は木質材料には、見栄えのよい(美麗である)ことが求められる。
本発明は、不燃性能に優れ、かつ施工性に優れる防火積層体を目的とする。
【課題を解決するための手段】
【0006】
本発明は、以下の態様を有する。
<1>
平板状の木材又は木質材料である基体と、前記基体の一方の面に位置する防火層と、接着層と、を有し、
前記防火層は、前記一方の面の面方向に並ぶ2つ以上の難燃処理木材を有し、
前記接着層の一部又は全部は、前記基体と前記防火層との間に位置する、防火積層体。
<2>
前記接着層の目付は、200~350g/m
2
である、<1>に記載の防火積層体。
<3>
前記難燃処理木材は、隣接する他の前記難燃処理木材に向く一方又は両方の面と、前記基体に向く面との間に面取部を有する、<1>又は<2>に記載の防火積層体。
<4>
前記基体は、合板、集成材又は直交集成板(Cross Laminated Timber)である、<1>~<3>のいずれかに記載の防火積層体。
【0007】
<5>
平板状の木材又は木質材料である基体と、前記基体の一方の面に位置する防火層と、を有する防火積層体の製造方法であって、
第一の接着剤を介して、前記基体の一方の面上に2つ以上の難燃処理木材を前記一方の面の面方向に並べて前記防火層とし、
次いで、前記第一の接着剤を硬化して、前記防火層を前記基体に接着する、防火積層体の製造方法。
<6>
合板、集成材又は直交集成板(Cross Laminated Timber)である基体と、前記基体の一方の面に位置する防火層と、を有する防火積層体の製造方法であって、
第二の接着剤を介して、2つ以上のひき板を重ねて基体前駆体とし、
前記基体前駆体の一方の面に位置するように、第一の接着剤を介して、前記ひき板の面上に2つ以上の難燃処理木材を前記ひき板の面の面方向に並べて前記防火層とし、
次いで、前記第二の接着剤を硬化して前記基体前駆体を前記基体とし、前記第一の接着剤を硬化して前記防火層を前記基体に接着する、防火積層体の製造方法。
【発明の効果】
【0008】
本発明の防火積層体によれば、不燃性能に優れ、かつ施工性に優れる。
【図面の簡単な説明】
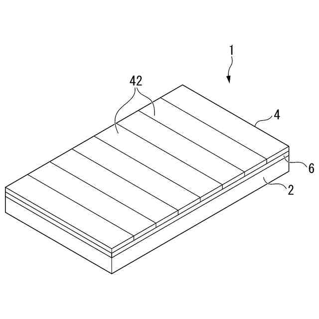
【0009】
本発明の第一の実施形態に係る防火積層体の斜視図である。
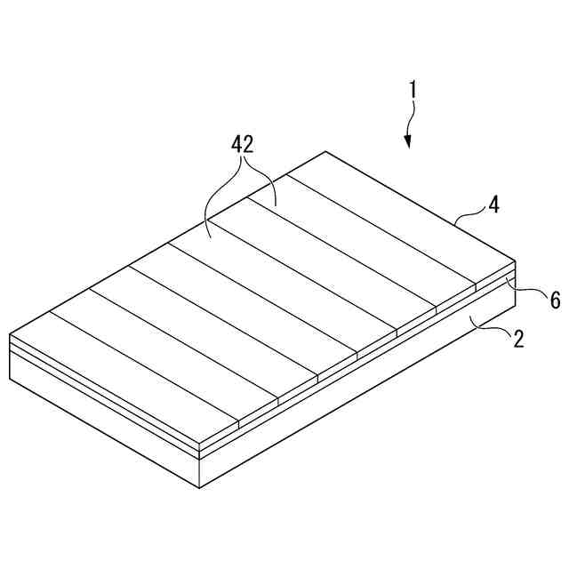
本発明の第一の実施形態に係る防火積層体の断面図である。
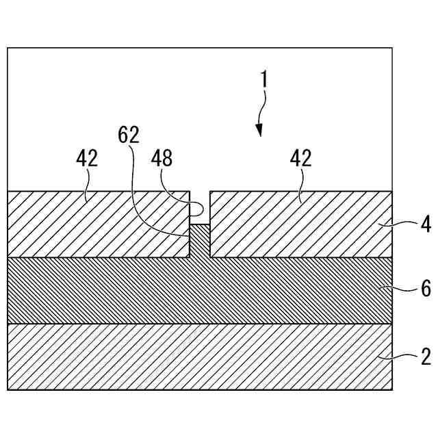
本発明の第一の実施形態に係る防火積層体の断面の部分拡大図である。
本発明の第二の実施形態に係る防火積層体の断面の部分拡大図である。
【発明を実施するための形態】
【0010】
本明細書及び特許請求の範囲において、数値範囲を示す「~」は、その前後に記載した数値を下限値及び上限値として含むことを意味する。
本稿において、伐採した木を任意の大きさに切り出した「木材」、及び木材を構成要素に分割し再構成した「木質材料」を総じて、「木質系材料」ということがある。
また、「難燃処理木材」は、それ単独で、建築基準法第2条第九号及び建築基準法施行令第108条の2(不燃材料)、令第1条第五号(準不燃材料)、令第1条第六号(難燃材料)で定められる防火材料の基準を満たす木質系材料である。
なお、図1~4は、その構成をわかりやすく説明するための模式図であり、各構成要素の寸法比率等は、実際とは異なる場合もある。
(【0011】以降は省略されています)
この特許をJ-PlatPat(特許庁公式サイト)で参照する
関連特許
清水建設株式会社
建築構造
1か月前
清水建設株式会社
パネル枠
17日前
清水建設株式会社
防振構造
4日前
清水建設株式会社
仮設トイレ
17日前
清水建設株式会社
免震構造物
17日前
清水建設株式会社
枠体および壁体
1か月前
清水建設株式会社
構造物の施工方法
11日前
清水建設株式会社
防災支援システム
3日前
清水建設株式会社
ガラスパネル構造
4日前
清水建設株式会社
走行体の支持構造
17日前
清水建設株式会社
積層造形システム
11日前
清水建設株式会社
二酸化炭素固定化方法
10日前
清水建設株式会社
接合構造および接合方法
2日前
清水建設株式会社
遮水層構築の降雨対策方法
1か月前
清水建設株式会社
防火積層体及びその製造方法
1か月前
清水建設株式会社
床版架設装置および床版架設方法
17日前
清水建設株式会社
制振装置およびこれを備えた建物
1か月前
清水建設株式会社
変位計測装置および変位計測方法
1か月前
清水建設株式会社
接合構造及び接合構造の改修方法
1か月前
清水建設株式会社
情報処理装置および情報処理方法
3日前
清水建設株式会社
免震構造および免震構造の施工方法
9日前
清水建設株式会社
地中連続壁の終局せん断耐力算定方法
1か月前
清水建設株式会社
施工方法および二酸化炭素排出量の削減方法
2日前
清水建設株式会社
自律移動体制御システムおよび自律移動体制御方法
1か月前
清水建設株式会社
自律移動体制御システムおよび自律移動体制御方法
17日前
清水建設株式会社
桁と床版との接合構造、及び桁と床版との接合方法
1か月前
清水建設株式会社
打設監視システム、ガイド装置、および打設監視方法
1か月前
清水建設株式会社
作業架台の支持構造及びコンクリート構造物の施工方法
1か月前
岡部株式会社
スタッド溶接用治具及びスタッド溶接方法
1か月前
清水建設株式会社
掘削状況判定装置、掘削状況判定方法、およびプログラム
9日前
戸田建設株式会社
距離計測器を備えた吹付けノズル装置
17日前
清水建設株式会社
情報提供システム、情報提供プログラム、及び、情報提供方法
2日前
清水建設株式会社
床構造および床構造の施工方法
4日前
個人
鋸
2か月前
個人
木材精密加工用ジグ
8か月前
個人
貼付装置及び貼付方法
6か月前
続きを見る
他の特許を見る