TOP
|
特許
|
意匠
|
商標
特許ウォッチ
Twitter
他の特許を見る
10個以上の画像は省略されています。
公開番号
2025164055
公報種別
公開特許公報(A)
公開日
2025-10-30
出願番号
2024067783
出願日
2024-04-18
発明の名称
枠体および壁体
出願人
清水建設株式会社
代理人
個人
,
個人
,
個人
主分類
E06B
3/54 20060101AFI20251023BHJP(戸,窓,シャッタまたはローラブラインド一般;はしご)
要約
【課題】曲げガラスを効率良く支持可能な枠体および壁体を提供する。
【解決手段】枠体20は、屋内外方向Yに湾曲したガラス10を支持する枠体であって、前記ガラス10の曲げ軸方向Zの端部を前記屋内外方向Yの両側から覆う枠本体21と、前記ガラス10と前記枠本体21との間に設けられ、前記ガラス10を前記屋内外方向Yの両側から支持する支持部材22と、を備え、前記枠本体21の曲率は、前記ガラス10の曲率よりも小さく、前記支持部材22は、前記ガラス10に沿って前記ガラス10に接触する第一面22aと、前記枠本体21に沿って前記枠本体21と対向して配置される第二面22bと、を有する。
【選択図】図2
特許請求の範囲
【請求項1】
屋内外方向に湾曲したガラスを支持する枠体であって、
前記ガラスの曲げ軸方向の端部を前記屋内外方向の両側から覆う枠本体と、
前記ガラスと前記枠本体との間に設けられ、前記ガラスを前記屋内外方向の両側から支持する支持部材と、
を備え、
前記枠本体の曲率は、前記ガラスの曲率よりも小さく、
前記支持部材は、
前記ガラスに沿って前記ガラスに接触する第一面と、
前記枠本体に沿って前記枠本体と対向して配置される第二面と、
を有する、
枠体。
続きを表示(約 410 文字)
【請求項2】
前記支持部材の幅方向の寸法は、前記ガラスの前記幅方向の寸法の0.5倍以上である、
請求項1に記載の枠体。
【請求項3】
複数の前記支持部材を備える、
請求項1に記載の枠体。
【請求項4】
前記ガラス又は前記支持部材と前記枠本体との前記屋内外方向における隙間を埋めるシーリング材を備える、
請求項1に記載の枠体。
【請求項5】
前記支持部材は、EPDM-Sを含む、
請求項1に記載の枠体。
【請求項6】
前記枠本体は、前記曲げ軸方向からの平面視において、前記ガラスの前記屋内外方向の頂点における接線と平行に延びる、
請求項1に記載の枠体。
【請求項7】
請求項1から請求項6のいずれか一項に記載の枠体と、
前記枠体に支持される前記ガラスと、
を備える、
壁体。
発明の詳細な説明
【技術分野】
【0001】
本発明は、枠体および壁体に関する。
続きを表示(約 1,600 文字)
【背景技術】
【0002】
従来、建物の外壁がガラス張りとなったガラスファサードと呼ばれる壁体が知られている(例えば、特許文献1)。このような壁体は、例えば、ガラスと、ガラスの端部を支持する枠体とを備え、建物の壁部に形成された開口部に枠体を固定することによって建物に取り付けられる。
【0003】
ガラスを支持する枠体は、例えば、ガラスの外側に配置されてガラスと垂直な平面形状を有する連結部と、連結部の両端からガラスと平行に延びるフランジ部とによって形成される。壁体に曲げガラスを用いる場合、曲げガラスを支持する枠体は、ガラスの曲げ形状に沿った曲線形状にする必要がある。
【先行技術文献】
【特許文献】
【0004】
特開2015-135003号公報
【発明の概要】
【発明が解決しようとする課題】
【0005】
しかしながら、曲線形状の枠体を形成する場合、例えば、レーザ加工によって曲線形状に切り出した金属板を連結部とし、ガラス面に沿うように曲げ加工を施した金属板をフランジ部とし、これらを溶接によって組み立てる必要があるため、手間がかかる。また、ガラスの形状毎にガラスの曲線形状に合わせた枠体を作成する必要があり、枠体の製作時間および製作費用が増大する虞がある。
【0006】
上記事情を踏まえ、本発明は、曲げガラスを効率良く支持可能な枠体および壁体を提供することを目的とする。
【課題を解決するための手段】
【0007】
上記課題を解決するために、この発明は以下の手段を提案している。
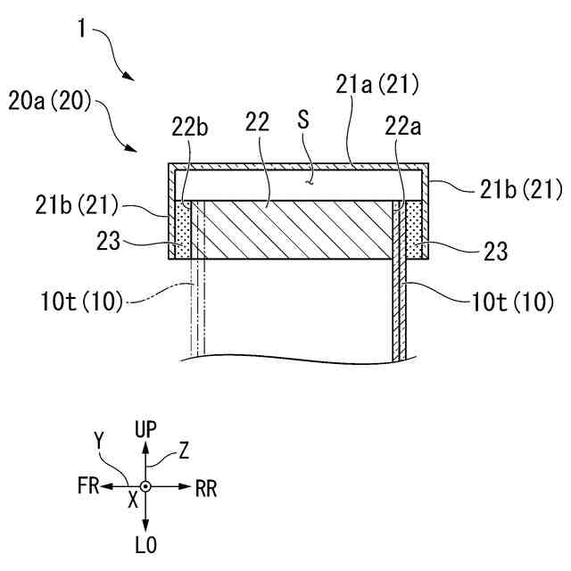
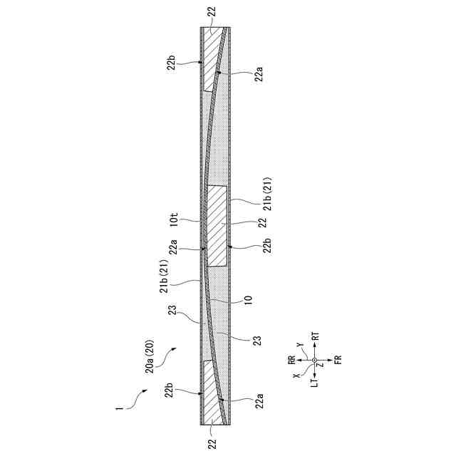
本発明の枠体は、屋内外方向に湾曲したガラスを支持する枠体であって、前記ガラスの曲げ軸方向の端部を前記屋内外方向の両側から覆う枠本体と、前記ガラスと前記枠本体との間に設けられ、前記ガラスを前記屋内外方向の両側から支持する支持部材と、を備え、前記枠本体の曲率は、前記ガラスの曲率よりも小さく、前記支持部材は、前記ガラスに沿って前記ガラスに接触する第一面と、前記枠本体に沿って前記枠本体と対向して配置される第二面と、を有する。
【0008】
本発明の壁体は、上記に記載の枠体と、前記枠体に支持される前記ガラスと、を備える。
【発明の効果】
【0009】
本発明の枠体および壁体によれば、曲げガラスを効率良く支持可能な枠体および壁体を提供できる。
【図面の簡単な説明】
【0010】
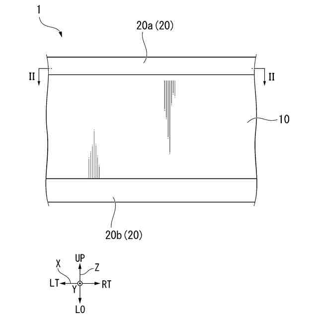
本実施形態に係る壁体を模式的に示す正面図である。
図1におけるII-II線に沿う断面図である。
図2におけるIII-III線に沿う断面図である。
実施例1の壁体を示す断面図である。
実施例2の壁体を示す断面図である。
実施例3の壁体を示す断面図である。
実施例4の壁体を示す断面図である。
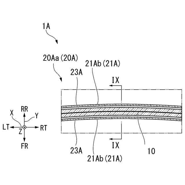
比較例1の壁体を示す断面図である。
図8におけるIX-IX線に沿う断面図である。
実施例1の壁体の発生引張応力を示す図である。
実施例1の壁体のガラス変位を示す図である。
実施例2の壁体の発生引張応力を示す図である。
実施例2の壁体のガラス変位を示す図である。
実施例3の壁体の発生引張応力を示す図である。
実施例3の壁体のガラス変位を示す図である。
実施例4の壁体の発生引張応力を示す図である。
実施例4の壁体のガラス変位を示す図である。
比較例1の壁体の発生引張応力を示す図である。
比較例1の壁体のガラス変位を示す図である。
【発明を実施するための形態】
(【0011】以降は省略されています)
この特許をJ-PlatPat(特許庁公式サイト)で参照する
関連特許
清水建設株式会社
建築構造
25日前
清水建設株式会社
配筋装置
1か月前
清水建設株式会社
化粧カバー
1か月前
清水建設株式会社
情報処理装置
1か月前
清水建設株式会社
鉄筋把持装置
1か月前
清水建設株式会社
水制御システム
1か月前
清水建設株式会社
枠体および壁体
9日前
清水建設株式会社
配筋高さ調整機構
1か月前
清水建設株式会社
遮水層の構築方法
29日前
清水建設株式会社
製炭炉、製炭方法
1か月前
清水建設株式会社
床吹き出し空調装置
29日前
清水建設株式会社
配筋の千鳥調整機構
1か月前
清水建設株式会社
免震装置の基礎構造
1か月前
清水建設株式会社
ボルトによる接合構造
1か月前
清水建設株式会社
コンクリートの施工方法
1か月前
清水建設株式会社
遮水層構築の降雨対策方法
9日前
清水建設株式会社
建築部材および空調システム
1か月前
清水建設株式会社
防火積層体及びその製造方法
15日前
清水建設株式会社
変位計測装置および変位計測方法
25日前
清水建設株式会社
接合構造及び接合構造の改修方法
16日前
清水建設株式会社
制振装置およびこれを備えた建物
9日前
清水建設株式会社
中間階免震建物の免震層の構築方法
1か月前
清水建設株式会社
地中連続壁の終局せん断耐力算定方法
1日前
清水建設株式会社
ケーソンの施工方法および施工補助装置
1か月前
清水建設株式会社
低透水層の施工方法および低透水層構造
1か月前
清水建設株式会社
木質耐火被覆鉄骨部材およびその施工方法
1か月前
清水建設株式会社
自律移動体制御システムおよび自律移動体制御方法
2日前
清水建設株式会社
金属造形物の造形装置および金属造形物の造形方法
1か月前
清水建設株式会社
鉄筋の放射線漏洩線量減少率評価方法及び解析装置
1か月前
清水建設株式会社
桁と床版との接合構造、及び桁と床版との接合方法
9日前
公益財団法人鉄道総合技術研究所
樹脂吹付け方法
1か月前
清水建設株式会社
施工時CO2排出量の推定方法および推定システム
1か月前
清水建設株式会社
打設監視システム、ガイド装置、および打設監視方法
1日前
清水建設株式会社
地形計測装置、地形計測システム、及び地形計測方法
1か月前
清水建設株式会社
作業架台の支持構造及びコンクリート構造物の施工方法
9日前
清水建設株式会社
土壌資材、土壌資材の設計方法および土壌資材の製造方法
1か月前
続きを見る
他の特許を見る