TOP
|
特許
|
意匠
|
商標
特許ウォッチ
Twitter
他の特許を見る
10個以上の画像は省略されています。
公開番号
2025164505
公報種別
公開特許公報(A)
公開日
2025-10-30
出願番号
2024068522
出願日
2024-04-19
発明の名称
作業架台の支持構造及びコンクリート構造物の施工方法
出願人
清水建設株式会社
,
協立エンジ株式会社
代理人
個人
,
個人
,
個人
主分類
E04G
3/00 20060101AFI20251023BHJP(建築物)
要約
【課題】コンクリート構造物の施工を省人化することができる作業架台の支持構造及びコンクリート構造物の施工方法を提供する。
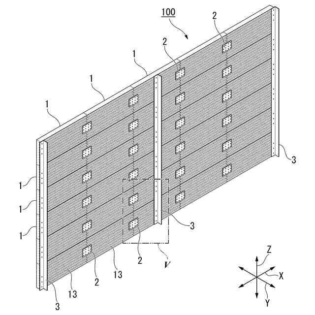
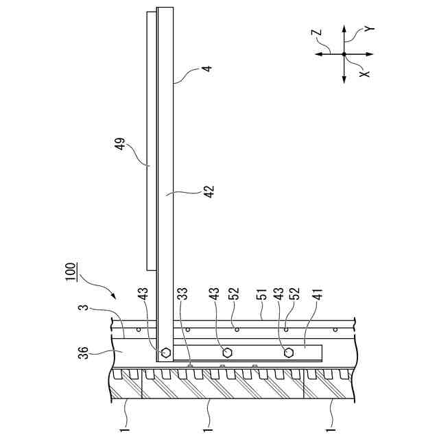
【解決手段】作業架台の支持構造100は、コンクリートを含む材料で形成され、上下方向及び左右方向に複数配置されたコンクリート型枠1と、左右方向に隣り合って配置された複数のコンクリート型枠1を連結する横連結材2と、上下方向に隣り合って配置された複数のコンクリート型枠を連結する支持材3と、を備え、支持材3には、作業架台が着脱可能に設けられる。
【選択図】図1
特許請求の範囲
【請求項1】
コンクリートを含む材料で形成され、上下方向及び左右方向に複数配置されたコンクリート型枠と、
左右方向に隣り合って配置された複数の前記コンクリート型枠を連結する横連結材と、
上下方向に隣り合って配置された複数の前記コンクリート型枠を連結する支持材と、を備え、
前記支持材には、作業架台が着脱可能に設けられる作業架台の支持構造。
続きを表示(約 950 文字)
【請求項2】
前記コンクリート型枠は、
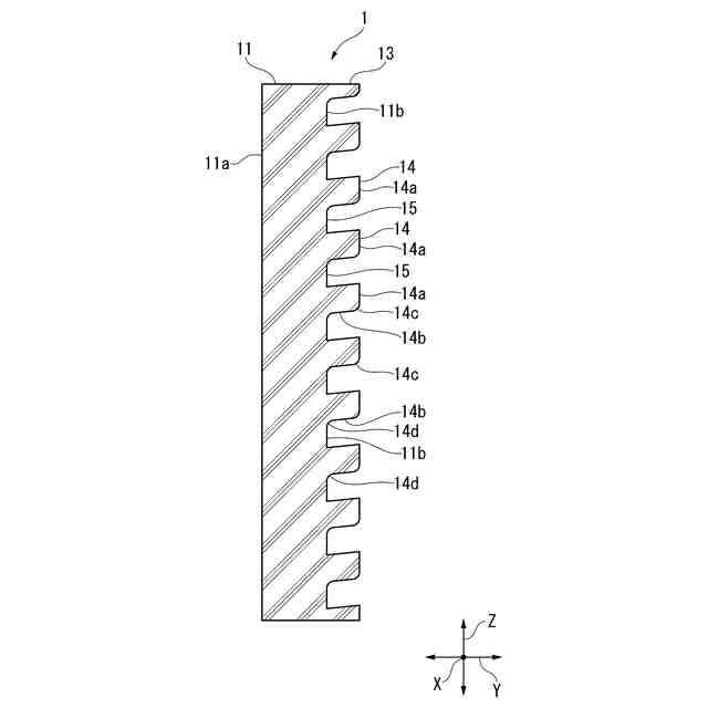
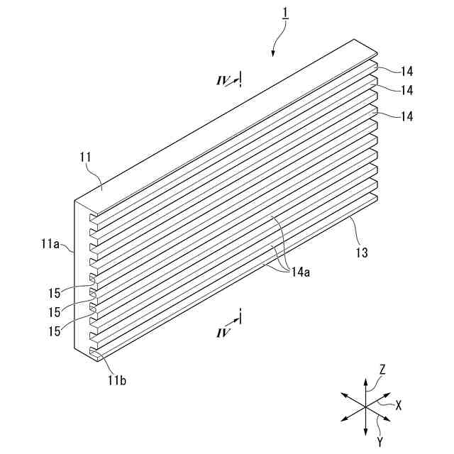
板状に形成された型枠本体と、
前記型枠本体の厚さ方向の一方側の第1面に設けられた凸部を有する凹凸形状部と、を備える請求項1に記載の作業架台の支持構造。
【請求項3】
前記凸部は、前記コンクリート型枠の左右方向に沿って延びるとともに、上下方向に間隔を空けて複数形成されている請求項2に記載の作業架台の支持構造。
【請求項4】
前記第1面と前記凸部の下面とで形成される第1角部、及び前記凸部の下面と先端面とで形成される第2角部は、湾曲して形成されている請求項2に記載の作業架台の支持構造。
【請求項5】
前記型枠本体は、平板状に形成されている請求項2に記載の作業架台の支持構造。
【請求項6】
前記型枠本体は、曲面板状に形成されている請求項2に記載の作業架台の支持構造。
【請求項7】
前記支持材には、前記作業架台を連結するボルト孔が形成されている請求項1または2に記載の作業架台の支持構造。
【請求項8】
請求項1または2に記載の作業架台の支持構造のコンクリート型枠を上下方向及び左右方向に複数設置して、左右方向に設置された複数の前記コンクリート型枠を横連結材で連結し、上下方向に設置された複数の前記コンクリート型枠を支持材で連結するコンクリート型枠設置工程と、
複数の前記コンクリート型枠の厚さ方向の一方側に、所定の高さの領域に鉄筋を配筋する配筋工程と、
前記支持材に作業架台を固定する作業架台設置工程と、
作業者が前記作業架台を使用して、前記所定の高さよりの領域よりも上側の領域に鉄筋を配筋する上側配筋工程と、
前記支持材から前記作業架台を取り外す作業架台撤去工程と、
前記鉄筋を埋設するようにコンクリートを打設するコンクリート打設工程と、を備えるコンクリート構造物の施工方法。
【請求項9】
前記コンクリート打設工程までに、前記作業架台設置工程、前記上側配筋工程及び前記作業架台撤去工程を繰り返して、更に上側に鉄筋を配筋する請求項8に記載のコンクリート構造物の施工方法。
発明の詳細な説明
【技術分野】
【0001】
本発明は、作業架台の支持構造及びコンクリート構造物の施工方法に関するものである。
続きを表示(約 1,400 文字)
【背景技術】
【0002】
従来から、コンクリート構造物は、コンパネ等で構成された型枠内に鉄筋が配筋されコンクリートが打設されて、コンクリートが硬化することで構築されている(下記の特許文献1参照)。
【0003】
近年、SDGsやカーボンニュートラルへの対応や設計手法の高度化や合理化を背景に、よりコンパクトな形状のコンクリート構造物が増えてきている。例えばケーソンやカルバート等の代表的なコンクリート構造物では、幅1.0~1.5m程度の比較的小さな側壁でも構造上成立している実例が存在する。
【0004】
その一方で、我が国における各種設計基準は、1995年兵庫県南部地震や2011年東日本大震災等を機に数度に渡り改訂され厳格化されて、構造物の要求性能を満足するための必要鉄筋量は増加傾向にある。このため近年のコンクリート構造物は、小断面且つ高密度配筋になりやすい傾向にある。
【先行技術文献】
【特許文献】
【0005】
特開2023-117254号公報
【発明の概要】
【発明が解決しようとする課題】
【0006】
しかしながら、小断面且つ高密度配筋のコンクリート構造物を施工するには、狭隘な作業環境下で鉄筋組立用作業足場を設置して、多量の太径鉄筋を組み立てることが、作業上困難であるという問題点がある。
【0007】
そこで、本発明は、上記事情に鑑みてなされたものであり、コンクリート構造物の施工を省人化することができる作業架台の支持構造及びコンクリート構造物の施工方法を提供する。
【課題を解決するための手段】
【0008】
上記目的を達成するために、本発明は以下の手段を採用している。
すなわち、本発明に係る作業架台の支持構造は、コンクリートを含む材料で形成され、上下方向及び左右方向に複数配置されたコンクリート型枠と、左右方向に隣り合って配置された複数の前記コンクリート型枠を連結する横連結材と、上下方向に隣り合って配置された複数の前記コンクリート型枠を連結する支持材と、を備え、前記支持材には、作業架台が着脱可能に設けられる。
【0009】
このように構成された作業架台の支持構造では、複数配置されたコンクリート型枠は、左右方向を横連結材で連結され、上下方向を支持材で連結されている。コンクリート型枠自体がコンクリートを含む材料で形成されているため、コンクリート型枠をコンクリート構造物の一部として利用することができる。支持材には作業架台を着脱可能に設けることができるため、鉄筋を配置する作業時には作業架台を支持材に設置して、作業後には作業架台を支持材から取り外すことができる。よって、必要な箇所に作業架台を設置すればよいため大型の作業架台が不要になるとともに、コンクリート型枠を使用することで型枠を一部省略することができるため、施工を省人化することができる。
【0010】
また、本発明に係る作業架台の支持構造では、前記コンクリート型枠は、板状に形成された型枠本体と、前記型枠本体の厚さ方向の一方側の第1面に設けられた凸部を有する凹凸形状部と、を備えていてもよい。
(【0011】以降は省略されています)
この特許をJ-PlatPat(特許庁公式サイト)で参照する
関連特許
清水建設株式会社
建築構造
1か月前
清水建設株式会社
配筋装置
2か月前
清水建設株式会社
パネル枠
10日前
清水建設株式会社
仮設トイレ
10日前
清水建設株式会社
免震構造物
10日前
清水建設株式会社
化粧カバー
2か月前
清水建設株式会社
鉄筋把持装置
2か月前
清水建設株式会社
情報処理装置
2か月前
清水建設株式会社
水制御システム
1か月前
清水建設株式会社
枠体および壁体
1か月前
清水建設株式会社
走行体の支持構造
10日前
清水建設株式会社
遮水層の構築方法
1か月前
清水建設株式会社
配筋高さ調整機構
2か月前
清水建設株式会社
積層造形システム
4日前
清水建設株式会社
構造物の施工方法
4日前
清水建設株式会社
製炭炉、製炭方法
2か月前
清水建設株式会社
配筋の千鳥調整機構
2か月前
清水建設株式会社
床吹き出し空調装置
1か月前
清水建設株式会社
免震装置の基礎構造
1か月前
清水建設株式会社
ボルトによる接合構造
1か月前
清水建設株式会社
二酸化炭素固定化方法
3日前
清水建設株式会社
コンクリートの施工方法
2か月前
清水建設株式会社
遮水層構築の降雨対策方法
1か月前
清水建設株式会社
防火積層体及びその製造方法
1か月前
清水建設株式会社
建築部材および空調システム
2か月前
清水建設株式会社
接合構造及び接合構造の改修方法
1か月前
清水建設株式会社
変位計測装置および変位計測方法
1か月前
清水建設株式会社
床版架設装置および床版架設方法
10日前
清水建設株式会社
制振装置およびこれを備えた建物
1か月前
清水建設株式会社
中間階免震建物の免震層の構築方法
1か月前
清水建設株式会社
免震構造および免震構造の施工方法
2日前
清水建設株式会社
地中連続壁の終局せん断耐力算定方法
23日前
清水建設株式会社
低透水層の施工方法および低透水層構造
2か月前
清水建設株式会社
ケーソンの施工方法および施工補助装置
2か月前
清水建設株式会社
木質耐火被覆鉄骨部材およびその施工方法
2か月前
公益財団法人鉄道総合技術研究所
樹脂吹付け方法
2か月前
続きを見る
他の特許を見る