TOP
|
特許
|
意匠
|
商標
特許ウォッチ
Twitter
他の特許を見る
公開番号
2025166580
公報種別
公開特許公報(A)
公開日
2025-11-06
出願番号
2024070699
出願日
2024-04-24
発明の名称
自律移動体制御システムおよび自律移動体制御方法
出願人
清水建設株式会社
代理人
個人
,
個人
,
個人
主分類
G05D
1/617 20240101AFI20251029BHJP(制御;調整)
要約
【課題】地震の発生に対応して自律移動体が存在している建物における安全が保たれるようにする
【解決手段】自律移動体制御システムは、発生した地震の状態を示す地震状態情報に基づいて、現在における建物の揺れ状態を推定する推定部と、前記推定部により推定された建物の揺れ状態が所定以上の強さであると判定した場合に、前記建物にて存在する自律移動体を所定の退避位置に移動させるように制御する自律移動体制御部とを備える。
【選択図】図5
特許請求の範囲
【請求項1】
発生した地震の状態を示す地震状態情報に基づいて、現在における建物の揺れ状態を推定する推定部と、
前記推定部により推定された建物の揺れ状態が所定以上の強さであると判定した場合に、前記建物にて存在する自律移動体を所定の退避位置に移動させるように制御する自律移動体制御部と
を備える自律移動体制御システム。
続きを表示(約 1,000 文字)
【請求項2】
前記自律移動体制御部は、建物の揺れ状態が所定以上の強さであると判定したタイミングで取得した前記自律移動体の位置と、建物において定められた退避位置が示されるマップとに基づいて、前記自律移動体を移動させる退避位置を決定する
請求項1に記載の自律移動体制御システム。
【請求項3】
前記自律移動体制御部は、建物の揺れ状態の強さが所定以下にまで変化したと判定したことに応じて、前記自律移動体を前記退避位置に移動させるように制御する
請求項1または2に記載の自律移動体制御システム。
【請求項4】
前記自律移動体において、
前記自律移動体の車輪にかかるトルクの算出に用いられる、床の揺れ加速度と前記自律移動体の加速度とを検出するセンサ部と、
前記自律移動体が前記退避位置に到達して走行を停止している状態において、前記トルクが前記自律移動体の転倒耐力以下となるようにトルクの制御を実行するトルク制御部と
を備える請求項1または2に記載の自律移動体制御システム。
【請求項5】
前記トルク制御部は、前記退避位置に移動するまでの経路において前記自律移動体が走行を停止している状態において、前記トルクの制御を実行する
請求項4に記載の自律移動体制御システム。
【請求項6】
前記自律移動体において、所定の状態が発生したと判定したことに応じて警告音を出力させる警告制御部を備える
請求項1または2に記載の自律移動体制御システム。
【請求項7】
前記地震状態情報は、前記建物に設けられた揺動センサが検出した前記建物の揺れの状態を示す情報である
請求項1または2に記載の自律移動体制御システム。
【請求項8】
前記地震状態情報は、外部の地震警報システムが送信する地震に関する情報である
請求項1または2に記載の自律移動体制御システム。
【請求項9】
自律移動体制御システムにおける自律移動体制御方法であって、
推定部が、発生した地震の状態を示す地震状態情報に基づいて、現在における建物の揺れ状態を推定する推定ステップと、
自律移動体制御部が、前記推定ステップにより推定された建物の揺れ状態が所定以上の強さであると判定した場合に、前記建物にて存在する自律移動体を所定の退避位置に移動させるように制御する自律移動体制御ステップと
を備える自律移動体制御方法。
発明の詳細な説明
【技術分野】
【0001】
本発明は、自律移動体制御システムおよび自律移動体制御方法に関する。
続きを表示(約 1,200 文字)
【背景技術】
【0002】
消火ロボットを火災の発生した場所にまで移動させる技術が知られている(例えば、特許文献1参照)。
【先行技術文献】
【特許文献】
【0003】
特許第6614600号公報
【発明の概要】
【発明が解決しようとする課題】
【0004】
例えば地震などが発生した場合には、自律的に移動する自律移動体が存在している建物における安全が保たれるようにすることが好ましい。
【0005】
本発明は、地震の発生に対応して自律的に移動する自律移動体が存在している建物における安全が保たれるようにすることを目的とする。
【課題を解決するための手段】
【0006】
上述した課題を解決する本発明の一態様は、発生した地震の状態を示す地震状態情報に基づいて、現在における建物の揺れ状態を推定する推定部と、前記推定部により推定された建物の揺れ状態が所定以上の強さであると判定した場合に、前記建物にて存在する自律移動体を所定の退避位置に移動させるように制御する自律移動体制御部とを備える自律移動体制御システムである。
【0007】
自律移動体制御システムにおける自律移動体制御方法であって、推定部が、発生した地震の状態を示す地震状態情報に基づいて、現在における建物の揺れ状態を推定する推定ステップと、自律移動体制御部が、前記推定ステップにより推定された建物の揺れ状態が所定以上の強さであると判定した場合に、前記建物にて存在する自律移動体を所定の退避位置に移動させるように制御する自律移動体制御ステップとを備える自律移動体制御方法である。
【発明の効果】
【0008】
本発明によれば、地震の発生に対応して自律的に移動する自律移動体が存在している建物における安全が保たれるようになるとの効果が得られる。
【図面の簡単な説明】
【0009】
本実施形態における自律移動体制御システムの全体的な構成例を示す図である。
本実施形態における自律移動体の機能構成例を示す図である。
本実施形態における自律移動体制御装置の機能構成例を示す図である。
本実施形態における自律移動体制御装置が実行する処理手順例を示す図である。
本実施形態における自律移動体制御装置が実行する処理手順例を示す図である。
本実施形態における自律移動体が実行する処理手順例を示す図である。
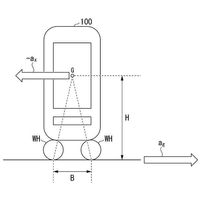
本実施形態における自律移動体の転倒耐力とトルクの計算に用いられるパラメータを説明する図である。
【発明を実施するための形態】
【0010】
図1は、本実施形態の自律移動体制御システムの全体的な構成例を示している。本実施形態の自律移動体制御システムは、建物1における1以上の自律移動体100の移動を制御する。
(【0011】以降は省略されています)
この特許をJ-PlatPat(特許庁公式サイト)で参照する
関連特許
清水建設株式会社
外壁構造
2か月前
清水建設株式会社
配筋装置
2か月前
清水建設株式会社
パネル枠
10日前
清水建設株式会社
建築構造
1か月前
清水建設株式会社
仮設トイレ
10日前
清水建設株式会社
化粧カバー
2か月前
清水建設株式会社
免震構造物
10日前
清水建設株式会社
情報処理装置
2か月前
清水建設株式会社
鉄筋把持装置
2か月前
清水建設株式会社
水制御システム
1か月前
清水建設株式会社
枠体および壁体
1か月前
清水建設株式会社
遮水層の構築方法
1か月前
清水建設株式会社
製炭炉、製炭方法
2か月前
清水建設株式会社
導電線の回収方法
3か月前
清水建設株式会社
配筋高さ調整機構
2か月前
清水建設株式会社
走行体の支持構造
10日前
清水建設株式会社
構造物の施工方法
4日前
清水建設株式会社
積層造形システム
4日前
清水建設株式会社
汚染拡散防止構造
3か月前
清水建設株式会社
配筋の千鳥調整機構
2か月前
清水建設株式会社
加熱井戸の設置方法
3か月前
清水建設株式会社
免震装置の基礎構造
1か月前
清水建設株式会社
床吹き出し空調装置
1か月前
清水建設株式会社
ボルトによる接合構造
1か月前
清水建設株式会社
二酸化炭素固定化方法
3日前
清水建設株式会社
コンクリートの施工方法
2か月前
清水建設株式会社
遮水層構築の降雨対策方法
1か月前
清水建設株式会社
防火積層体及びその製造方法
1か月前
清水建設株式会社
建築部材および空調システム
2か月前
清水建設株式会社
接合構造及び接合構造の改修方法
1か月前
清水建設株式会社
床版架設装置および床版架設方法
10日前
清水建設株式会社
変位計測装置および変位計測方法
1か月前
清水建設株式会社
制振装置およびこれを備えた建物
1か月前
清水建設株式会社
免震構造および免震構造の施工方法
2日前
清水建設株式会社
中間階免震建物の免震層の構築方法
1か月前
清水建設株式会社
再エネ制御システム、再エネ制御方法
3か月前
続きを見る
他の特許を見る