TOP
|
特許
|
意匠
|
商標
特許ウォッチ
Twitter
他の特許を見る
公開番号
2025164402
公報種別
公開特許公報(A)
公開日
2025-10-30
出願番号
2024068363
出願日
2024-04-19
発明の名称
遮水層構築の降雨対策方法
出願人
清水建設株式会社
代理人
個人
,
個人
,
個人
主分類
B09B
1/00 20060101AFI20251023BHJP(固体廃棄物の処理;汚染土壌の再生)
要約
【課題】遮水層の構築時に天候悪化に対応することができる遮水層構築の降雨対策方法を提供する。
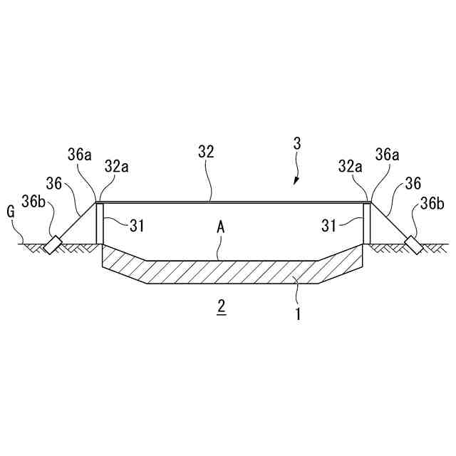
【解決手段】遮水層構築の降雨対策方法は、遮水層1を構築する工事箇所Aの上方に、遮水シート32を有する屋根部3を設置して、工事箇所Aに、ベントナイト混合土を含む遮水層1を構築して、遮水シート32を遮水層1の上側に敷設し、工事箇所Aの上方に屋根部3を設置する際には、複数の支柱31を立設して、遮水シート32を複数の支柱32で支持するとともに、遮水シート32の縁部を張設したケーブル36に連結する。
【選択図】図1
特許請求の範囲
【請求項1】
遮水層を構築する工事箇所の上方に、遮水シートを有する屋根部を設置して、
前記工事箇所に、ベントナイト混合土を含む前記遮水層を構築して、
前記遮水シートを前記遮水層の上側に敷設する遮水層構築の降雨対策方法。
続きを表示(約 200 文字)
【請求項2】
前記工事箇所の上方に前記屋根部を設置する際には、
複数の支柱を立設して、前記遮水シートを前記複数の支柱で支持するとともに、前記遮水シートの縁部を張設したケーブルに連結する請求項1に記載に遮水層構築の降雨対策方法。
【請求項3】
前記遮水シートは、分割された複数の遮水性のシートが互いに熱溶着されて構成されている請求項1または2に記載の遮水層構築の降雨対策方法。
発明の詳細な説明
【技術分野】
【0001】
本発明は、遮水層構築の降雨対策方法に関するものである。
続きを表示(約 1,200 文字)
【背景技術】
【0002】
従来から、一般廃棄物及び産業廃棄物等の最終処分場では、埋立地からの浸出液による公共の水域及び地下水の汚染を防止するための措置として、表面遮水工または鉛直遮水工を設置することとされている。
【0003】
表面遮水工では、以下の(1)~(3)の3つの二重遮水構造が規定されている。(1)透水層の上側に粘性土を設置して、その上側に遮水シート及び保護マットを設置して、保護土を設置する、(2)透水層の上側に水密アスファルトコンクリートを設置して、その上側に遮水シート及び保護マットを設置して、保護土を設置する、(3)透水層の上側に保護マット及び遮水シートを設置して、その上側に保護マットまたは砂で構成された中間保護層を設置して、その上側に遮水シート及び保護マットを設置して、保護土を設置する方法がある。
【0004】
近年は、粘性土に代わり、自己修復性による止水効果が期待できるベントナイト混合土を採用する事例がある(下記の特許文献1参照)。ベントナイトは水に触れると膨潤してしまうため、現地でのベントナイトと現地発生土の混合時や施工中は、降雨により浸潤しないことが望ましい。
【先行技術文献】
【特許文献】
【0005】
特開2014-020161号公報
【発明の概要】
【発明が解決しようとする課題】
【0006】
しかしながら、防水シートで養生しながら施工しても、突然の天候悪化には対応が困難であるという問題点がある。
【0007】
そこで、本発明は、上記事情に鑑みてなされたものであり、遮水層の構築時に天候悪化に対応することができる遮水層構築の降雨対策方法を提供する。
【課題を解決するための手段】
【0008】
上記目的を達成するために、本発明は以下の手段を採用している。
すなわち、本発明に係る遮水層構築の降雨対策方法は、遮水層を構築する工事箇所の上方に、遮水シートを有する屋根部を設置して、前記工事箇所に、ベントナイト混合土を含む前記遮水層を構築して、前記遮水シートを前記遮水層の上側に敷設する。
【0009】
このように構成された遮水層構築の降雨対策方法では、屋根部を設置することで、ベントナイト混合土の混合時や施工中等おいて、ベントナイト混合土に雨水がかかることを抑制できるため、天候悪化に対応することができる。また、遮水層を構築した後には、遮水層の上側に屋根部の遮水シートをそのまま敷設するため、現場作業の削減及び工期短縮に寄与することができる。
【0010】
また、本発明に係る遮水層構築の降雨対策方法では、前記工事箇所の上方に前記屋根部を設置する際には、複数の支柱を立設して、前記遮水シートを前記複数の支柱で支持するとともに、前記遮水シートの縁部を張設したケーブルに連結してもよい。
(【0011】以降は省略されています)
この特許をJ-PlatPat(特許庁公式サイト)で参照する
関連特許
清水建設株式会社
建築構造
1か月前
清水建設株式会社
パネル枠
10日前
清水建設株式会社
免震構造物
10日前
清水建設株式会社
仮設トイレ
10日前
清水建設株式会社
水制御システム
1か月前
清水建設株式会社
枠体および壁体
1か月前
清水建設株式会社
積層造形システム
4日前
清水建設株式会社
構造物の施工方法
4日前
清水建設株式会社
遮水層の構築方法
1か月前
清水建設株式会社
走行体の支持構造
10日前
清水建設株式会社
床吹き出し空調装置
1か月前
清水建設株式会社
免震装置の基礎構造
1か月前
清水建設株式会社
ボルトによる接合構造
1か月前
清水建設株式会社
二酸化炭素固定化方法
3日前
清水建設株式会社
遮水層構築の降雨対策方法
1か月前
清水建設株式会社
防火積層体及びその製造方法
1か月前
清水建設株式会社
制振装置およびこれを備えた建物
1か月前
清水建設株式会社
接合構造及び接合構造の改修方法
1か月前
清水建設株式会社
変位計測装置および変位計測方法
1か月前
清水建設株式会社
床版架設装置および床版架設方法
10日前
清水建設株式会社
免震構造および免震構造の施工方法
2日前
清水建設株式会社
中間階免震建物の免震層の構築方法
1か月前
清水建設株式会社
地中連続壁の終局せん断耐力算定方法
23日前
清水建設株式会社
鉄筋の放射線漏洩線量減少率評価方法及び解析装置
1か月前
清水建設株式会社
金属造形物の造形装置および金属造形物の造形方法
1か月前
清水建設株式会社
桁と床版との接合構造、及び桁と床版との接合方法
1か月前
清水建設株式会社
自律移動体制御システムおよび自律移動体制御方法
24日前
清水建設株式会社
施工時CO2排出量の推定方法および推定システム
1か月前
清水建設株式会社
自律移動体制御システムおよび自律移動体制御方法
10日前
清水建設株式会社
打設監視システム、ガイド装置、および打設監視方法
23日前
清水建設株式会社
作業架台の支持構造及びコンクリート構造物の施工方法
1か月前
清水建設株式会社
掘削状況判定装置、掘削状況判定方法、およびプログラム
2日前
岡部株式会社
スタッド溶接用治具及びスタッド溶接方法
1か月前
戸田建設株式会社
距離計測器を備えた吹付けノズル装置
10日前
清水建設株式会社
鉄筋の突合わせ接合構造及び鉄筋接続用スリーブの圧縮装置
1か月前
清水建設株式会社
陰イオン吸着体、陰イオン吸着体の製造方法、陰イオン吸着方法
1か月前
続きを見る
他の特許を見る