TOP
|
特許
|
意匠
|
商標
特許ウォッチ
Twitter
他の特許を見る
公開番号
2025171198
公報種別
公開特許公報(A)
公開日
2025-11-20
出願番号
2024076280
出願日
2024-05-09
発明の名称
距離計測器を備えた吹付けノズル装置
出願人
戸田建設株式会社
,
清水建設株式会社
,
西松建設株式会社
,
前田建設工業株式会社
,
エフティーエス株式会社
代理人
個人
主分類
E21D
11/10 20060101AFI20251113BHJP(地中もしくは岩石の削孔;採鉱)
要約
【課題】トンネル壁面までの距離を計測する距離計測器を備えた吹付けノズル装置において、前記距離計測器としてレーダー距離計を用いた場合でも吹付け壁面からの反射波を正確に捉えるようにして計測精度の向上を図る。
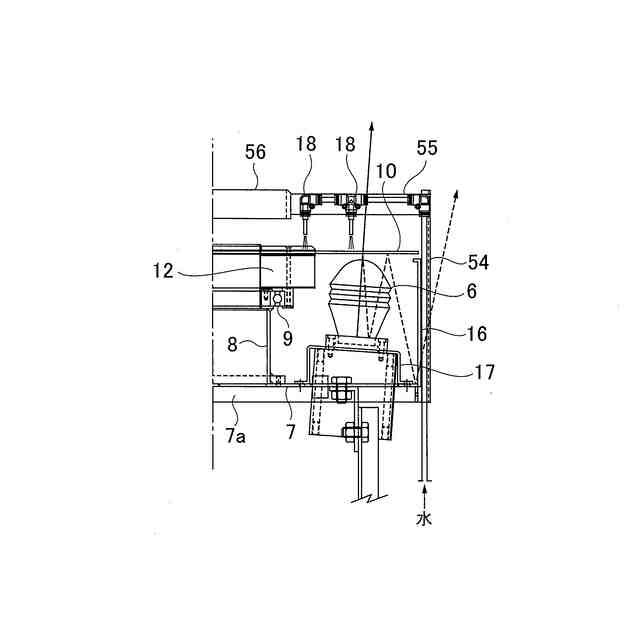
【解決手段】吹付けノズル27の基端部に吹付け方向に対して直交して配置されたベース板7を備えるとともに、このベース板7に対して周方向に適宜の間隔で距離計測器6を複数設置し、これら複数の距離計測器6を覆うために前記ベース板7から離隔して前記距離計測器6からの電波を透過する材料によって形成された円板状の被覆板10を中心軸周りに回転可能に設置するとともに、この被覆板10を回転させる回転手段11を備えた吹付けノズル装置5において、前記距離計測器6としてレーダー距離計を用いるとともに、レーダー距離計6からの電波が前記被覆板10に対して傾斜した入射角度になるように前記レーダー距離計6を傾けて配置する。
【選択図】図4
特許請求の範囲
【請求項1】
吹付けノズルの基端部に吹付け方向に対して直交して配置されたベース板を備えるとともに、このベース板に対して周方向に適宜の間隔でトンネル壁面までの距離を計測するための距離計測器を複数設置し、これら複数の距離計測器を覆うために前記ベース板から離隔して前記距離計測器からの電波を透過する材料によって形成された円板状の被覆板を中心軸周りに回転可能に設置するとともに、この被覆板を回転させる回転手段を備えた吹付けノズル装置において、
前記距離計測器としてレーダー距離計を用いるとともに、レーダー距離計からの電波が前記被覆板に対して傾斜した入射角度になるように前記レーダー距離計を傾けて配置したことを特徴とする距離計測器を備えた吹付けノズル装置。
続きを表示(約 360 文字)
【請求項2】
前記レーダー距離計は、被覆板に対する電波の入射角度が3~10°になるように配置してある請求項1記載の距離計測器を備えた吹付けノズル装置。
【請求項3】
前記被覆板は、樹脂、発泡樹脂又は発泡樹脂複合材によって形成されている請求項1記載の距離計測器を備えた吹付けノズル装置。
【請求項4】
前記被覆板の外面に付着したコンクリートを除去するための洗浄水噴射ノズルが設けられている請求項1記載の距離計測器を備えた吹付けノズル装置。
【請求項5】
前記被覆板の外面に付着したコンクリートを除去するための洗浄水噴射ノズルとともに、前記被覆板の外面に付着したコンクリートを掻き取るためのスクレーパーが設けられている請求項1記載の距離計測器を備えた吹付けノズル装置。
発明の詳細な説明
【技術分野】
【0001】
本発明は、山岳トンネルにおける吹付けに当たって、吹付け面までの距離を計測する距離計測器を備えた吹付けノズル装置に関する。
続きを表示(約 1,900 文字)
【背景技術】
【0002】
例えば、山岳トンネルの施工では、地山中に挿入したロックボルトと掘削壁面に沿って施工した吹付けコンクリートとを主たる支保部材とするNATM工法が主流となっている。掘削方法には、爆薬によって掘削を行う発破工法、TBMと呼ばれる全断面掘削機を用いるTBM工法、カッターブームを持つ自由断面掘削機を用いた機械掘削方法などに大別される。
【0003】
従来より、前述の吹付けコンクリート工事は主に、図7に示されるように、移動可能なクローラ式、タイヤ式又はレール式等の移動台車60に吹付けノズルを保持するブーム61を取付け、このブーム操作によって吹付けノズル62を操作するようにした吹付け機を用いて行っていた。
【0004】
前記吹付け工事は、切羽近傍に吹付け機を設置した状態で、ノズル制御を行うノズルマン、吹付け機の操作を行う吹付け機操作員、吹付けコンクリートを吹付け機に供給する生コン運転手などの作業員によって行われているが、狭隘な空間での苦渋作業になるとともに、例えば換気設備を設けたとしても比較的濃度の濃い粉塵に曝される悪環境下での作業を強いられていた。
【0005】
そこで、近年はトンネルの吹付け作業の自動化、すなわち吹付け作業を遠隔操作によって無人化ないし自動化する試みが成されている。
【0006】
本発明者等においても、下記特許文献1において、NATM工法によるトンネル掘削壁面を対象として、掘削壁面に対して任意の離間距離をおいてトンネル壁面に沿って移動制御可能な多関節ブームの先端に吹付けノズルを保持した吹付け機によって吹付けを行うにあたって、トンネル壁面までの距離を計測する距離計測器を配置し、吹付けノズルをトンネル壁面に沿って移動させ吹付けを行う過程で、吹付けノズルの移動速度を計測するとともに、前記距離計測器によって当該吹付け前と吹付け後の距離を計測することによって当該吹付けによる吹付け厚を計測し、かつこれら吹付けノズルの移動速度と吹付け厚との比例関係式を得ておき、トンネル掘削壁面に凹凸部が存在している条件の下、吹付け材の圧送量を一定としながら吹付けノズルを移動させ吹付けを行う初期の段階で、前記比例関係式に基づき、相対的に凹部では移動速度を遅くし、凸部では移動速度を速くする移動制御を行うことにより吹付け面を平滑化するように修正するトンネルの吹付け制御方法を提案した。
【0007】
更に特許文献2において、トンネル壁面までの距離を計測する距離計測器を備えた吹付けノズル装置において、吹付けノズルの基端部に距離計測器を設置するためのベース板を備えるとともに、このベース板の上面に周方向に適宜の間隔で複数の距離計測器を設置し、前記ベース板から離隔して前記複数の距離計測器を覆うとともに、前記距離計測器からの電波を透過する材料によって形成された円板状の被覆板を中心軸周りに回転可能に設置し、前記被覆板を回転させる回転手段を備え、かつ前記被覆板の外面に付着したコンクリートを除去するための洗浄水噴射ノズルと、前記被覆板の外面に付着したコンクリートを掻き取るためのスクレーパーが設けられた距離計測器を備えた吹付けノズル装置を提案した。
【先行技術文献】
【特許文献】
【0008】
特開2019-167678号公報
特開2023-137318号公報
【発明の概要】
【発明が解決しようとする課題】
【0009】
前述した吹付けノズル装置では、前記距離計測器としては、粉塵などの環境要因等に強いなどの理由により、波長の短いマイクロ波やミリ波を使用しているレーダー距離計を用いるようにしているが、レーダー波自体が他の電波よりも被覆板の影響を受け易いという問題が明らかになった。すなわち、レーダー距離計から発信された電波に対して直交するように被覆板が配置されていると、被覆板からの反射があるとともに、被覆板とレーダー距離計との間で周期的なエコーが発生する。これらのエコーと吹付け壁面からの反射波とが重なり、吹付け壁面からの反射波のみを明確に抽出することが困難となり測定誤差が発生することが問題となった。
【0010】
そこで本発明の主たる課題は、トンネル壁面までの距離を計測する距離計測器を備えた吹付けノズル装置において、前記距離計測器としてレーダー距離計を用いた場合でも吹付け壁面からの反射波を正確に捉えるようにして計測精度の向上を図ることにある。
【課題を解決するための手段】
(【0011】以降は省略されています)
この特許をJ-PlatPat(特許庁公式サイト)で参照する
関連特許
戸田建設株式会社
設計方法
2か月前
戸田建設株式会社
天井構造
2か月前
戸田建設株式会社
凍結破砕管
2か月前
戸田建設株式会社
柱設置方法
2か月前
戸田建設株式会社
照明制御システム
2か月前
戸田建設株式会社
コンクリート構造
1か月前
戸田建設株式会社
議事録作成システム
2か月前
戸田建設株式会社
穿孔情報検知装置及び方法
2日前
戸田建設株式会社
鋼製ブラケットの取付装置
1か月前
戸田建設株式会社
鋼製ブラケットの取付装置
1か月前
戸田建設株式会社
身体冷却装置及び身体冷却服
1か月前
戸田建設株式会社
杭基礎形成方法及びアタッチメント
2か月前
戸田建設株式会社
高炉スラグ微粉末を主材とした充填材
2か月前
戸田建設株式会社
距離計測器を備えた吹付けノズル装置
21日前
戸田建設株式会社
バイブロハンマ及びこれを用いた杭の引抜方法
2か月前
戸田建設株式会社
超高強度吹付けコンクリート及びその吹付け方法
1か月前
戸田建設株式会社
排水窓付型枠及びそれを用いたコンクリートの打設方法
1か月前
戸田建設株式会社
形鋼と鉄筋からなる主鋼材の建込み構造及び建込み方法
1か月前
戸田建設株式会社
仮想輸送経路の提案方法及び仮想輸送経路の提案システム
2か月前
戸田建設株式会社
仮想輸送経路の提案方法及び仮想輸送経路の提案システム
2か月前
戸田建設株式会社
杭と柱梁仕口組立体の接合方法及び杭と柱梁仕口組立体の接合構造
2か月前
戸田建設株式会社
学習済みモデル、情報処理装置、情報処理方法、情報処理プログラム
2か月前
戸田建設株式会社
報知送受信装置、報知システム、消火器スタンド、報知送信装置、及び報知受信装置
2か月前
個人
掘削機
5か月前
日特建設株式会社
切断装置
1か月前
株式会社奥村組
地山探査装置
3か月前
株式会社奥村組
地山探査方法
3か月前
株式会社奥村組
地山探査装置
3か月前
株式会社奥村組
地山探査装置
3か月前
株式会社奥村組
シールド掘進機
6か月前
株式会社奥村組
シールド掘進機
8か月前
株式会社奥村組
シールド掘進機
2か月前
株式会社笠原建設
横孔形成方法
7か月前
日特建設株式会社
削孔システム
21日前
日特建設株式会社
ボーリング装置
8か月前
岐阜工業株式会社
トンネルセントル
2か月前
続きを見る
他の特許を見る