TOP
|
特許
|
意匠
|
商標
特許ウォッチ
Twitter
他の特許を見る
公開番号
2025147948
公報種別
公開特許公報(A)
公開日
2025-10-07
出願番号
2024048476
出願日
2024-03-25
発明の名称
杭と柱梁仕口組立体の接合方法及び杭と柱梁仕口組立体の接合構造
出願人
戸田建設株式会社
代理人
個人
,
個人
,
個人
主分類
E02D
27/12 20060101AFI20250930BHJP(水工;基礎;土砂の移送)
要約
【課題】本発明は、杭30の埋め込み深さの変化に対応可能でありながら施工コストを抑えることができる杭30と柱梁仕口組立体10の接合方法を提供する。
【解決手段】本実施形態に係る杭30と柱梁仕口組立体10の接合方法は、柱梁仕口組立体10を準備し、杭30の杭頭32を囲むと共に杭頭32の埋め込み深さを調整しながら第2鋼管20を設置し、第1鋼管16の下部163が第2鋼管20の内側に入り込み、かつ、下部163の外周面164が第2鋼管20の内周面21に接するように柱梁仕口組立体10を所定位置に設置し、所定位置に設置した状態で、第1鋼管16と第2鋼管20を接合し、第1鋼管16の内側及び第1鋼管16の下端より下方にある第2鋼管20の内側に硬化性充填材22を充填して杭頭32と柱梁仕口組立体10とを一体化する。
【選択図】図1
特許請求の範囲
【請求項1】
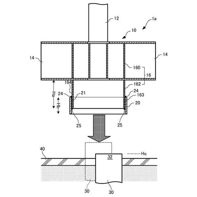
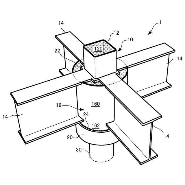
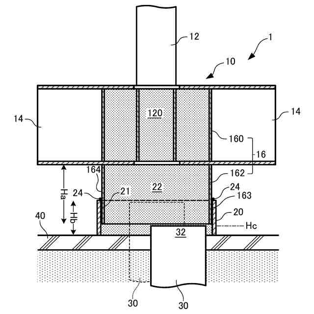
下方に向かって開口する第1鋼管と前記第1鋼管から水平方向へ延びて基礎梁に接合される鉄骨の梁ブラケットとを備える柱梁仕口組立体を準備し、
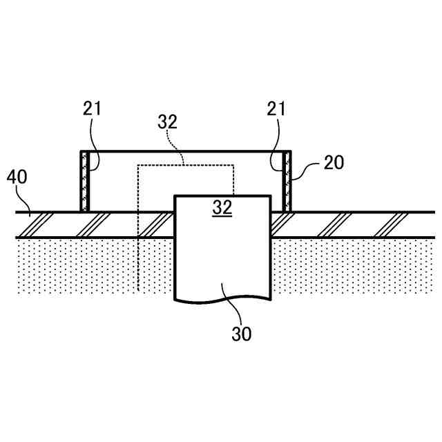
杭の杭頭を囲むと共に前記杭頭の埋め込み深さを調整しながら第2鋼管を設置し、
前記第1鋼管の下部が前記第2鋼管の内側に入り込み、かつ、前記下部の外周面が前記第2鋼管の内周面に接するように前記柱梁仕口組立体を所定位置に設置し、
前記所定位置に設置した状態で、前記第1鋼管と前記第2鋼管を接合し、
前記第1鋼管の内側及び前記第1鋼管の下端より下方にある前記第2鋼管の内側に硬化性充填材を充填して前記杭頭と前記柱梁仕口組立体とを一体化することを特徴とする、杭と柱梁仕口組立体の接合方法。
続きを表示(約 860 文字)
【請求項2】
請求項1に記載の杭と柱梁仕口組立体の接合方法において、
前記第1鋼管の外周面と前記第2鋼管の上端とを溶接により接合することを特徴とする、杭と柱梁仕口組立体の接合方法。
【請求項3】
下方に向かって開口する第1鋼管と前記第1鋼管から水平方向へ延びて基礎梁に接合される鉄骨の梁ブラケットとを備える柱梁仕口組立体を準備し、
杭の杭頭の実測高さに合わせて前記第1鋼管に第2鋼管を接合し、
前記第2鋼管が前記杭頭を囲むように前記柱梁仕口組立体を設置し、
前記第1鋼管の内側及び前記第1鋼管の下端より下方にある前記第2鋼管の内側に硬化性充填材を充填して前記杭頭と前記柱梁仕口組立体とを一体化し、
前記第1鋼管と前記第2鋼管との接合は、前記第1鋼管の下部が前記第2鋼管の内側に入り込み、かつ、前記下部の外周面が前記第2鋼管の内周面に接する状態で行われることを特徴とする、杭と柱梁仕口組立体の接合方法。
【請求項4】
請求項3に記載の杭と柱梁仕口組立体の接合方法において、
前記第1鋼管の外周面と前記第2鋼管の上端とを溶接により接合し、
前記第1鋼管の下端と前記第2鋼管の内周面とを溶接により接合することを特徴とする、杭と柱梁仕口組立体の接合方法。
【請求項5】
下方に向かって開口する第1鋼管と前記第1鋼管から水平方向へ延びて基礎梁に接合される鉄骨の梁ブラケットとを備える柱梁仕口組立体と、
前記第1鋼管と高さ方向で少なくとも一部が重なり、かつ、杭の杭頭と高さ方向で少なくとも一部が重なる第2鋼管と、
前記第1鋼管の外周面と前記第2鋼管の内周面とが接した状態で前記第1鋼管と前記第2鋼管とを接合する接合部と、
前記第1鋼管の内側及び前記第1鋼管の下端より下方にある前記第2鋼管の内側に充填された硬化性充填材と、
を備えることを特徴とする、杭と柱梁仕口組立体の接合構造。
発明の詳細な説明
【技術分野】
【0001】
本発明は、建築物等の基礎に用いられる杭と柱梁仕口組立体の接合方法及び杭と柱梁仕口組立体の接合構造に関する。
続きを表示(約 1,600 文字)
【背景技術】
【0002】
鉄骨基礎工法として、杭の上にフーチングを介して基礎梁を構築する建築物がある。フーチングの構築は、現場で配筋を組んで型枠を設けてコンクリートを打設する鉄筋コンクリート造が一般的であったが、近年、特許文献1に開示されるような杭及び基礎梁の接合構造が多数提案されている。
【0003】
特許文献1の接合構造は、鉄骨の柱と基礎梁にあらかじめ接合された鋼管を杭頭の周りに配置した後に、鋼管内にコンクリートを充填してフーチングを構築する。特許文献1の接合構造によれば、建築現場におけるフーチングのための配筋作業や型枠の仮設・撤去作業が省略でき、基礎工事における大幅な省人化及び短工期化を実現することが期待できる。また、鋼管の内部にコンクリートが充填されたフーチングを用いることにより、この接合構造は地震時等に建築物に作用する水平方向への耐力に優れる。
【先行技術文献】
【特許文献】
【0004】
特開平7-26568号公報
【発明の概要】
【発明が解決しようとする課題】
【0005】
しかしながら、特許文献1の鋼管は鉄骨工場であらかじめ柱と基礎梁とが一体に製作されているため、施工誤差により杭に上下方向のずれが生じた際には杭頭とフーチングの間の杭の埋め込み深さが変化することになる。そして、埋め込み深さの変化を見込んだ設計は困難である。
【0006】
そこで、本発明は、埋め込み深さの変化に対応可能である杭と柱梁仕口組立体の接合方法及び杭と柱梁仕口組立体の接合構造を提供することを目的とする。
【課題を解決するための手段】
【0007】
本発明は上述の課題の少なくとも一部を解決するためになされたものであり、以下の態様または適用例として実現することができる。
【0008】
[1]本発明に係る杭と柱梁仕口組立体の接合方法の一態様は、
下方に向かって開口する第1鋼管と前記第1鋼管から水平方向へ延びて基礎梁に接合される鉄骨の梁ブラケットとを備える柱梁仕口組立体を準備し、
杭の杭頭を囲むと共に前記杭頭の埋め込み深さを調整しながら第2鋼管を設置し、
前記第1鋼管の下部が前記第2鋼管の内側に入り込み、かつ、前記下部の外周面が前記第2鋼管の内周面に接するように前記柱梁仕口組立体を所定位置に設置し、
前記所定位置に設置した状態で、前記第1鋼管と前記第2鋼管を接合し、
前記第1鋼管の内側及び前記第1鋼管の下端より下方にある前記第2鋼管の内側に硬化性充填材を充填して前記杭頭と前記柱梁仕口組立体とを一体化することを特徴とする。
【0009】
[2]上記杭と柱梁仕口組立体の接合方法の一態様において、
前記第1鋼管の外周面と前記第2鋼管の上端とを溶接により接合することができる。
【0010】
[3]本発明に係る杭と柱梁仕口組立体の接合方法の一態様は、
下方に向かって開口する第1鋼管と前記第1鋼管から水平方向へ延びて基礎梁に接合される鉄骨の梁ブラケットとを備える柱梁仕口組立体を準備し、
杭の杭頭の実測高さに合わせて前記第1鋼管に第2鋼管を接合し、
前記第2鋼管が前記杭頭を囲むように前記柱梁仕口組立体を設置し、
前記第1鋼管の内側及び前記第1鋼管の下端より下方にある前記第2鋼管の内側に硬化性充填材を充填して前記杭頭と前記柱梁仕口組立体とを一体化し、
前記第1鋼管と前記第2鋼管との接合は、前記第1鋼管の下部が前記第2鋼管の内側に入り込み、かつ、前記下部の外周面が前記第2鋼管の内周面に接する状態で行われることを特徴とする。
(【0011】以降は省略されています)
この特許をJ-PlatPat(特許庁公式サイト)で参照する
関連特許
戸田建設株式会社
設計方法
1か月前
戸田建設株式会社
コンクリート構造
23日前
戸田建設株式会社
鋼製ブラケットの取付装置
23日前
戸田建設株式会社
鋼製ブラケットの取付装置
23日前
戸田建設株式会社
身体冷却装置及び身体冷却服
1か月前
戸田建設株式会社
超高強度吹付けコンクリート及びその吹付け方法
1か月前
戸田建設株式会社
形鋼と鉄筋からなる主鋼材の建込み構造及び建込み方法
23日前
戸田建設株式会社
排水窓付型枠及びそれを用いたコンクリートの打設方法
1か月前
戸田建設株式会社
仮想輸送経路の提案方法及び仮想輸送経路の提案システム
1か月前
戸田建設株式会社
学習済みモデル、情報処理装置、情報処理方法、情報処理プログラム
1か月前
戸田建設株式会社
報知送受信装置、報知システム、消火器スタンド、報知送信装置、及び報知受信装置
1か月前
個人
バケット
20日前
個人
建物の不同沈下の修正方法
27日前
鹿島建設株式会社
接続方法
今日
株式会社大林組
操縦装置
23日前
株式会社富田製作所
継手部構造
20日前
千代田工営株式会社
回転貫入杭
1か月前
株式会社熊谷組
山留壁用親杭
1か月前
日立建機株式会社
作業車両
1か月前
ヤンマーホールディングス株式会社
作業機械
1か月前
ヤンマーホールディングス株式会社
作業機械
1か月前
日立建機株式会社
建設機械
13日前
日本車輌製造株式会社
建設機械
1か月前
日立建機株式会社
作業機械
1か月前
日立建機株式会社
作業機械
12日前
日立建機株式会社
作業機械
1か月前
FKS株式会社
擁壁及び擁壁の築造方法
22日前
株式会社三誠
建物の免震構造
27日前
鹿島建設株式会社
接続方法および接続構造
1か月前
株式会社次世代一次産業実践所
登山道の施工装置
28日前
株式会社竹内製作所
作業用車両
1か月前
株式会社竹内製作所
作業用車両
1か月前
株式会社竹内製作所
作業用車両
1か月前
株式会社竹内製作所
作業用車両
1か月前
山形新興株式会社
建築物の基礎及び基礎成形型
1か月前
個人
アンカーボルト支持装置
1か月前
続きを見る
他の特許を見る