TOP
|
特許
|
意匠
|
商標
特許ウォッチ
Twitter
他の特許を見る
10個以上の画像は省略されています。
公開番号
2025162391
公報種別
公開特許公報(A)
公開日
2025-10-27
出願番号
2024065663
出願日
2024-04-15
発明の名称
形鋼と鉄筋からなる主鋼材の建込み構造及び建込み方法
出願人
戸田建設株式会社
代理人
個人
主分類
E04C
5/02 20060101AFI20251020BHJP(建築物)
要約
【課題】形鋼と鉄筋からなる主鋼材の建込みを簡単かつ安定的に行うとともに、施工精度の向上と省力化を図る。
【解決手段】形鋼7と鉄筋8を主鋼材2とするコンクリート構造物1における前記主鋼材2の建込み構造であって、前記形鋼7と鉄筋8とが支持部材10によりユニット化されてユニット鋼材Mが形成されており、前記ユニット鋼材Mを軸方向に順次連結することにより主鋼材2が構成される。支持部材10は、形鋼7に対する鉄筋8の支持位置が微調整可能な微調整機構11を備えている。鉄筋8同士を軸方向に接続する機械式継手16を一方の鉄筋8に取り付けた状態で、機械式継手16の開口部に、他方の鉄筋8を挿入する際のガイドのため、漏斗状のガイド部材17が取り付けられる。
【選択図】図8
特許請求の範囲
【請求項1】
形鋼と鉄筋を主鋼材とするコンクリート構造物における前記主鋼材の建込み構造であって、
前記形鋼と前記鉄筋とが支持部材によりユニット化されてユニット鋼材が形成されており、
前記ユニット鋼材を軸方向に順次連結することにより前記主鋼材が構成されていることを特徴とする形鋼と鉄筋からなる主鋼材の建込み構造。
続きを表示(約 1,000 文字)
【請求項2】
前記支持部材は、前記形鋼に対する前記鉄筋の支持位置が微調整可能な微調整機構を備えている請求項1記載の形鋼と鉄筋からなる主鋼材の建込み構造。
【請求項3】
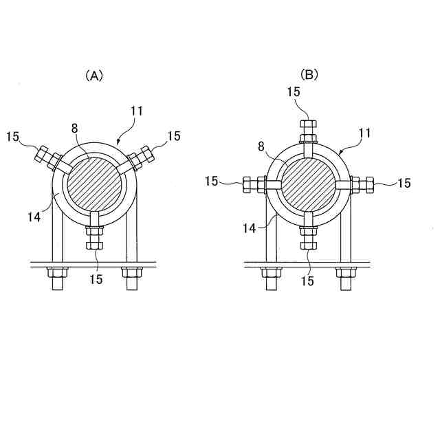
前記微調整機構は、前記鉄筋を遊嵌状態で外嵌する外嵌部材と、この外嵌部材の外周面から内空部に貫通して螺合され、先端が前記鉄筋の外周面に当接して配置される微調整用ボルトとから構成されている請求項2記載の形鋼と鉄筋からなる主鋼材の建込み構造。
【請求項4】
前記支持部材は、前記形鋼に直交して固定された横架材に対し、前記鉄筋が固定支持されて構成されている請求項1記載の形鋼と鉄筋からなる主鋼材の建込み構造。
【請求項5】
前記鉄筋同士を軸方向に接続する機械式継手を一方の前記鉄筋に取り付けた状態で、前記機械式継手の開口部に、他方の鉄筋を挿入する際のガイドのため、漏斗状のガイド部材が取り付けられている請求項1記載の形鋼と鉄筋からなる主鋼材の建込み構造。
【請求項6】
前記ガイド部材は、前記鉄筋の周方向に対して複数に分割されており、前記鉄筋を前記機械式継手に挿入後、取り外しできるようになっている請求項5記載の形鋼と鉄筋からなる主鋼材の建込み構造。
【請求項7】
前記形鋼同士を軸方向に接続する添接板を一方の前記形鋼に取り付けた状態で、前記添接板間に他方の形鋼を挿入する際のガイドのため、前記添接板の突出側の端部に、前記添接板間の離隔幅が突出側に向けて漸次拡大する離隔幅拡大部が形成されている請求項1記載の形鋼と鉄筋からなる主鋼材の建込み構造。
【請求項8】
前記形鋼として、フランジの外面に所定パターンの突起を備えた縞H形鋼が用いられている請求項1記載の形鋼と鉄筋からなる主鋼材の建込み構造。
【請求項9】
上記請求項2記載の形鋼と鉄筋からなる主鋼材の建込み構造を建て込む際の建込み方法であって、
前記ユニット鋼材を建て込む際の吊り上げ時は、前記微調整機構を固定状態として前記鉄筋を前記形鋼に固定しておき、前記ユニット鋼材の接合時は、前記微調整機構を調整して前記鉄筋の位置調整を行い、前記ユニット鋼材の接合後は、前記微調整機構を固定状態として接合時の位置で前記鉄筋を前記形鋼に固定することを特徴とする形鋼と鉄筋からなる主鋼材の建込み方法。
発明の詳細な説明
【技術分野】
【0001】
本発明は、H形鋼などの形鋼と異形棒鋼などの鉄筋とからなるハイブリッド構造を軸方向主鋼材とするコンクリート構造物における前記主鋼材の建込み構造及び建込み方法に関する。
続きを表示(約 1,400 文字)
【背景技術】
【0002】
道路橋等の橋脚を鉄筋コンクリートで構成する場合、下記特許文献1などに開示されるように、据付現場にて、軸方向主鉄筋、帯鉄筋及び中間帯鉄筋等を配筋し、その外周に型枠を設置した上で、内部にコンクリートを打設する方法が知られている。しかしながら、軸方向主鋼材を鉄筋のみで構成した場合、軸方向主鉄筋の数量(本数)が多くなるため、施工の手間が増加し、工期が長期化する欠点がある。
【0003】
また、下記特許文献2などに開示されるように、軸方向主鉄筋に代えてH形鋼などの形鋼を用いる工法についても公知である。ところが、形鋼のみを軸方向主鋼材とする場合は、断面積が小さいため、断面の応力度が不足する欠点があり、構造物の外周側に列設した主鋼材に並列して、その中心側にも主鋼材を配置しなければならず、その場合には中心側の主鋼材が応力的に機能の無駄が生じる問題があった。
【先行技術文献】
【特許文献】
【0004】
特開2001-115418号公報
特開平11-152899号公報
【発明の概要】
【発明が解決しようとする課題】
【0005】
これらの欠点を解決したものとして、形鋼と鉄筋のハイブリッド構造を軸方向主鋼材とするコンクリート構造物が知られている。ところが、このようなハイブリッド構造の主鋼材では、形鋼と鉄筋をそれぞれ建て込むのに手間が掛かるため現場での省力化や施工精度の向上が望まれていた。また、鉄筋を建込む場合、鉄筋の下部でしか固定できず、鉄筋の上部が固定されないため、不安定になる問題があった。
【0006】
そこで本発明の主たる課題は、形鋼と鉄筋からなる主鋼材の建込みを簡単かつ安定的に行うことができ、施工精度の向上と省力化を図った主鋼材の建込み構造及び建込み方法を提供することにある。
【課題を解決するための手段】
【0007】
前記課題を解決するために請求項1に係る本発明として、形鋼と鉄筋を主鋼材とするコンクリート構造物における前記主鋼材の建込み構造であって、
前記形鋼と前記鉄筋とが支持部材によりユニット化されてユニット鋼材が形成されており、
前記ユニット鋼材を軸方向に順次連結することにより前記主鋼材が構成されていることを特徴とする形鋼と鉄筋からなる主鋼材の建込み構造が提供される。
【0008】
上記請求項1記載の発明では、所定長さの形鋼と鉄筋とが支持部材によりユニット化されてユニット鋼材が形成されており、このユニット鋼材を軸方向に順次連結することにより主鋼材が構成されているため、主鋼材の建込みを簡単に行うことができるとともに、形鋼と鉄筋をそれぞれ単独で建込む場合と比較して建込み作業の省力化及び施工精度の向上を図ることができ、かつ鉄筋が形鋼に支持された状態で安定した建込みを行うことができるようになる。
【0009】
請求項2に係る本発明として、前記支持部材は、前記形鋼に対する前記鉄筋の支持位置が微調整可能な微調整機構を備えている請求項1記載の形鋼と鉄筋からなる主鋼材の建込み構造が提供される。
【0010】
上記請求項2記載の発明では、前記支持部材に鉄筋の支持位置が微調整可能な微調整機構が備えられているため、既設の鉄筋に新設の鉄筋を建込む際の施工精度の向上及び建込み作業の省力化が図れる。
(【0011】以降は省略されています)
この特許をJ-PlatPat(特許庁公式サイト)で参照する
関連特許
戸田建設株式会社
建築物
1か月前
戸田建設株式会社
測量機
2か月前
戸田建設株式会社
建築物
1か月前
戸田建設株式会社
測量機
1か月前
戸田建設株式会社
天井構造
25日前
戸田建設株式会社
基礎構造
2か月前
戸田建設株式会社
設計方法
19日前
戸田建設株式会社
凍結破砕管
20日前
戸田建設株式会社
柱設置方法
25日前
戸田建設株式会社
空調制御システム
1か月前
戸田建設株式会社
コンクリート構造
1日前
戸田建設株式会社
照明制御システム
25日前
戸田建設株式会社
モルタルの除去方法
2か月前
戸田建設株式会社
議事録作成システム
21日前
戸田建設株式会社
基礎フーチング設計方法
29日前
戸田建設株式会社
建物改修方法及び雑壁構造
29日前
戸田建設株式会社
鋼製ブラケットの取付装置
1日前
戸田建設株式会社
鋼製ブラケットの取付装置
1日前
戸田建設株式会社
身体冷却装置及び身体冷却服
2か月前
戸田建設株式会社
身体冷却装置及び身体冷却服
12日前
戸田建設株式会社
植栽選定システム及び植栽選定方法
1か月前
フクビ化学工業株式会社
折板屋根
1か月前
戸田建設株式会社
杭基礎形成方法及びアタッチメント
25日前
戸田建設株式会社
高炉スラグ微粉末を主材とした充填材
19日前
戸田建設株式会社
カッタ制御システム及びカッタ制御方法
2か月前
戸田建設株式会社
情報処理方法、プログラムおよび情報処理装置
29日前
戸田建設株式会社
バイブロハンマ及びこれを用いた杭の引抜方法
19日前
戸田建設株式会社
情報処理方法、プログラムおよび情報処理装置
29日前
戸田建設株式会社
情報処理方法、プログラムおよび情報処理装置
29日前
戸田建設株式会社
超高強度吹付けコンクリート及びその吹付け方法
14日前
戸田建設株式会社
排水窓付型枠及びそれを用いたコンクリートの打設方法
11日前
戸田建設株式会社
形鋼と鉄筋からなる主鋼材の建込み構造及び建込み方法
1日前
戸田建設株式会社
仮想輸送経路の提案方法及び仮想輸送経路の提案システム
26日前
戸田建設株式会社
仮想輸送経路の提案方法及び仮想輸送経路の提案システム
18日前
戸田建設株式会社
杭と柱梁仕口組立体の接合方法及び杭と柱梁仕口組立体の接合構造
21日前
戸田建設株式会社
学習済みモデル、情報処理装置、情報処理方法、情報処理プログラム
18日前
続きを見る
他の特許を見る