TOP
|
特許
|
意匠
|
商標
特許ウォッチ
Twitter
他の特許を見る
10個以上の画像は省略されています。
公開番号
2025150471
公報種別
公開特許公報(A)
公開日
2025-10-09
出願番号
2024051352
出願日
2024-03-27
発明の名称
バイブロハンマ及びこれを用いた杭の引抜方法
出願人
戸田建設株式会社
,
アジア海洋株式会社
代理人
個人
主分類
E02D
9/02 20060101AFI20251002BHJP(水工;基礎;土砂の移送)
要約
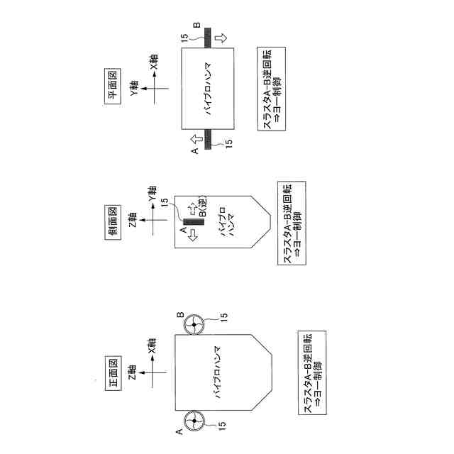
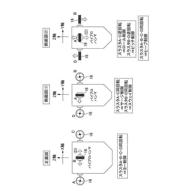
【課題】洋上風力発電設備などの海上構造物を係留するための杭式アンカーなどを打設するために用いられるバイブロハンマに関して、少なくとも水中でバイブロハンマのZ軸周りの回転方向姿勢(ヨー)を制御可能とする。
【解決手段】バイブロハンマ8に、少なくともZ軸周りの回転方向姿勢(ヨー)を制御するためのスラスタ15を設ける。好ましくは、Z軸周りの回転方向姿勢(ヨー)、Z軸方向の移動(ヒーブ)、Y軸周りの回転方向姿勢(ロール)、Y軸方向の移動(サージ)、X軸回りの回転方向姿勢(ピッチ)、X軸方向の移動(スウェイ)の6自由度の内、前記少なくともZ軸周りの回転方向姿勢(ヨー)を含む複数の自由度を制御するためのスラスタ15を備えるようにする。
【選択図】図4
特許請求の範囲
【請求項1】
水中で用いられるバイブロハンマであって、
前記バイブロハンマに、少なくともZ軸周りの回転方向姿勢(ヨー)を制御するためのスラスタを設けたことを特徴とするバイブロハンマ。
続きを表示(約 900 文字)
【請求項2】
Z軸周りの回転方向姿勢(ヨー)、Z軸方向の移動(ヒーブ)、Y軸周りの回転方向姿勢(ロール)、Y軸方向の移動(サージ)、X軸回りの回転方向姿勢(ピッチ)、X軸方向の移動(スウェイ)の6自由度の内、前記少なくともZ軸周りの回転方向姿勢(ヨー)を含む複数の自由度を制御するためのスラスタを備える請求項1記載のバイブロハンマ。
【請求項3】
前記スラスタとして、360°回転可能な旋回式スラスタを用いる請求項2記載のバイブロハンマ。
【請求項4】
請求項1~3いずれかに記載のバイブロハンマを用いて水底に打設した杭を引抜くための引抜方法であって、
前記杭には、杭上端部の中央に前記バイブロハンマの左右一対のチャックによって挟持するためのチャッキングプレートを設けるとともに、杭の上端周縁に上方向に向かって拡がる漏斗形状のガイドコーンを設けておく一方、
前記バイブロハンマの左右一対のチャックの一方側に鉛直方向に延びる相対的に長さの長い長尺ガイドバーを設けるとともに、チャックの他方側に鉛直方向に延びる相対的に長さの短い短尺ガイドバーを設けておき、
前記バイブロハンマの長尺ガイドバーの先端を杭のガイドコーンに当接させた状態とする第1ステップと、
前記長尺ガイドバーの先端をガイドコーンに当接させた状態で、前記長尺ガイドバーをガイドコーンによるガイドによって杭の中央側まで誘導することによりバイブロハンマを杭の上部位置に位置決めする第2ステップと、
その状態からバイブロハンマを下方向に移動させることにより長尺ガイドバーと短尺ガイドバーとを前記チャッキングプレートを跨いだ状態で杭の内部側に挿入させることにより左右一対のチャックを前記チャッキングプレートを挟持可能な位置に誘導する第3ステップと、
前記バイブロハンマの左右一対のチャックで前記チャッキングプレートを挟持した後、振動を与えながら上方向に移動させることにより杭を引き抜く第4ステップとからなることを特徴とするバイブロハンマによる杭の引抜方法。
発明の詳細な説明
【技術分野】
【0001】
本発明は、洋上風力発電設備などの海上構造物を係留するための杭式アンカー、鋼矢板、基礎杭などを打設するために用いられるバイブロハンマ及びこれを用いた杭の引抜方法に関する。
続きを表示(約 1,800 文字)
【背景技術】
【0002】
近年、環境や自然エネルギーの有効活用の点から自然風を利用して発電を行う風力発電設備が注目されている。この風力発電設備には、陸上設置式と、水上(主として海上)設置式とがあるが、沿岸域から後背に山岳地帯をかかえる我が国の場合は、沿岸域に安定した風が見込める平野が少ない状況にある一方、日本は四方を海で囲まれており、海上は発電に適した風が容易に得られるとともに、設置上の制約が少ないなどの利点を有する。そこで、近年は多くの洋上風力発電設備が建設されている。
【0003】
前記洋上風力発電設備を海上の一定位置に保持するために浮体の一旦に連結した係留索(チェーン、ワイヤー等)の他端を海底に設置したアンカーに連結して係留させるようにしている。従来より前記アンカーの一つとして杭式アンカーが多用されている。杭式アンカーの施工方法としては、水圧を利用したサクション方式、油圧ハンマによる打撃方式、バイブロハンマによる振動方式がある。しかし、サクション方式は粘性土のように透水係数が低い地盤以外ではボイリングやパイピングの発生により適用が困難である。油圧ハンマによる打撃方式を採用した場合は、杭式アンカーの引抜きには適用できないため別途引抜き用の装置を用意する必要があった。その結果、水中での杭の打設や杭の引抜きにはバイブロハンマによる振動方式が多く採用されてきた(特許文献1等参照)。
【先行技術文献】
【特許文献】
【0004】
特開平8-53840号公報
【発明の概要】
【発明が解決しようとする課題】
【0005】
しかしながら、洋上風力発電設備の建設に際して、海上でバイブロハンマを用いて水中で杭式アンカー打設を行うとなると、
(1)水深が比較的浅い場合は、バイブロハンマの位置は、バイブロハンマを吊持するクレーンの操作で制御可能であるとしても、やはりバイブロハンマの向き(Z軸周りの回転方向姿勢<ヨー>)を所定の方向に制御することは困難であった。
(2)水深が深い場合、潮流によりバイブロハンマが流されると、バイブロハンマの位置はクレーン操作だけでは制御不能となり正規の位置に杭式アンカーを打設することが困難であった。仮に、水深300mで鉛直から3°の角度で水面から海底面までずれるとした場合、tan30°≒15mほどずれることになる。また、潮流によってバイブロハンマが傾斜姿勢状態になったりこともあるため、鉛直方向に沿って杭式アンカーを打設することが困難であるなどの問題もあった。
【0006】
一方で、上記バイブロハンマを用いた杭式アンカーの引抜き作業に際して、潮流の影響によりバイブロハンマのチャックを杭式アンカーの把持部(チャッキングプレート)まで誘導することが難しい作業となっているなどの問題もあった。
【0007】
そこで本発明の第1の課題は、洋上風力発電設備などの海上構造物を係留するための杭式アンカー、鋼矢板、基礎杭などを水中で打設するために用いられるバイブロハンマに関して、少なくとも水中でバイブロハンマのZ軸周りの回転方向姿勢(ヨー)を制御可能とすること、好ましくは6自由度の内、Z軸周りの回転方向姿勢(ヨー)を含む複数の自由度を制御することによって、正規の位置に正しい向きで打設できるようにすることにある。
【0008】
第2の目的には、前記バイブロハンマを用いた杭の引抜きに際して、バイブロハンマを用いて確実に杭を把持できるようにして引抜作業を効率的に行えるようにすることにある。
【課題を解決するための手段】
【0009】
上記課題を解決するために請求項1に係る本発明として、水中で用いられるバイブロハンマであって、
前記バイブロハンマに、少なくともZ軸周りの回転方向姿勢(ヨー)を制御するためのスラスタを設けたことを特徴とするバイブロハンマが提供される。
【0010】
上記請求項1記載の発明では、バイブロハンマに、少なくともZ軸周りの回転方向姿勢(ヨー)を制御するためのスラスタを設けるようにしたものである。従って、前記スラスタを駆動させることによりバイブロハンマのZ軸周りの回転方向姿勢(ヨー)を制御することが可能になり杭などを所定に向きにきっちりと打設することが可能になる。
(【0011】以降は省略されています)
この特許をJ-PlatPat(特許庁公式サイト)で参照する
関連特許
戸田建設株式会社
コンクリート構造
1か月前
戸田建設株式会社
鋼製ブラケットの取付装置
1か月前
戸田建設株式会社
鋼製ブラケットの取付装置
1か月前
戸田建設株式会社
身体冷却装置及び身体冷却服
1か月前
戸田建設株式会社
距離計測器を備えた吹付けノズル装置
12日前
戸田建設株式会社
超高強度吹付けコンクリート及びその吹付け方法
1か月前
戸田建設株式会社
形鋼と鉄筋からなる主鋼材の建込み構造及び建込み方法
1か月前
戸田建設株式会社
排水窓付型枠及びそれを用いたコンクリートの打設方法
1か月前
戸田建設株式会社
仮想輸送経路の提案方法及び仮想輸送経路の提案システム
1か月前
戸田建設株式会社
学習済みモデル、情報処理装置、情報処理方法、情報処理プログラム
1か月前
個人
バケット
1か月前
個人
建物の不同沈下の修正方法
1か月前
鹿島建設株式会社
接続方法
13日前
株式会社大林組
操縦装置
1か月前
株式会社富田製作所
継手部構造
1か月前
千代田工営株式会社
回転貫入杭
1か月前
株式会社郷土開発
傾斜地の切土工法
12日前
ウエダ産業株式会社
アタッチメント
4日前
株式会社クボタ
作業機
12日前
日立建機株式会社
作業機械
25日前
ヤンマーホールディングス株式会社
作業機械
1か月前
ヤンマーホールディングス株式会社
作業機械
1か月前
日立建機株式会社
作業機械
1か月前
日立建機株式会社
建設機械
26日前
FKS株式会社
擁壁及び擁壁の築造方法
1か月前
株式会社次世代一次産業実践所
登山道の施工装置
1か月前
株式会社三誠
建物の免震構造
1か月前
山形新興株式会社
建築物の基礎及び基礎成形型
1か月前
日本車輌製造株式会社
杭打機の表示システム
28日前
ナブテスコ株式会社
ドーザブレード駆動機構
25日前
個人
アンカーボルト支持装置
1か月前
日本車輌製造株式会社
杭打機の制御システム
1か月前
株式会社大林組
施工支援装置及び施工支援方法
1か月前
株式会社大林組
施工支援装置及び施工支援方法
1か月前
株式会社大林組
施工支援装置及び施工支援方法
1か月前
株式会社大林組
評価支援装置及び評価支援方法
1か月前
続きを見る
他の特許を見る