TOP
|
特許
|
意匠
|
商標
特許ウォッチ
Twitter
他の特許を見る
10個以上の画像は省略されています。
公開番号
2025146044
公報種別
公開特許公報(A)
公開日
2025-10-03
出願番号
2024046619
出願日
2024-03-22
発明の名称
杭基礎形成方法及びアタッチメント
出願人
戸田建設株式会社
代理人
弁理士法人東京アルパ特許事務所
主分類
E02D
5/34 20060101AFI20250926BHJP(水工;基礎;土砂の移送)
要約
【課題】埋設された杭を掘り出すときに、杭の主筋が曲がってしまうのを防ぎ、余盛コンクリート部分をそのまま撤去できるようにする。
【解決手段】アタッチメント50は、油圧ショベルのアームに対して左右方向に回動可能に固定される基部52と、杭の主筋よりも細く、杭の上端面から主筋の上端までの長さよりも長く、基部52から下向きに延び、左右方向に離間して配列された複数の鉄筋54とを有する。アタッチメント50を取り付けた油圧ショベルを用いて、杭の主筋の上端部分の周辺の土を掻き出す。
【選択図】図9
特許請求の範囲
【請求項1】
上端面を有するコンクリートと前記コンクリートのなかに埋め込まれ前記上端面から上端部分が上方向に延びて露出し地表より低い位置に上端がある主筋とを有する杭を、前記地表から下方向へ向けて掘削された杭穴のなかに造成し、
前記杭が造成された前記杭穴を埋め戻すことにより前記杭を埋設し、
埋め戻された前記杭穴の周囲を掘削して、前記主筋の前記上端部分の周辺の土を残し、
アタッチメントが取り付けられた油圧ショベルを用いて、周囲が掘削された前記主筋の前記上端部分の周辺の土を掻き出し、
前記アタッチメントは、
前記油圧ショベルのアームに対して左右方向に回動可能に固定される基部と、
前記主筋よりも細く、前記杭の上端面から前記主筋の上端までの長さよりも長く、前記基部から下向きに延び、前記左右方向に離間して配列された複数の鉄筋と
を有する、
杭基礎形成方法。
続きを表示(約 970 文字)
【請求項2】
前記杭の埋設において、
前記杭穴のなかに土を投入して、前記主筋の上端よりも高く前記地表よりも低い位置まで、前記杭穴を埋め戻し、
前記杭穴のなかに投入された土の上に、着色された砂を投入して、前記地表よりも低い位置まで、前記杭穴を埋め戻し、
前記杭穴のなかに投入された砂の上に、土を投入して、前記杭穴を埋め戻し、
前記杭穴の周囲の掘削において、
埋め戻した前記杭穴を含む範囲を掘削することにより、前記杭穴を埋め戻した前記砂を露出させ、
露出した前記砂を目印にして、埋め戻された前記杭穴の周囲を掘削する、
請求項1の杭基礎形成方法。
【請求項3】
前記杭穴のなかに造成される前記杭は、前記主筋の前記上端部分が挿入され前記主筋の上端より高く前記地表より低い位置に上端がある管状部材を更に有し、
前記砂の投入による前記杭穴の埋め戻しにおいて、
前記管状部材の上端よりも低い位置まで、前記杭穴を埋め戻す、
請求項2の杭基礎形成方法。
【請求項4】
前記アタッチメントは、前記油圧ショベルのバケットに着脱可能に固定される取り付け部を更に有し、
前記アタッチメントの前記基部は、前記取り付け部に回動可能に固定される、
請求項1乃至3いずれかの杭基礎形成方法。
【請求項5】
前記アタッチメントの複数の前記鉄筋は、前記基部に着脱可能に固定されている、
請求項1乃至3いずれかの杭基礎形成方法。
【請求項6】
上端面を有するコンクリートと前記コンクリートのなかに埋め込まれ前記上端面から上端部分が上方向に延びて露出し地表より低い位置に上端がある主筋とを有し前記地表から下方向へ向けて掘削された杭穴のなかに造成され前記杭穴を埋め戻すことにより埋設された杭の前記主筋の前記上端部分の周辺の土を掻き出すために使用され、
油圧ショベルのアームに対して左右方向に回動可能に固定される基部と、
前記主筋よりも細く、前記杭の上端面から前記主筋の上端までの長さよりも長く、前記基部から下向きに延び、前記左右方向に離間して配列された複数の鉄筋と
を備える、アタッチメント。
発明の詳細な説明
【技術分野】
【0001】
この発明は、杭基礎形成方法及びアタッチメントに関する。
続きを表示(約 2,300 文字)
【背景技術】
【0002】
特許文献1は、予めコンクリート中に埋設させた冷凍管を凍結膨張させてひび割れを発生させ、そのひび割れ部分を境にして、現場造成杭の余盛コンクリート部分を撤去する杭頭処理工法を開示している。
【先行技術文献】
【特許文献】
【0003】
特開2021-143547号公報
【発明の概要】
【発明が解決しようとする課題】
【0004】
現場造成杭は、地表から杭穴を掘削してそのなかに杭を造成したのち、杭穴を埋め戻していったん杭全体を埋設する場合がある。
そして、埋設された杭を再び掘り出す際、埋設された杭の上端面から上方向に延びる主筋に重機が接触して主筋を曲げてしまう場合がある。
特許文献1の杭頭処理工法では、主筋が曲がっていると、余盛コンクリート部分をそのまま撤去することができず、余盛コンクリートの一部を斫る必要が生じる。
この発明は、例えばこのような課題を解決して、主筋が曲がってしまうのを防ぎ、余盛コンクリート部分をそのまま撤去できるようにすることを目的とする。
【課題を解決するための手段】
【0005】
上端面を有するコンクリートと前記コンクリートのなかに埋め込まれ前記上端面から上端部分が上方向に延びて露出し地表より低い位置に上端がある主筋とを有する杭を、前記地表から下方向へ向けて掘削された杭穴のなかに造成する。前記杭が造成された前記杭穴を埋め戻すことにより前記杭を埋設する。埋め戻された前記杭穴の周囲を掘削して、前記主筋の前記上端部分の周辺の土を残す。アタッチメントが取り付けられた油圧ショベルを用いて、周囲が掘削された前記主筋の前記上端部分の周辺の土を掻き出す。前記アタッチメントは、前記油圧ショベルのアームに対して左右方向に回動可能に固定される基部と、前記主筋よりも細く、前記杭の上端面から前記主筋の上端までの長さよりも長く、前記基部から下向きに延び、前記左右方向に離間して配列された複数の鉄筋とを有する。
【発明の効果】
【0006】
アタッチメントの鉄筋の長さが、杭の上端面から主筋の上端までの長さよりも長いので、誤ってアタッチメントの基部が杭の主筋に接触して曲げてしまうのを防ぐことができる。また、アタッチメントの鉄筋が杭の主筋よりも細いので、誤ってアタッチメントの鉄筋が杭の主筋に接触しても、アタッチメントの鉄筋のほうが曲がり、杭の鉄筋が曲がるのを防ぐことができる。
【図面の簡単な説明】
【0007】
杭造成工程の一例を示す側面視断面図。
埋め戻し工程の一例を示す側面視断面図。
埋め戻し工程の一例を示す側面視断面図。
埋め戻し工程の一例を示す側面視断面図。
根切り工程の一例を示す側面視断面図。
根切り工程の一例を示す側面視断面図。
根切り工程の一例を示す側面視断面図。
根切り工程の一例を示す側面視断面図。
アタッチメントの一例を示す側面視断面図。
掻き出し工程の一例を示す側面視断面図。
杭頭処理工程の一例を示す側面視断面図。
【発明を実施するための形態】
【0008】
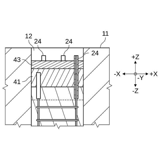
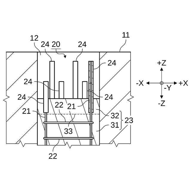
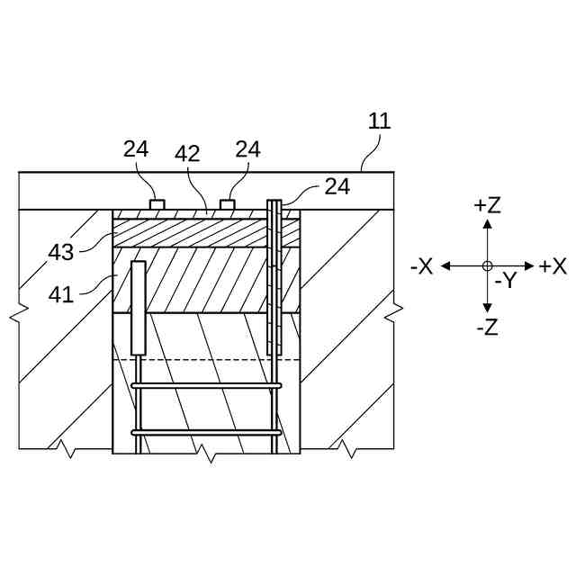
図1を参照して、杭造成工程について説明する。
杭造成工程では、杭20を造成する。杭20は、例えば現場造成杭であり、地表11から下向き(-Z方向)に掘削した杭穴12のなかに、複数の主筋21及び複数の帯筋22を組み立てた骨組みを挿入し、コンクリート23を打設することにより造成される。
コンクリート23は、例えば、本体部分31と、余盛コンクリート32とを有し、例えば特許文献1に記載された技術を用いて境界33にひびを入れることにより、余盛コンクリート32を撤去することができる。
主筋21は、例えば、上下方向(±Z方向)に延びる鉄筋であり、コンクリート23のなかに埋設され、上端部分がコンクリート23の上端面から上(+Z方向)へ向けて延びて露出している。主筋21の上端は、地表11よりも低い位置にある。
主筋21の上端部分は、管状部材24に挿入されて覆われている。
管状部材24の下端は、図示したように余盛コンクリート32のなかに埋め込まれていてもよい。これにより、余盛コンクリート32が主筋21に固着するのを防ぎ、余盛コンクリート32を容易に除去できるようになる。
少なくとも一つの管状部材24の上端は、主筋21の上端よりも高く、かつ、地表11よりも低い位置(例えば、主筋21の上端より約500mm高い位置)にある。
管状部材24は、例えば発泡ウレタンやシース管などであり、比較的柔らかい材料で形成されている。したがって、掘削作業時などにおいて、管状部材24のうち主筋21の上端よりも上にある部分を引っ掛けたとしても、主筋21が曲がることはない。
【0009】
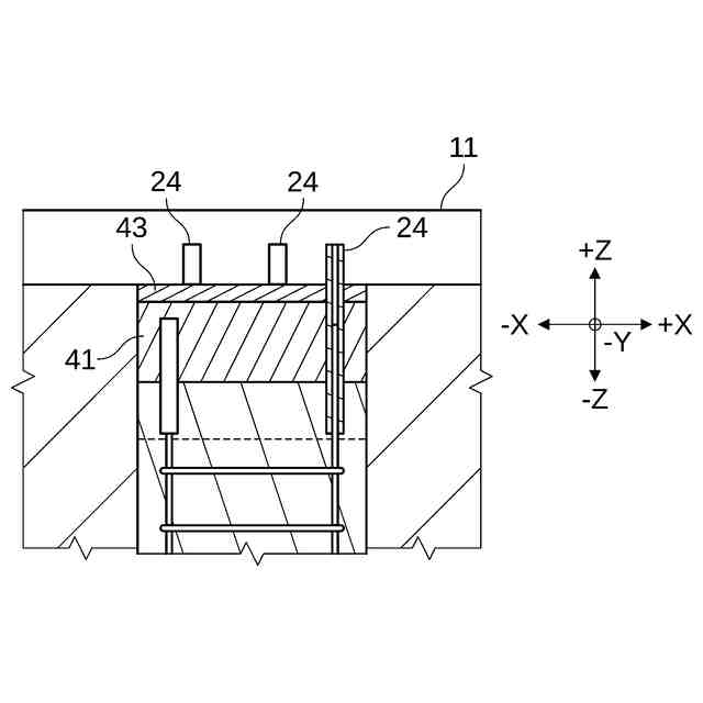
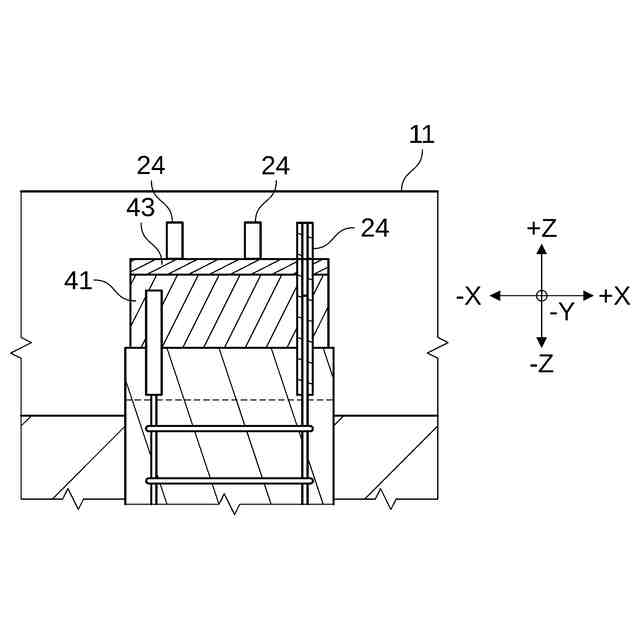
図2~4を参照して、埋め戻し工程について説明する。
埋め戻し工程では、図1で説明した杭造成工程で杭20を造成した杭穴12を埋め戻す。
【0010】
まず、図2に示すように、杭穴12のなかに土41を投入して、主筋21の上端よりも高い位置まで杭穴12を埋め戻す。ただし、少なくとも一つの管状部材24の上端が土41の上に露出するよう、少なくとも一つの管状部材24の上端よりも低い位置までで止める。例えば、主筋21の上端よりも約300mm高い位置まで埋め戻す。
(【0011】以降は省略されています)
この特許をJ-PlatPat(特許庁公式サイト)で参照する
関連特許
戸田建設株式会社
測量機
2か月前
戸田建設株式会社
建築物
2か月前
戸田建設株式会社
建築物
1か月前
戸田建設株式会社
設計方法
1か月前
戸田建設株式会社
天井構造
1か月前
戸田建設株式会社
柱設置方法
1か月前
戸田建設株式会社
凍結破砕管
1か月前
戸田建設株式会社
コンクリート構造
23日前
戸田建設株式会社
空調制御システム
2か月前
戸田建設株式会社
照明制御システム
1か月前
戸田建設株式会社
モルタルの除去方法
2か月前
戸田建設株式会社
議事録作成システム
1か月前
戸田建設株式会社
基礎フーチング設計方法
1か月前
戸田建設株式会社
建物改修方法及び雑壁構造
1か月前
戸田建設株式会社
鋼製ブラケットの取付装置
23日前
戸田建設株式会社
鋼製ブラケットの取付装置
23日前
戸田建設株式会社
身体冷却装置及び身体冷却服
1か月前
戸田建設株式会社
植栽選定システム及び植栽選定方法
1か月前
戸田建設株式会社
杭基礎形成方法及びアタッチメント
1か月前
フクビ化学工業株式会社
折板屋根
2か月前
戸田建設株式会社
高炉スラグ微粉末を主材とした充填材
1か月前
戸田建設株式会社
バイブロハンマ及びこれを用いた杭の引抜方法
1か月前
戸田建設株式会社
情報処理方法、プログラムおよび情報処理装置
1か月前
戸田建設株式会社
情報処理方法、プログラムおよび情報処理装置
1か月前
戸田建設株式会社
情報処理方法、プログラムおよび情報処理装置
1か月前
戸田建設株式会社
超高強度吹付けコンクリート及びその吹付け方法
1か月前
戸田建設株式会社
排水窓付型枠及びそれを用いたコンクリートの打設方法
1か月前
戸田建設株式会社
形鋼と鉄筋からなる主鋼材の建込み構造及び建込み方法
23日前
戸田建設株式会社
仮想輸送経路の提案方法及び仮想輸送経路の提案システム
1か月前
戸田建設株式会社
仮想輸送経路の提案方法及び仮想輸送経路の提案システム
1か月前
戸田建設株式会社
杭と柱梁仕口組立体の接合方法及び杭と柱梁仕口組立体の接合構造
1か月前
戸田建設株式会社
学習済みモデル、情報処理装置、情報処理方法、情報処理プログラム
1か月前
戸田建設株式会社
爆薬の自動装填装置及びこれを備えた自動装填システム並びに自動装填方法
2か月前
戸田建設株式会社
継手を要したH鋼の挿入方法
2か月前
戸田建設株式会社
報知送受信装置、報知システム、消火器スタンド、報知送信装置、及び報知受信装置
1か月前
個人
バケット
20日前
続きを見る
他の特許を見る