TOP
|
特許
|
意匠
|
商標
特許ウォッチ
Twitter
他の特許を見る
公開番号
2025178602
公報種別
公開特許公報(A)
公開日
2025-12-09
出願番号
2024085306
出願日
2024-05-27
発明の名称
杭打機
出願人
日本車輌製造株式会社
代理人
個人
主分類
E02F
9/20 20060101AFI20251202BHJP(水工;基礎;土砂の移送)
要約
【課題】下部走行体に対して旋回可能な上部旋回体を有する杭打機において、運転者による運転を支援することが可能な杭打機を提供することを目的とする。
【解決手段】杭打機1は、上部旋回体11の運転室14に設けられた表示装置47と、下部走行体10、及び上部旋回体11を俯瞰して撮像した撮像画像を取得する撮像装置46と、画像処理コントローラ40とを有する。画像処理コントローラ40は、撮像画像に基づく平面画像から上部旋回体11に対する下部走行体10の相対傾き角を算出し、算出された相対傾き角に関する画像を表示装置47に表示させる。
【選択図】図1
特許請求の範囲
【請求項1】
走行機能を備える下部走行体と、
運転室を備え、前記下部走行体に対して旋回可能に設けられた上部旋回体と、
前記上部旋回体の前部に立設され、作業装置を昇降可能に保持するリーダと、
前記運転室内に設けられた表示装置と、
前記下部走行体、及び前記上部旋回体を俯瞰して撮像した撮像画像を取得する撮像装置と、
前記撮像画像に基づく平面画像から前記上部旋回体に対する前記下部走行体の相対傾き角を算出し、算出された前記相対傾き角に関する画像を前記表示装置に表示させる制御装置と、を有する杭打機。
続きを表示(約 470 文字)
【請求項2】
前記撮像装置は、前記下部走行体、及び前記上部旋回体を俯瞰して撮像できる前記リーダの上部に取り付けられている、請求項1に記載の杭打機。
【請求項3】
前記制御装置は、
前記上部旋回体を示す画像の前後方向に対する、前記下部走行体を示す画像における左右の外側面の傾きを前記相対傾き角として算出する、請求項1又は2に記載の杭打機。
【請求項4】
前記制御装置は、
前記撮像画像に対して、前記上部旋回体を示す画像の前後方向を、前記平面画像の縦方向に平行となるよう補正することで前記平面画像を生成する、請求項3に記載の杭打機。
【請求項5】
前記制御装置は、
前記平面画像に含まれる前記下部走行体の前後の向きを示す目印に基づいて、前記平面画像内での前記下部走行体を示す画像の前後の向きを判定し、
判定された前記前後の向き、及び算出された前記相対傾き角を用いて、前記相対傾き角に関する画像を前記表示装置に表示させる、請求項1又は2に記載の杭打機。
発明の詳細な説明
【技術分野】
【0001】
本発明は、下部走行体に対して旋回可能な上部旋回体を有する杭打機に関する。
続きを表示(約 1,600 文字)
【背景技術】
【0002】
杭打機は、走行機能を備える下部走行体に対して旋回可能な上部旋回体を有している。上部旋回体には、作業装置を保持するリーダや、運転室が設けられており、例えば、走路上の障害物や次に進む目標地点の方向に応じて上部旋回体を下部走行体に対して所定角度だけ旋回させて杭打機を走行させることができる。
【先行技術文献】
【特許文献】
【0003】
特開2024-3524号公報
【発明の概要】
【発明が解決しようとする課題】
【0004】
上部旋回体を下部走行体に対して所定角度だけ旋回させて杭打機を走行させる場合、下部走行体の前後の向きは運転室の向きと異なる方向となるため、運転者は走行中の下部走行体の前後の向きを誤認する場合がある。
【0005】
本発明は、かかる課題を解決すべく、下部走行体に対して旋回可能な上部旋回体を有する杭打機において、運転者による運転を支援することが可能な杭打機を提供することを目的とする。
【課題を解決するための手段】
【0006】
上記課題を解決するために本発明は、走行機能を備える下部走行体と、運転室を備え、下部走行体に対して旋回可能に設けられた上部旋回体と、上部旋回体の前部に立設され、作業装置を昇降可能に保持するリーダと、運転室内に設けられた表示装置と、下部走行体、及び上部旋回体を俯瞰して撮像した撮像画像を取得する撮像装置と、撮像画像に基づく平面画像から上部旋回体に対する下部走行体の相対傾き角を算出し、算出された相対傾き角に関する画像を表示装置に表示させる制御装置と、を有する杭打機である。
【発明の効果】
【0007】
上記構成の杭打機では、運転室に設けられた表示装置に下部走行体の相対傾き角に関する画像が表示されることで、運転者は、下部走行体が上部旋回体に対してどの程度傾いているかを運転室内で確認しながら杭打機を運転することができる。これにより、運転者による杭打機の運転を支援することができる。
【図面の簡単な説明】
【0008】
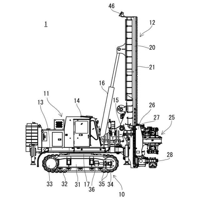
杭打機の側面図である。
杭打機の電気的構成を説明する図である。
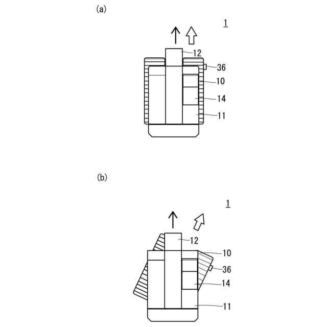
上部旋回体の旋回と、下部走行体の進行方向との関係を説明する図である。
画像処理コントローラにより実行される処理を説明するフローチャートである。
上部旋回体に対する下部走行体の相対傾き角の算出を説明する図である。
上部旋回体に対する下部走行体の相対傾き角の算出を説明する図である。
アシスト画面を説明する図である。
【発明を実施するための形態】
【0009】
(第1実施形態)
本実施形態に係る杭打機1について、図面を参照しながら説明する。図1は、本実施形態に係る杭打機1の側面図である。杭打機1は、地盤改良や建設に用いられる装置であり、下部走行体10と、この下部走行体10に旋回可能に設けられた上部旋回体11と、上部旋回体11の前部に立設されており、作業装置を昇降可能に保持するリーダ12と、を主に備えている。
【0010】
上部旋回体11は、フレーム13を備え、フレーム13の上方における左右方向の一方側には、運転者が搭乗することで、作業機、上部旋回体11、下部走行体10などを駆動させる操作を行うための運転室14が設けられている。フレーム13の左右方向の他方側には、動力部であるエンジンや、エンジンの回転により発生した油圧を各部に供給する油圧回路を収容する収容部が形成されている。フレーム13の下方には旋回ベアリングや旋回モータを備える旋回装置17が取り付けられており、旋回装置17により上部旋回体11を下部走行体10に対して360°で旋回させることが可能な構成となっている。
(【0011】以降は省略されています)
この特許をJ-PlatPat(特許庁公式サイト)で参照する
関連特許
日本車輌製造株式会社
杭打機
今日
日本車輌製造株式会社
建設機械
4日前
個人
バケット
1か月前
鹿島建設株式会社
接続方法
20日前
日本車輌製造株式会社
杭打機
今日
株式会社富田製作所
継手部構造
1か月前
ウエダ産業株式会社
アタッチメント
11日前
株式会社郷土開発
傾斜地の切土工法
19日前
日本車輌製造株式会社
建設機械
4日前
株式会社クボタ
作業機
19日前
エポコラム機工株式会社
地盤改良装置
4日前
日立建機株式会社
作業機械
1か月前
日立建機株式会社
建設機械
1か月前
日立建機株式会社
建設機械
6日前
FKS株式会社
擁壁及び擁壁の築造方法
1か月前
日本車輌製造株式会社
杭打機の表示システム
1か月前
ナブテスコ株式会社
ドーザブレード駆動機構
1か月前
セイコー機器株式会社
親綱支柱
今日
株式会社大林組
評価支援装置及び評価支援方法
1か月前
株式会社大林組
掘削支援装置及び掘削支援方法
13日前
エポコラム機工株式会社
地盤改良装置及び地盤改良工法
4日前
株式会社大林組
免震構造及び免震構造の施工方法
1か月前
個人
保護カバー及び保護カバーの取付方法
1か月前
エポコラム機工株式会社
地盤改良装置及び地盤改良工法
4日前
ヤンマーホールディングス株式会社
作業機械
19日前
ヤンマーホールディングス株式会社
作業機械
19日前
コベルコ建機株式会社
建設機械
6日前
ジャパンパイル株式会社
基礎構造の設計方法及び基礎構造
6日前
コベルコ建機株式会社
建設機械
6日前
個人
斜面保護構造、及び、斜面保護構造施工方法
1か月前
日本製紙株式会社
紙製ドレーン
13日前
鹿島建設株式会社
基礎構造および構築方法
11日前
鹿島建設株式会社
生態系環境改善部材及び生態系環境改善構造
1か月前
住友重機械工業株式会社
作業機械用の遠隔操作システム
1か月前
JFEシビル株式会社
ポール構築方法
今日
株式会社サンワールド
地盤改良装置
4日前
続きを見る
他の特許を見る