TOP
|
特許
|
意匠
|
商標
特許ウォッチ
Twitter
他の特許を見る
10個以上の画像は省略されています。
公開番号
2025178700
公報種別
公開特許公報(A)
公開日
2025-12-09
出願番号
2024085468
出願日
2024-05-27
発明の名称
ポール構築方法
出願人
JFEシビル株式会社
代理人
弁理士法人きさ特許商標事務所
主分類
E02D
27/42 20060101AFI20251202BHJP(水工;基礎;土砂の移送)
要約
【課題】施工費を抑え、施工管理が簡易であり、工期に間に合わせるポール構築方法を提供する。
【解決手段】ポール構築方法は、地中に杭を打ち込む杭打ち工程と、杭の上端から立設する支柱を、杭に接合してポールとする接合工程と、を備え、杭打ち工程は、杭を装着した全周回転掘削機を地盤面に設置する全周回転掘削機設置工程と、全周回転掘削機の回転及び圧入力によって、杭を地中に貫入する杭貫入工程と、を有する。
【選択図】図2
特許請求の範囲
【請求項1】
地中に杭を打ち込む杭打ち工程と、
前記杭の上端から立設する支柱を、前記杭に接合してポールとする接合工程と、を備え、
前記杭打ち工程は、
前記杭を装着した全周回転掘削機を地盤面に設置する全周回転掘削機設置工程と、
前記全周回転掘削機の回転及び圧入力によって、前記杭を地中に貫入する杭貫入工程と、を有する
ポール構築方法。
続きを表示(約 1,000 文字)
【請求項2】
前記杭貫入工程は、
前記杭の下端に切削刃を装着した前記全周回転掘削機を、前記杭の周方向に回転させつつ、ハンマーグラブを用いて前記杭の内部の土砂を掘削排除する
請求項1記載のポール構築方法。
【請求項3】
前記切削刃は、
前記杭の周方向において、前記杭の下端における内面及び外面に装着される複数の板状の部材であり、前記杭の先端から下方に突出し、前記杭の回転方向に鋭角な形状をなしている
請求項2記載のポール構築方法。
【請求項4】
前記杭打ち工程は、
前記杭貫入工程のあとに前記杭を打ち止めする杭打ち止め工程を有する
請求項2又は3記載のポール構築方法。
【請求項5】
前記杭打ち止め工程は、
前記杭の上端に打ち止め部材を装着した前記全周回転掘削機によって、前記杭と前記打ち止め部材とを一体的に地中に貫入し、前記杭の上端が前記地盤面と同じ高さになったときに貫入を完了する
請求項4記載のポール構築方法。
【請求項6】
前記杭は、
上部の内面に設けられた係止突起を有し、
前記打ち止め部材は、
前記杭と同じ断面形状をなす打ち止め管と、
前記打ち止め管の内部に挿入され、円周方向において下端に係止溝が形成された接続管と、を有し、
前記係止突起が前記係止溝に係合することによって、前記杭と前記打ち止め部材とが一体化されている
請求項5記載のポール構築方法。
【請求項7】
前記杭打ち工程は、
前記杭打ち止め工程のあとに、前記杭貫入工程において、前記杭の内部の土砂を排除して中空となった部分の先端側にコンクリートを充填して先端閉塞コンクリートを構築するコンクリート充填工程を有する
請求項4記載のポール構築方法。
【請求項8】
前記杭打ち工程は、
前記コンクリート充填工程のあとに、前記先端閉塞コンクリートの上部に、前記杭の内部から排除した土砂を投入して、前記接合工程において充填される充填コンクリートの下面まで埋め戻す埋め戻し工程を有する
請求項7記載のポール構築方法。
【請求項9】
前記ポールは、
ネットを支持するものである
請求項1~3のいずれか1項に記載のポール構築方法。
発明の詳細な説明
【技術分野】
【0001】
本発明は、杭と支柱とからなるポールを構築するポール構築方法に関する。
続きを表示(約 2,100 文字)
【背景技術】
【0002】
特許文献1には、大口径の杭を構築する技術として、地盤をアースドリル等で削孔して、内部の土砂を排出して杭孔を設け、その杭孔に既製杭(コンクリート製や鋼管製など)を挿入し、その後、既製杭の外面と孔壁間に土砂又は充填材(モルタル又はセメントミルク等)を充填して既製杭を地盤に固定する技術が開示されている。特許文献2には、地盤が比較的軟弱な場合には、杭の外径より一回り大きな外径の削孔の生分解性プラスチック製のケーシングを用いて、揺動装置でケーシングを揺動圧入すると同時に、ケーシング内の土砂をハンマーグラフを用いて掘削排土し、ケーシングで孔壁を保持しながら杭孔を形成する技術が開示されている。特許文献2は、削孔が完成後、ケーシング内にコンクリートを打設して杭基礎を造成する。
【先行技術文献】
【特許文献】
【0003】
特開2023-150433号公報
特開2006-274745号公報
【発明の概要】
【発明が解決しようとする課題】
【0004】
しかしながら、特許文献1及び2は、地盤に杭孔を削孔する工程と、削孔した杭孔に鋼管杭を挿入する工程と、鋼管杭外面と孔壁との間に充填材(土砂、モルタル又はセメントミルク等)を充填して鋼管杭を固定する工程という3つの工程が必要である。このため、工期が長くなり、杭に支柱を設けて製造されるポールの工期に間に合わない場合がある。また、施工のための重機機材及び労務工数が多くなり、施工費がかかる。更に、鋼管杭と孔壁との間に充填材を充填する必要があり、充填材の材料費が必要で、且つ十分に充填するための的確な施工管理が必要である。
【0005】
本発明は、上記のような課題を解決するためになされたもので、施工費を抑え、施工管理が簡易であり、工期に間に合わせるポール構築方法を提供するものである。
【課題を解決するための手段】
【0006】
本発明に係るポール構築方法は、地中に杭を打ち込む杭打ち工程と、前記杭の上端から立設する支柱を、前記杭に接合してポールとする接合工程と、を備え、前記杭打ち工程は、前記杭を装着した全周回転掘削機を地盤面に設置する全周回転掘削機設置工程と、前記全周回転掘削機の回転及び圧入力によって、前記杭を地中に貫入する杭貫入工程と、を有する。
【発明の効果】
【0007】
本発明によれば、杭を直接地中に貫入する。このため、杭孔掘削、杭挿入及び間隙充填という杭固定の3つの工程を削減することができる。従って、施工費を抑え、施工管理が簡易であり、工期に間に合わせることができる。
【図面の簡単な説明】
【0008】
実施の形態1に係るポールを示す模式図である。
実施の形態1に係るポール構築方法を示すフローチャートである。
実施の形態1に係る全周回転掘削機設置工程を示す模式図である。
実施の形態1に係る杭貫入工程を示す模式図である。
実施の形態1に係る切削刃を示す模式図である。
実施の形態1に係る上杭接続貫入工程を示す模式図である。
実施の形態1に係る杭打ち止め工程を示す模式図である。
実施の形態1に係る打ち止め部材を示す模式図である。
実施の形態1に係る撤去工程を示す模式図である。
実施の形態1に係るコンクリート充填工程を示す模式図である。
実施の形態1に係るずれ止め部材を示す模式図である。
実施の形態1に係る埋め戻し工程を示す模式図である。
実施の形態1に係る接合工程を示す模式図である。
実施の形態1に係る上下支柱接合工程を示す模式図である。
【発明を実施するための形態】
【0009】
以下、本発明の実施の形態を図面に基づいて説明する。なお、以下に説明する実施の形態によって本発明が限定されるものではない。各図は模式的に示すものであって、各部材の相対的な大きさや板厚等は図示する寸法に限定されるものではない。また、以下の図面では各構成部材の大きさの関係が実際のものとは異なる場合がある。
【0010】
実施の形態1.
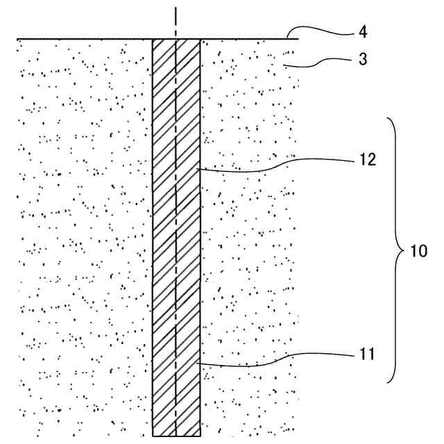
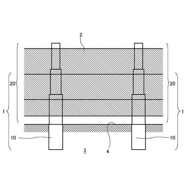
図1は、実施の形態1に係るポール1を示す模式図である。図1に示すように、ポール1は、地盤3から立設しており、ネット2を支持するものである。ネット2は、例えば防球ネット又は防塵ネットであり、ポール1に設置されたネット取付部材に、ワイヤ等によって結合されている。ポール1は、杭10と、支柱20とを有しており、例えば隣接して複数設けられている。ネット2は、隣接した複数のポール1に取り付けられることによって、固定されている。なお、ポール1は、ネット2を固定するものに限らず、照明柱又は鉄塔等の杭10と支柱20とからなるものとして用いられる。
(【0011】以降は省略されています)
この特許をJ-PlatPat(特許庁公式サイト)で参照する
関連特許
JFEシビル株式会社
ポール構築方法
今日
JFEシビル株式会社
柱梁接合部の構造
4日前
JFEシビル株式会社
トンネル間地盤性状の調査方法及び装置
1か月前
個人
バケット
1か月前
個人
建物の不同沈下の修正方法
1か月前
鹿島建設株式会社
接続方法
20日前
日本車輌製造株式会社
杭打機
今日
株式会社富田製作所
継手部構造
1か月前
株式会社大林組
操縦装置
1か月前
株式会社郷土開発
傾斜地の切土工法
19日前
ウエダ産業株式会社
アタッチメント
11日前
日立建機株式会社
建設機械
1か月前
エポコラム機工株式会社
地盤改良装置
4日前
日立建機株式会社
建設機械
6日前
日立建機株式会社
作業機械
1か月前
日本車輌製造株式会社
建設機械
4日前
株式会社クボタ
作業機
19日前
FKS株式会社
擁壁及び擁壁の築造方法
1か月前
日本車輌製造株式会社
杭打機の表示システム
1か月前
ナブテスコ株式会社
ドーザブレード駆動機構
1か月前
日本車輌製造株式会社
杭打機の制御システム
1か月前
株式会社大林組
評価支援装置及び評価支援方法
1か月前
日本車輌製造株式会社
建設機械の電源システム
1か月前
株式会社大林組
施工支援装置及び施工支援方法
1か月前
株式会社大林組
施工支援装置及び施工支援方法
1か月前
株式会社大林組
施工支援装置及び施工支援方法
1か月前
株式会社大林組
掘削支援装置及び掘削支援方法
13日前
セイコー機器株式会社
親綱支柱
今日
株式会社大林組
免震構造及び免震構造の施工方法
1か月前
個人
保護カバー及び保護カバーの取付方法
1か月前
エポコラム機工株式会社
地盤改良装置及び地盤改良工法
4日前
エポコラム機工株式会社
地盤改良装置及び地盤改良工法
4日前
コベルコ建機株式会社
建設機械
6日前
ヤンマーホールディングス株式会社
作業機械
19日前
コベルコ建機株式会社
建設機械
6日前
ジャパンパイル株式会社
基礎構造の設計方法及び基礎構造
6日前
続きを見る
他の特許を見る