TOP
|
特許
|
意匠
|
商標
特許ウォッチ
Twitter
他の特許を見る
公開番号
2025178806
公報種別
公開特許公報(A)
公開日
2025-12-09
出願番号
2024085622
出願日
2024-05-27
発明の名称
親綱支柱
出願人
セイコー機器株式会社
,
江戸川機鋼株式会社
代理人
個人
主分類
E02D
17/04 20060101AFI20251202BHJP(水工;基礎;土砂の移送)
要約
【課題】設置作業の負担を軽減する親綱支柱を提供する。
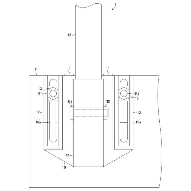
【解決手段】親綱支柱1は、水平に配置された山留め用の鉄骨における鉛直に向いているフランジFに面で接触し、フランジFが有している通し穴を介してフランジFにボルトB及びナット13で固定される平板10と、平板10に固定されていて、フランジFの上端に引っ掛けられることでフランジFに平板10を吊り下げるフックFと、平板10に固定される支柱本体15と、を備えている。
【選択図】図1
特許請求の範囲
【請求項1】
水平に配置された山留め用の鉄骨における鉛直に向いているフランジに面で接触させられ、前記フランジが有している通し穴を介して前記フランジにボルト及びナットで固定される平板と、
前記平板に固定されていて、前記フランジの上端に引っ掛けられることで前記フランジに前記平板を吊り下げるフックと、
前記平板に固定される支柱本体と、を備えていることを特徴とする
親綱支柱。
続きを表示(約 130 文字)
【請求項2】
前記平板に固定されていて、前記平板と軸が直交する前記ナットを前記平板に沿って鉛直に移動可能とするガイドレールを備え、
前記平板は、通し穴として、前記ガイドレールに沿った長孔を有していることを特徴とする
請求項1に記載の親綱支柱。
発明の詳細な説明
【技術分野】
【0001】
本発明は、親綱支柱に関する。
続きを表示(約 1,200 文字)
【背景技術】
【0002】
地盤を掘削して地下の工事を行う場合、H形鋼を用いて擁壁を作り、周りの土砂の崩壊を防止する。地下の工事を行う作業者は、墜落時の事故を防止するために、親綱に接続される安全帯を着用する。親綱は、擁壁を構成するH形鋼に設置された対の親綱支柱に架け渡される。
【先行技術文献】
【特許文献】
【0003】
特開2023-066496号公報
【発明の概要】
【発明が解決しようとする課題】
【0004】
H形鋼に親綱支柱を設置する作業は、重量物である親綱支柱をH形鋼の側方において人手で支えながらH形鋼にボルトで固定する必要があるので、負担が大きかった。
【0005】
本発明は、上記課題を鑑みてなされたものであり、設置作業の負担を軽減する親綱支柱を提供することを目的とする。
【課題を解決するための手段】
【0006】
(1)本発明は、水平に配置された山留め用の鉄骨における鉛直に向いているフランジ(例えば、後述するフランジF)に面で接触させられ、前記フランジが有している通し穴を介して前記フランジにボルト(例えば、後述するボルトB1)及びナット(例えば、後述するナット13)で固定される平板(例えば、後述する平板10)と、前記平板に固定されていて、前記フランジの上端に引っ掛けられることで前記フランジに前記平板を吊り下げるフック(例えば、後述するフック11)と、前記平板に固定される支柱本体(例えば、後述する支柱本体15)と、を備えていることを特徴とする親綱支柱(例えば、後述する親綱支柱1)である。
【0007】
本願発明によれば、鉄骨のフランジにフックで引っ掛けてからボルト及びナットで固定することができる。このため、重量物である親綱支柱を人手で支えながら固定する必要がなく、設置作業の負担を軽減することができる。
【0008】
(2)本発明はまた、前記平板に固定されていて、前記平板と軸が直交する前記ナットを前記平板に沿って鉛直に移動可能とするガイドレール(例えば、後述するガイドレール12)を備え、前記平板は、通し穴として、前記ガイドレールに沿った長孔(例えば、後述する長孔10a)を有していることを特徴とする上記(1)に記載の親綱支柱である。
【0009】
本発明によれば、フランジが有している通し穴に対応するようにナットをガイドレールに沿って移動させてからボルト及びナットで固定するので、容易に固定することができ、設置作業の負担を軽減することができる。
【発明の効果】
【0010】
本発明の上記(1)及び(2)に記載の親綱支柱によれば、設置作業の負担を軽減することができる。
【図面の簡単な説明】
(【0011】以降は省略されています)
この特許をJ-PlatPat(特許庁公式サイト)で参照する
関連特許
個人
バケット
1か月前
鹿島建設株式会社
接続方法
20日前
日本車輌製造株式会社
杭打機
今日
株式会社大林組
操縦装置
1か月前
株式会社富田製作所
継手部構造
1か月前
ウエダ産業株式会社
アタッチメント
11日前
株式会社郷土開発
傾斜地の切土工法
19日前
日立建機株式会社
建設機械
1か月前
日立建機株式会社
建設機械
6日前
日本車輌製造株式会社
建設機械
4日前
エポコラム機工株式会社
地盤改良装置
4日前
日立建機株式会社
作業機械
1か月前
株式会社クボタ
作業機
19日前
FKS株式会社
擁壁及び擁壁の築造方法
1か月前
ナブテスコ株式会社
ドーザブレード駆動機構
1か月前
日本車輌製造株式会社
杭打機の表示システム
1か月前
株式会社大林組
施工支援装置及び施工支援方法
1か月前
セイコー機器株式会社
親綱支柱
今日
株式会社大林組
施工支援装置及び施工支援方法
1か月前
株式会社大林組
施工支援装置及び施工支援方法
1か月前
株式会社大林組
掘削支援装置及び掘削支援方法
13日前
株式会社大林組
評価支援装置及び評価支援方法
1か月前
個人
保護カバー及び保護カバーの取付方法
1か月前
エポコラム機工株式会社
地盤改良装置及び地盤改良工法
4日前
株式会社大林組
免震構造及び免震構造の施工方法
1か月前
エポコラム機工株式会社
地盤改良装置及び地盤改良工法
4日前
コベルコ建機株式会社
建設機械
6日前
ヤンマーホールディングス株式会社
作業機械
19日前
コベルコ建機株式会社
建設機械
6日前
ジャパンパイル株式会社
基礎構造の設計方法及び基礎構造
6日前
ヤンマーホールディングス株式会社
作業機械
19日前
個人
真空バケット浚渫工法と真空バケット及び真空バケット浚渫船
1か月前
鹿島建設株式会社
生態系環境改善部材及び生態系環境改善構造
1か月前
日本製紙株式会社
紙製ドレーン
13日前
株式会社中山ホールディングス
作業補助装置及び作業システム
1か月前
個人
斜面保護構造、及び、斜面保護構造施工方法
1か月前
続きを見る
他の特許を見る