TOP
|
特許
|
意匠
|
商標
特許ウォッチ
Twitter
他の特許を見る
公開番号
2025177663
公報種別
公開特許公報(A)
公開日
2025-12-05
出願番号
2024084695
出願日
2024-05-24
発明の名称
地盤改良装置及び地盤改良工法
出願人
エポコラム機工株式会社
代理人
個人
主分類
E02D
3/12 20060101AFI20251128BHJP(水工;基礎;土砂の移送)
要約
【課題】地盤改良工法の施工途中において地盤改良装置の回転軸の偏心を良好に推察できるようにすること。
【解決手段】本発明では、昇降する回転軸(14)の下端に撹拌装置(15)を設け、掘削した地盤(2)内で土砂と地盤改良材とを撹拌・混合することによって地盤(2)の改良を行う地盤改良装置(1)及び地盤改良工法において、地上における基準となる位置からの回転軸(14)の変位量をGNSS(Global Navigation Satellite System:全地球航法衛星システム)を用いて計測し、変位量が所定値を超えた場合に報知することにした。また、本発明では、前記基準となる位置を変更可能とした。さらに、本発明では、前記変位量の所定値を撹拌装置(15)の深度に応じて変更することにした。
【選択図】図5
特許請求の範囲
【請求項1】
昇降する回転軸の下端に撹拌装置を設け、掘削した地盤内で土砂と地盤改良材とを撹拌・混合することによって地盤の改良を行う地盤改良装置において、
地上における基準となる位置からの回転軸の変位量をGNSS(Global Navigation Satellite System:全地球航法衛星システム)を用いて計測し、変位量が所定値を超えた場合に報知することを特徴とする地盤改良装置。
続きを表示(約 420 文字)
【請求項2】
前記基準となる位置を変更可能としたことを特徴とする請求項1に記載の地盤改良装置。
【請求項3】
前記変位量の所定値を撹拌装置の深度に応じて変更することを特徴とする請求項1又は請求項2に記載の地盤改良装置。
【請求項4】
昇降する回転軸の下端に撹拌装置を設け、掘削した地盤内で土砂と地盤改良材とを撹拌・混合することによって地盤の改良を行う地盤改良工法において、
地上における基準となる位置からの回転軸の変位量をGNSS(Global Navigation Satellite System:全地球航法衛星システム)を用いて計測し、変位量が所定値を超えた場合に報知することを特徴とする地盤改良工法。
【請求項5】
前記変位量が所定値を超えた場合に、地盤から撹拌装置を引き抜き、その後、掘削条件を変更して地盤を再掘削することを特徴とする請求項4に記載の地盤改良工法。
発明の詳細な説明
【技術分野】
【0001】
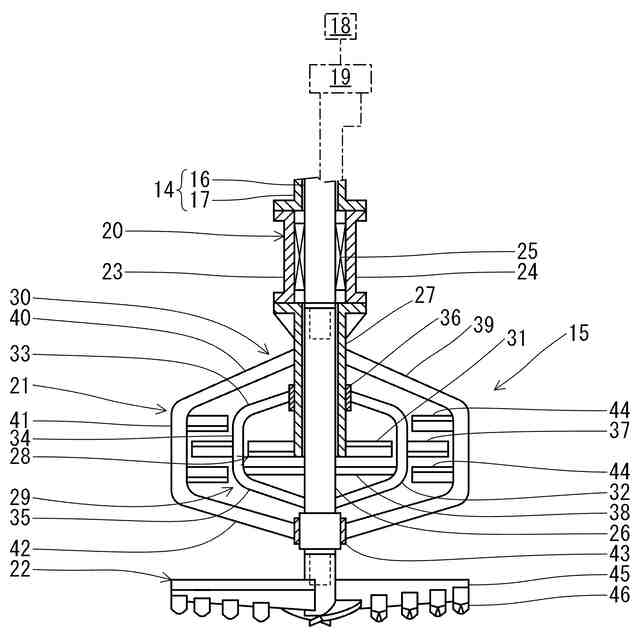
本発明は、昇降する回転軸の下端に撹拌装置を設け、掘削した地盤内で土砂と地盤改良材とを撹拌・混合することによって地盤の改良を行う地盤改良装置及び地盤改良工法に関するものである。
続きを表示(約 1,200 文字)
【背景技術】
【0002】
従来、軟弱地盤の強化や汚染地盤の浄化などを目的として地盤の改良が行われている。
【0003】
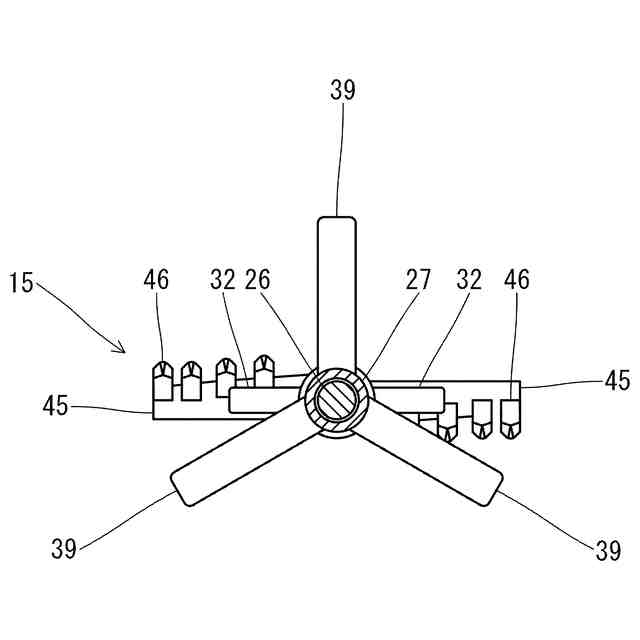
この地盤改良において用いられる地盤改良装置としては、内側軸の外側に中空状の外側軸を二重管状に設けた回転軸に、内側軸に連動連結される掘削体と内側撹拌翼と外側軸に連動連結される外側撹拌翼とが設けられた撹拌装置を接続し、回転軸を回転駆動装置で回転させる構成のものが用いられている。
【0004】
そして、地盤改良装置を用いた地盤改良工法では、掘削装置を用いて地盤を掘削するとともに掘削した地盤に地盤改良材(固化剤や浄化剤など)を吐出し、地盤内で地盤改良材と土砂とを撹拌装置で撹拌・混合することによって、地盤の改良を行っている(たとえば、特許文献1参照。)。
【先行技術文献】
【特許文献】
【0005】
特開2021-161843号公報
【発明の概要】
【発明が解決しようとする課題】
【0006】
上記従来の地盤改良工法においては、地盤の内部で地盤改良装置を用いて地盤の掘削を行った後に掘削した土砂と地盤改良材とを撹拌・混合して地盤改良を行うために、地盤内部の状態を直接的に目視等で確認することが困難である。特に、地盤の掘削時には、地盤改良装置の回転軸や回転軸の下端に取付けられた撹拌装置の掘削体を鉛直下向きに降下させる必要があり、地盤内で礫や転石等の地中障害物との接触などによって回転軸が偏心してしまうと、回転軸等が許容量を超えた負荷によって破損や損傷してしまうおそれがある。
【0007】
そのため、地盤の内部で回転軸の偏心量や傾斜量を計測するための計測装置を用いて地盤改良装置の回転軸の偏心を管理して、回転軸の破損や損傷を防止するようにしている。
【0008】
ところが、地盤の内部で回転軸の偏心量や傾斜量を計測するための計測装置は高価であり、地盤内部での計測となるために高度の技術が必要となり、施工中のメンテナンスが煩雑となっている。
【0009】
そこで、本発明では、地盤改良工法の施工途中において地盤改良装置の回転軸の偏心を良好に推察することができるようにした。
【課題を解決するための手段】
【0010】
請求項1に係る本発明では、昇降する回転軸の下端に撹拌装置を設け、掘削した地盤内で土砂と地盤改良材とを撹拌・混合することによって地盤の改良を行う地盤改良装置において、地上における基準となる位置からの回転軸の変位量をGNSS(Global Navigation Satellite System:全地球航法衛星システム)を用いて計測し、変位量が所定値を超えた場合に報知することにした。
(【0011】以降は省略されています)
この特許をJ-PlatPat(特許庁公式サイト)で参照する
関連特許
株式会社郷土開発
傾斜地の切土工法
16日前
ウエダ産業株式会社
アタッチメント
8日前
株式会社クボタ
作業機
16日前
エポコラム機工株式会社
地盤改良装置
1日前
日立建機株式会社
建設機械
3日前
日本車輌製造株式会社
建設機械
1日前
株式会社大林組
掘削支援装置及び掘削支援方法
10日前
エポコラム機工株式会社
地盤改良装置及び地盤改良工法
1日前
エポコラム機工株式会社
地盤改良装置及び地盤改良工法
1日前
ヤンマーホールディングス株式会社
作業機械
16日前
ヤンマーホールディングス株式会社
作業機械
16日前
ジャパンパイル株式会社
基礎構造の設計方法及び基礎構造
3日前
コベルコ建機株式会社
建設機械
3日前
コベルコ建機株式会社
建設機械
3日前
日本製紙株式会社
紙製ドレーン
10日前
鹿島建設株式会社
基礎構造および構築方法
8日前
株式会社サンワールド
地盤改良装置
1日前
株式会社大林組
解析システム、解析方法及び解析プログラム
9日前
株式会社 林物産発明研究所
発電装置付洪水防止装置及び工事代金償還方法
2日前
株式会社三和
流動化処理土
1日前
株式会社大林組
バーチカルドレーン先端の粘性土の侵入長さの推定方法
3日前
ジャパン スチールス グループ株式会社
ケーシング立坑等の落下防止装置
1日前
清水建設株式会社
掘削状況判定装置、掘削状況判定方法、およびプログラム
8日前
株式会社竹中工務店
構真柱の施工方法、及び構真柱の支持構造
16日前
大和ハウス工業株式会社
リスク推定方法、リスク推定装置、及びリスク推定システム
16日前
株式会社小松製作所
作業車両の制御装置および作業車両の制御方法
8日前
前田工繊産資株式会社
河川護岸用の補強土壁
9日前
大成建設株式会社
杭基礎構造
8日前
株式会社小松製作所
作業機械の遠隔操作システムおよび作業機械の遠隔操作方法
2日前
鹿島建設株式会社
マット部材、マット部材の製造方法、及びマット部材のひずみ測定システム
9日前
ヤンマーパワーテクノロジー株式会社
建設機械
3日前
株式会社タケウチ建設
地盤改良体とプレキャストコンリート板を含む構造体、及びその施工方法
3日前
ヤンマーホールディングス株式会社
電動式作業機械
8日前
東鉄工業株式会社
自穿孔ロックボルトパッカー及び自穿孔ロックボルトパッカーを用いた止水工法
16日前
国立大学法人茨城大学
改良地盤の噴出物抑制及び地盤沈下抑制システム
10日前
ヤンマーホールディングス株式会社
安全監視システムの制御方法及び安全監視システム
16日前
続きを見る
他の特許を見る