TOP
|
特許
|
意匠
|
商標
特許ウォッチ
Twitter
他の特許を見る
10個以上の画像は省略されています。
公開番号
2025173075
公報種別
公開特許公報(A)
公開日
2025-11-27
出願番号
2024078425
出願日
2024-05-14
発明の名称
河川護岸用の補強土壁
出願人
前田工繊産資株式会社
,
アスザック株式会社
代理人
弁理士法人愛宕綜合特許事務所
主分類
E02B
3/14 20060101AFI20251119BHJP(水工;基礎;土砂の移送)
要約
【課題】補強土壁を構築する際に、壁面材の転倒および滑動を抑止する部材の損傷を防止できる河川護岸用の補強土壁を提供する。
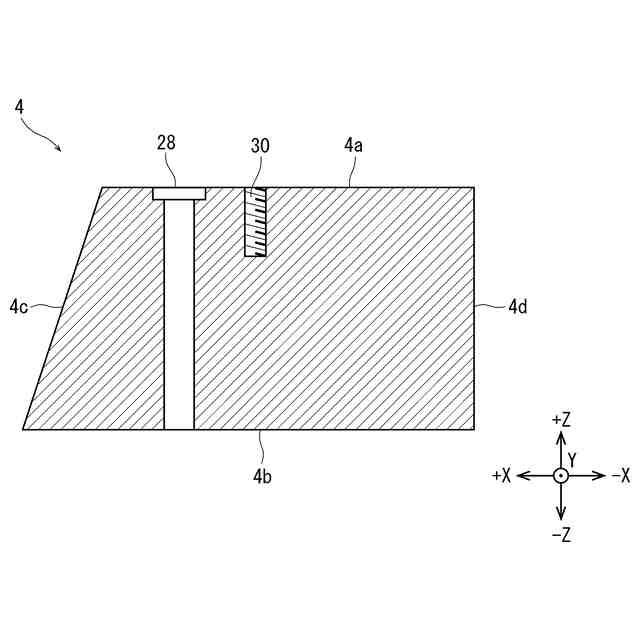
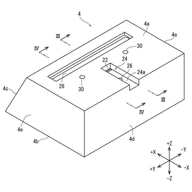
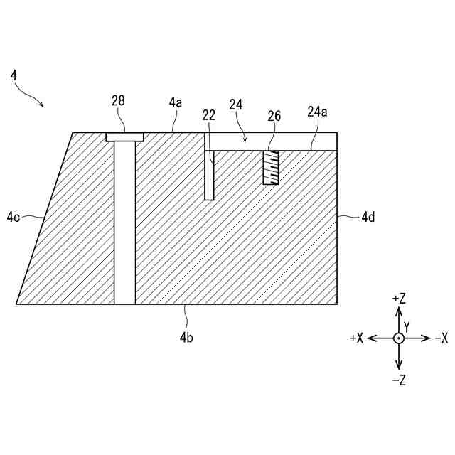
【解決手段】河川護岸用の補強土壁2は、河川Rに面して設置される護岸ブロック4と、護岸ブロック4の後面4dに沿って設置された吸出し防止材6と、吸出し防止材6の後方に敷設された裏込め材8と、裏込め材8の後方に設置された枠材10と、枠材10の下端から後方に延びる補強材12と、護岸ブロック4の上面4aから後方に延びる金属製の定着金具14とを備える。定着金具14は、上下方向に延びる垂直部分14aと、垂直部分14aの上端から水平に延びる水平部分14bとを有する。護岸ブロック4の上面4aには差し込み穴が形成されている。護岸ブロック4の差し込み穴に定着金具14の垂直部分14aが差し込まれていることによって、護岸ブロック4と定着金具14とが連結されている。
【選択図】図1
特許請求の範囲
【請求項1】
河川護岸用の補強土壁であって、
河川に面して設置される護岸ブロックと、
前記護岸ブロックの後面に沿って設置された吸出し防止材と、
前記吸出し防止材の後方に敷設された裏込め材と、
前記裏込め材の後方に設置された枠材と、
前記枠材の下端から後方に延びる補強材と、
前記護岸ブロックの上面から後方に延びる金属製の定着金具とを備え、
前記定着金具は、上下方向に延びる垂直部分と、前記垂直部分の上端から水平に延びる水平部分とを有し、
前記護岸ブロックの上面には、前記定着金具の前記垂直部分が差し込まれる差し込み穴が形成されており、
前記護岸ブロックの前記差し込み穴に前記定着金具の前記垂直部分が差し込まれていることによって、前記護岸ブロックと前記定着金具とが連結されている河川護岸用の補強土壁。
続きを表示(約 670 文字)
【請求項2】
前記護岸ブロックの上面には、前記差し込み穴から後方に延びる凹所が形成され、前記凹所には、前記定着金具の前記水平部分の一部が収容されている、請求項1に記載の河川護岸用の補強土壁。
【請求項3】
前記定着金具の前記水平部分は、前記護岸ブロックの上面に締結具を介して締結されている、請求項1に記載の河川護岸用の補強土壁。
【請求項4】
前記護岸ブロックの前記差し込み穴は、前記護岸ブロックの後面から15cm以上前方に形成されている、請求項1に記載の河川護岸用の補強土壁。
【請求項5】
前記護岸ブロックの前記差し込み穴に対する前記定着金具の前記垂直部分の差し込み深さは3cm以上10cm以下である、請求項1に記載の河川護岸用の補強土壁。
【請求項6】
前記枠材は、底面部分と、前記底面部分の前端から上方に延びる起立部分とを有し、
前記定着金具の前記水平部分は、前記枠材の前記起立部分を貫通している、請求項1に記載の河川護岸用の補強土壁。
【請求項7】
少なくとも前記河川の所定水位と同じ高さまでは、前記枠材の後方に砕石層が敷設されている、請求項1に記載の河川護岸用の補強土壁。
【請求項8】
前記定着金具の前記水平部分は、前記砕石層に固定具を介して固定されている、請求項7に記載の河川護岸用の補強土壁。
【請求項9】
前記枠材の後面に沿って付加吸出し防止材が設置されている、請求項1に記載の河川護岸用の補強土壁。
発明の詳細な説明
【技術分野】
【0001】
本発明は、河川護岸用の補強土壁に関する。
続きを表示(約 1,900 文字)
【背景技術】
【0002】
下記特許文献1には、笠木のずれを抑制できる補強土壁が開示されている。この補強土壁は、壁面体と、壁面体の後方に造成された盛土と、盛土の内部に埋設されたシート状の補強材とを備える。上記壁面体は、積み上げられた複数のプレキャストコンクリート製の壁面材と、最上段の壁面材に載せられたプレキャストコンクリート製の笠木とを含む。壁面材には第一凹部または第一凸部が設けられ、笠木には第二凸部または第二凹部が設けられている。そして、上記補強土壁においては、第一凹部に第二凸部が上方から挿通され、または第一凸部に第二凹部が上方から嵌まり込んでいることによって、笠木のずれを抑制する。
【0003】
また、上記補強土壁は、壁面材の転倒および滑動を抑止するための合成樹脂製のグリッドベルトを備えている。グリッドベルトは、壁面材に設けられた固定孔に通されているとともに、張設状態で固定ピンにより固定されている。上記固定孔は、壁面材の後面において上下方向に延びる一対の突起に形成されている。
【先行技術文献】
【特許文献】
【0004】
特開2023-665号公報
【発明の概要】
【発明が解決しようとする課題】
【0005】
しかし、上記補強土壁においては、構築の際にグリッドベルトが損傷してしまうおそれがある。グリッドベルトは合成樹脂製であることから、コンクリート製壁面材の固定孔にグリッドベルトを通す時に、固定孔の内周面にグリッドベルトが擦れて損傷してしまう場合がある。これに加え、壁面材の固定孔にグリッドベルトを通した後に、壁面材の後方に裏込め材(砕石)を投入するため、裏込め材の投入によりグリッドベルトが損傷する場合がある。なお、グリッドベルトの損傷を防止するために、グリッドベルトに保護部材を装着することが考えられるが、すべてのグリッドベルトに保護部材を装着するには多大な労力を要する。
【0006】
また、補強土壁は高い耐震性を有していることから、河川護岸に用いることが検討されているが、従来構造の補強土壁は河川護岸に用いることができないという問題がある。補強土壁の壁面材は、流木や転石等の衝突に耐え得るようなものは採用されていないとともに、補強土壁が河川護岸に用いられた場合には、盛土材の吸出しの懸念がある。したがって、従来構造のままでは、補強土壁を河川護岸に用いることができない。
【0007】
本発明の課題は、補強土壁を構築する際に、壁面材の転倒および滑動を抑止する部材の損傷を防止できる河川護岸用の補強土壁を提供することである。
【課題を解決するための手段】
【0008】
本発明によれば、上記課題を解決する以下の河川護岸用の補強土壁が提供される。すなわち、
「河川護岸用の補強土壁であって、
河川に面して設置される護岸ブロックと、
前記護岸ブロックの後面に沿って設置された吸出し防止材と、
前記吸出し防止材の後方に敷設された裏込め材と、
前記裏込め材の後方に設置された枠材と、
前記枠材の下端から後方に延びる補強材と、
前記護岸ブロックの上面から後方に延びる金属製の定着金具とを備え、
前記定着金具は、上下方向に延びる垂直部分と、前記垂直部分の上端から水平に延びる水平部分とを有し、
前記護岸ブロックの上面には、前記定着金具の前記垂直部分が差し込まれる差し込み穴が形成されており、
前記護岸ブロックの前記差し込み穴に前記定着金具の前記垂直部分が差し込まれていることによって、前記護岸ブロックと前記定着金具とが連結されている河川護岸用の補強土壁」が提供される。
【0009】
好ましくは、前記護岸ブロックの上面には、前記差し込み穴から後方に延びる凹所が形成され、前記凹所には、前記定着金具の前記水平部分の一部が収容されている。前記定着金具の前記水平部分は、前記護岸ブロックの上面に締結具を介して締結されているのが望ましい。前記護岸ブロックの前記差し込み穴は、前記護岸ブロックの後面から15cm以上前方に形成され得る。前記護岸ブロックの前記差し込み穴に対する前記定着金具の前記垂直部分の差し込み深さは3cm以上10cm以下であるのが好適である。
【0010】
前記枠材は、底面部分と、前記底面部分の前端から上方に延びる起立部分とを有し、前記定着金具の前記水平部分は、前記枠材の前記起立部分を貫通しているのが望ましい。
(【0011】以降は省略されています)
この特許をJ-PlatPat(特許庁公式サイト)で参照する
関連特許
前田工繊産資株式会社
河川護岸用の補強土壁
1日前
公益財団法人鉄道総合技術研究所
樹脂吹付け方法
2か月前
三井住友建設株式会社
スプリンクラー配管構造とその設置方法
1か月前
個人
バケット
29日前
個人
建物の不同沈下の修正方法
1か月前
鹿島建設株式会社
接続方法
9日前
株式会社大林組
操縦装置
1か月前
株式会社富田製作所
継手部構造
29日前
千代田工営株式会社
回転貫入杭
1か月前
株式会社郷土開発
傾斜地の切土工法
8日前
ウエダ産業株式会社
アタッチメント
今日
株式会社熊谷組
山留壁用親杭
1か月前
日立建機株式会社
作業機械
21日前
日立建機株式会社
作業機械
1か月前
日立建機株式会社
作業車両
1か月前
株式会社クボタ
作業機
8日前
日本車輌製造株式会社
建設機械
1か月前
日立建機株式会社
建設機械
22日前
日立建機株式会社
作業機械
1か月前
ヤンマーホールディングス株式会社
作業機械
1か月前
日立建機株式会社
作業機械
1か月前
ヤンマーホールディングス株式会社
作業機械
1か月前
日立建機株式会社
建設機械
1か月前
日立建機株式会社
作業機械
1か月前
日立建機株式会社
建設機械
1か月前
FKS株式会社
擁壁及び擁壁の築造方法
1か月前
株式会社次世代一次産業実践所
登山道の施工装置
1か月前
鹿島建設株式会社
接続方法および接続構造
1か月前
株式会社三誠
建物の免震構造
1か月前
株式会社竹内製作所
作業用車両
1か月前
株式会社竹内製作所
作業用車両
1か月前
株式会社竹内製作所
作業用車両
1か月前
株式会社竹内製作所
作業用車両
1か月前
山形新興株式会社
建築物の基礎及び基礎成形型
1か月前
清水建設株式会社
遮水層の構築方法
1か月前
個人
アンカーボルト支持装置
1か月前
続きを見る
他の特許を見る