TOP
|
特許
|
意匠
|
商標
特許ウォッチ
Twitter
他の特許を見る
公開番号
2025154226
公報種別
公開特許公報(A)
公開日
2025-10-10
出願番号
2024057109
出願日
2024-03-29
発明の名称
作業用車両
出願人
株式会社竹内製作所
代理人
めぶき弁理士法人
主分類
E02F
9/00 20060101AFI20251002BHJP(水工;基礎;土砂の移送)
要約
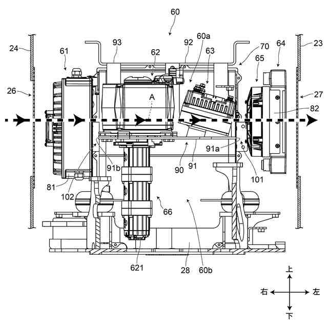
【課題】狭い機器収納空間を圧迫することなく、複数の冷却対象機器を効率的に冷却することができるとともに、低コスト化にも寄与できる作業用車両を提供する。
【解決手段】油圧ポンプ66が吐出する圧油により作動する作業装置と、内部に形成されている機器収納空間60に、油圧ポンプ66及び当該油圧ポンプ66を駆動する電動モータ63を含む複数の機器が収納されている上部旋回体20と、を備える作業用車両であって、複数の機器には、複数の冷却対象機器(車載充電器61,電動モータ62、インバータ63,オイルクーラー64)と、当該複数の冷却対象機器を冷却するための1つの冷却ファン65と、が存在している。そして、複数の冷却対象機器は、冷却ファン65によって生成される冷却風が流通する冷却風流通路Aに沿って配置されている。
【選択図】図3
特許請求の範囲
【請求項1】
油圧ポンプが吐出する圧油により作動する作業装置と、内部に形成されている機器収納空間に、前記油圧ポンプ及び当該油圧ポンプを駆動する電動モータを含む複数の機器が収納されている作業用車両本体と、を備える作業用車両であって、
前記複数の機器には、前記電動モータを含む複数の冷却対象機器と、当該複数の冷却対象機器を冷却するための1つの冷却ファンと、が含まれており、
前記複数の冷却対象機器は、前記冷却ファンによって生成される冷却風が流通する冷却風流通路に沿って配置されていることを特徴とする作業用車両。
続きを表示(約 1,100 文字)
【請求項2】
請求項1に記載の作業用車両において、
前記機器収納空間は、前記作業用車両本体の上面カバー、後面カバー、左側面カバー、右側面カバー及び前面カバーで囲まれた空間であり、
前記冷却風流通路は、前記左側面カバー及び前記右側面カバーのうちの一方の側面カバーに設けられている吸気口と他方の側面カバーに設けられている排気口との間に形成されることを特徴とする作業用車両。
【請求項3】
請求項2に記載の作業用車両において、
前記複数の冷却対象機器には、前記電動モータの他に、当該電動モータを制御するインバータと、前記圧油を冷却するオイルクーラーと、が含まれており、前記冷却風流通路を流通する冷却風の上流側から、前記電動モータ、前記インバータ、前記オイルクーラーの順で配置され、前記冷却ファンは、前記オイルクーラーと前記インバータとの間で、かつ、前記オイルクーラーに対向して配置されていることを特徴とする作業用車両。
【請求項4】
請求項3に記載の作業用車両において、
前記冷却ファンは、前記オイルクーラーに付属している冷却ファンであることを特徴とする作業用車両。
【請求項5】
請求項3に記載の作業用車両において、
前記後面カバーと前記電動モータ及び前記インバータとの間には、前記電動モータに電力を供給するバッテリパックが立設されているとともに、前記バッテリパックと前記前面カバーとの間には、前記電動モータ及び前記インバータが載置された状態で取り付けられているプレートが設けられており、
前記プレートは、前記機器収納空間における上下方向の中途部に位置し、当該プレートを境に、前記機器収納空間のうちの前記上面カバー、前記左側面カバー、前記右側面カバー、前記前面カバー及び前記バッテリパックで囲まれる空間を上部空間と下部空間とに仕切る仕切り板としての機能を有することを特徴とする作業用車両。
【請求項6】
請求項5に記載の作業用車両において、
前記プレートは、前記下部空間に存在する空気を前記冷却風流通路に流入させることができる開口部が形成されるように、前記バッテリパックと前記前面カバーとの間に設けられていることを特徴とする作業用車両。
【請求項7】
請求項3に記載の作業用車両において、
前記複数の冷却対象機器には、車載充電器がさらに含まれており、前記冷却風流通路を流通する冷却風の上流側から、前記車載充電器、前記電動モータ、前記インバータ、前記オイルクーラーの順で配置されていることを特徴とする作業用車両。
発明の詳細な説明
【技術分野】
【0001】
本発明は、作業用車両に関する。
続きを表示(約 1,600 文字)
【背景技術】
【0002】
作業用車両として油圧ショベルが知られている。油圧ショベルは、クローラ機構などを有する下部走行体と、下部走行体上に旋回可能に設けられた上部旋回体と、上部旋回体に取り付けられており、バケットなどのアタッチメントの取り付けが可能な作業装置とを備えた構成となっている。
【0003】
このような油圧ショベルにおいて、近年、排気ガスを排出せず、騒音及び振動も大幅に低減する利点を有することから、エンジンの代わりに電動モータを搭載し、電動モータによって油圧ポンプを駆動する電動式の作業用車両が広く普及している(例えば、特許文献1参照)。
【0004】
特許文献1に記載の作業用車両は、図示は省略するが、上部旋回体の内部に、油圧ポンプと、油圧ポンプを駆動する電動モータと、電動モータを冷却する冷却ファン(第1冷却ファン)と、オイルクーラー(熱交換器)と、オイルクーラーを冷却する冷却ファン(第2冷却ファン)と、を備えている。
【0005】
特許文献1に記載の作業用車両においては、第1冷却ファンは電動モータの回転軸に取り付けられており、電動モータの回転に伴って第1冷却ファンが回転する。これによって吸気口から外気が冷却風として流入して、電動モータを冷却する。また、第2冷却ファンが回転することにより、吸気口から外気が冷却風として流入して、オイルクーラーを冷却するが、当該第2冷却ファンにより生成される冷却風は、電動モータの周囲にも導かれる。このため、第2冷却ファンは、オイルクーラーだけではなく電動モータの冷却を行う機能を有している。
【0006】
特許文献1に記載の作業用車両によれば、アイドリング時における電動モータの回転数の低下に伴って第1冷却ファンの冷却能力が低下した場合でも、第2冷却ファンによって生成される冷却風によって電動モータを冷却することができる。これにより、アイドリング時の電動モータに対する冷却能力の低下を抑えることができるとしている。
【先行技術文献】
【特許文献】
【0007】
特許第5185082号公報
【発明の概要】
【発明が解決しようとする課題】
【0008】
作業用車両としては、作業内容や作業現場の状況に応じて、より小型化された作業用車両の需要も多い。このような小型の作業用車両においては、各種機器を収納するための空間(以下では、機器収納空間と称することとする)が必然的に狭いものとなる。このため、電動モータ、インバータ、オイルクーラーの他、電動モータによって駆動される油圧ポンプ、電動モータに電力を供給するバッテリ、油圧ポンプから吐出される圧油を流通させるための配管、電気系統の配線ケーブルなどを機器収納空間内に高密度で収納せざるを得ない。従って、小型の作業用車両においては、機器収納空間を如何に有効利用するかが重要となる。
【0009】
一方、特許文献1に記載の作業用車両においては、上述したように、冷却ファンとしては、電動モータを冷却する冷却ファン(第1冷却ファン)と、オイルクーラーを冷却する冷却ファン(第2冷却ファン)との2つの冷却ファンを備えている。このため、小型の作業用車両においては、狭い機器収納空間が圧迫されるといった課題がある。また、2つの冷却ファンを備えることによってコストアップにも繋がるといった課題もある。
【0010】
そこで、本発明は上述した課題を解決するためになされたものであり、狭い機器収納空間を圧迫することなく、複数の冷却対象機器を効率的に冷却することができるとともに、低コスト化にも寄与できる作業用車両を提供することを目的とする。
【課題を解決するための手段】
(【0011】以降は省略されています)
この特許をJ-PlatPat(特許庁公式サイト)で参照する
関連特許
個人
バケット
1か月前
個人
建物の不同沈下の修正方法
1か月前
鹿島建設株式会社
接続方法
11日前
千代田工営株式会社
回転貫入杭
1か月前
株式会社富田製作所
継手部構造
1か月前
株式会社大林組
操縦装置
1か月前
ウエダ産業株式会社
アタッチメント
2日前
株式会社郷土開発
傾斜地の切土工法
10日前
日立建機株式会社
作業機械
1か月前
日立建機株式会社
作業機械
23日前
日立建機株式会社
作業車両
1か月前
日本車輌製造株式会社
建設機械
1か月前
ヤンマーホールディングス株式会社
作業機械
1か月前
ヤンマーホールディングス株式会社
作業機械
1か月前
株式会社クボタ
作業機
10日前
日立建機株式会社
建設機械
24日前
FKS株式会社
擁壁及び擁壁の築造方法
1か月前
株式会社次世代一次産業実践所
登山道の施工装置
1か月前
株式会社三誠
建物の免震構造
1か月前
鹿島建設株式会社
接続方法および接続構造
1か月前
山形新興株式会社
建築物の基礎及び基礎成形型
1か月前
日本車輌製造株式会社
杭打機の表示システム
26日前
ナブテスコ株式会社
ドーザブレード駆動機構
23日前
個人
アンカーボルト支持装置
1か月前
日本車輌製造株式会社
杭打機の制御システム
1か月前
株式会社大林組
掘削支援装置及び掘削支援方法
4日前
日本車輌製造株式会社
建設機械の電源システム
1か月前
株式会社大林組
評価支援装置及び評価支援方法
1か月前
株式会社大林組
施工支援装置及び施工支援方法
1か月前
株式会社大林組
施工支援装置及び施工支援方法
1か月前
株式会社大林組
施工支援装置及び施工支援方法
1か月前
株式会社大林組
免震構造及び免震構造の施工方法
26日前
個人
保護カバー及び保護カバーの取付方法
26日前
北海道電力株式会社
滞留水への酸素供給方法
1か月前
大成建設株式会社
推定方法
1か月前
ヤンマーホールディングス株式会社
作業機械
10日前
続きを見る
他の特許を見る