TOP
|
特許
|
意匠
|
商標
特許ウォッチ
Twitter
他の特許を見る
公開番号
2025166452
公報種別
公開特許公報(A)
公開日
2025-11-06
出願番号
2024070514
出願日
2024-04-24
発明の名称
作業支援装置および作業機械
出願人
キャタピラー エス エー アール エル
代理人
個人
,
個人
主分類
E02F
3/43 20060101AFI20251029BHJP(水工;基礎;土砂の移送)
要約
【課題】施工面に対してバケットを容易に直線状に作用させることができる作業支援装置およびこれを備える作業機械を提供する。
【解決手段】作業支援装置は、バケット9の位置を自動制御するための作業支援装置であって、下部走行体2の走行が停止している状態で、上部旋回体3の旋回およびスティック8の回動の操作指令に基き、ブーム7と、スティック8と、バケット9と、上部旋回体3と、チルト機構25と、旋回機構26と、の動作を、バケット9を所定の向きおよび角度で直線状に移動させるように制御するコントローラ50を備える。
【選択図】図1
特許請求の範囲
【請求項1】
走行可能な下部走行体およびこの下部走行体に対し旋回可能な上部旋回体を有する機体と、上部旋回体に対して回動可能なブーム、このブームに対して回動可能なスティック、および、このスティックに対し回動可能なバケットを有する作業装置と、下部走行体、上部旋回体、ブーム、スティック、および、バケットをそれぞれ動作させるアクチュエータと、を備え、バケットを回動方向と交差する方向に揺動可能に支持するチルト機構と、このチルト機構に対してバケットを旋回可能に支持する旋回機構と、が作業装置に取り付けられた作業機械に用いられ、バケットの位置を自動制御するための作業支援装置であって、
下部走行体の走行が停止している状態で、上部旋回体の旋回およびスティックの回動の操作指令に基き、ブームと、スティックと、バケットと、上部旋回体と、チルト機構と、旋回機構と、の動作を、バケットを所定の向きおよび角度で直線状に移動させるように制御する制御部を備える
ことを特徴とする作業支援装置。
続きを表示(約 350 文字)
【請求項2】
所定の向きは、下部走行体の向きと平行な方向である
ことを特徴とする請求項1記載の作業支援装置。
【請求項3】
下部走行体およびこの下部走行体に対し旋回可能な上部旋回体を有する機体と、
上部旋回体に対して回動可能なブーム、このブームに対して回動可能なスティック、このスティックに対し回動可能なバケットを有し、バケットを回動方向と交差する方向に揺動可能に支持するチルト機構と、このチルト機構に対してバケットを旋回可能に支持する旋回機構と、を取り付け可能な作業装置と、
下部走行体、上部旋回体、ブーム、スティック、バケットをそれぞれ動作させるアクチュエータと、
請求項1または2記載の作業支援装置と、
を備えることを特徴とする作業機械。
発明の詳細な説明
【技術分野】
【0001】
本発明は、バケットを自動制御する作業支援装置およびこれを備える作業機械に関する。
続きを表示(約 2,200 文字)
【背景技術】
【0002】
作業機械としての油圧ショベルを用いて行う作業の一例として、土木作業の仕上げ工程として行われる均し作業がある。均し作業(操作)は通常、ブーム、スティック、バケットを連動操作してバケット底面を地面に対して所定の角度に保ちながら動かす操作であり、この操作により油圧ショベルの上部旋回体の前方の地面を車両の前後方向に直線状に均すことが可能である。しかしながら、均したい地面が広範囲でフロント作業装置の前後方向の動きで作業可能な範囲を超えている場合、あるいは均したい地面が斜面であるなど車両を安全に停止できない場合には、フロント作業装置の向きに対して横(左右)方向にも操作する必要が生じる。このような場合、従来、オフセットブームと呼ばれるブームを車両の左右方向にオフセットできる構造を備えた特殊な作業機械を使用するか、機体を何度も横方向に走行させて機体位置(フロント作業装置の位置)を動かしながら作業する必要があり、作業に時間を要している。
【0003】
一方で、チルトローテータと呼ばれるアタッチメントをスティックとバケットとの間に装着すればバケットを左右に旋回させることができ、フロント作業機の向きに対して横(左右)方向に掘削したり均し操作をしたりすることが可能となる。但し、この場合バケットの車両の横方向への動作は上部旋回体の旋回によるためバケットは直線状ではなく円弧状に動くこととなり、地面を直線状に均すためには旋回操作に合わせてブームやスティックの操作によりバケットの車両前後方向位置を調整する必要があり、操作は容易ではない。
【0004】
同様に、予め教示操作などにより設定された所定の軸に沿ってフロント作業装置を動作させることで、上記の課題を解決しようとするものが知られている(例えば、特許文献1参照)。しかしながら、この構成の場合、均し操作による実作業を開始するまでに教示操作などの煩雑な準備作業が必要となる。加えて、バケット上のある点が平面視で設定された教示軸に沿って移動するように旋回動作を自動制御するものであるから、オペレータは依然として施工面に対するバケット高さやバケット底面の角度を調節しながらフロント作業装置を連動操作する必要があり、主にフロント作業装置の向きに対して横(左右)方向にバケットを直線状に動作させて均し作業をする場合には、やはり操作は容易でない。
【先行技術文献】
【特許文献】
【0005】
国際公開第2019/049701号
【発明の概要】
【発明が解決しようとする課題】
【0006】
本発明は、このような点に鑑みなされたもので、施工面に対してバケットを容易に直線状に作用させることができる作業支援装置およびこれを備える作業機械を提供することを目的とするものである。
【課題を解決するための手段】
【0007】
本発明の作業支援装置は、走行可能な下部走行体およびこの下部走行体に対し旋回可能な上部旋回体を有する機体と、上部旋回体に対して回動可能なブーム、このブームに対して回動可能なスティック、および、このスティックに対し回動可能なバケットを有する作業装置と、下部走行体、上部旋回体、ブーム、スティック、および、バケットをそれぞれ動作させるアクチュエータと、を備え、バケットを回動方向と交差する方向に揺動可能に支持するチルト機構と、このチルト機構に対してバケットを旋回可能に支持する旋回機構と、が作業装置に取り付けられた作業機械に用いられ、バケットの位置を自動制御するための作業支援装置であって、下部走行体の走行が停止している状態で、上部旋回体の旋回およびスティックの回動の操作指令に基き、ブームと、スティックと、バケットと、上部旋回体と、チルト機構と、旋回機構と、の動作を、バケットを所定の向きおよび角度で直線状に移動させるように制御する制御部を備える。
【発明の効果】
【0008】
本発明によれば、施工面に対してバケットを容易に直線状に作用させることができる。
【図面の簡単な説明】
【0009】
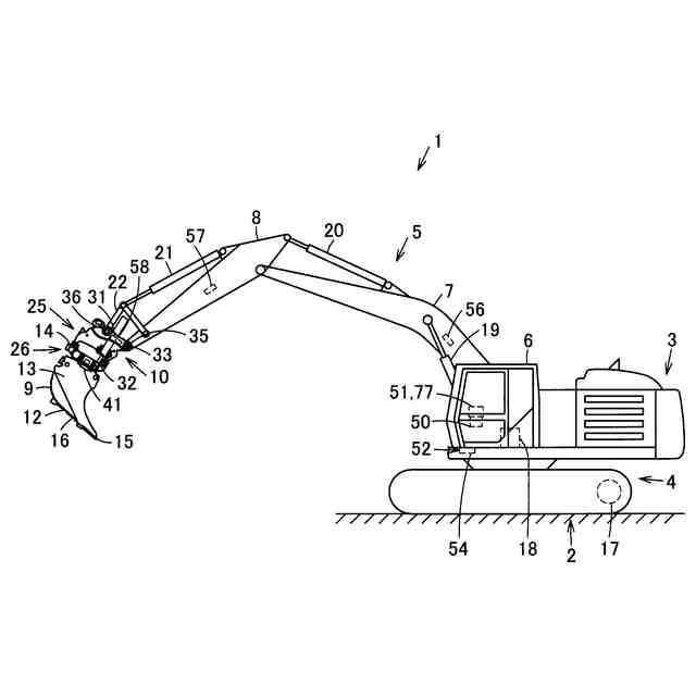
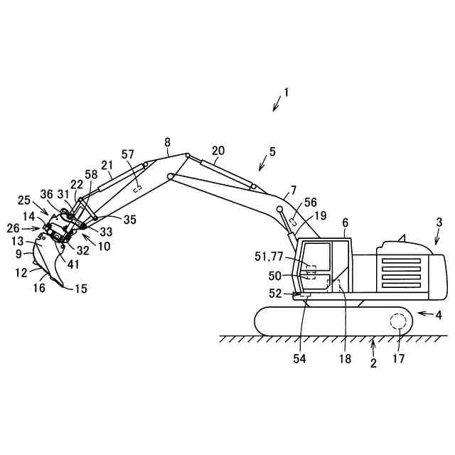
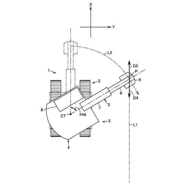
本発明に係る作業支援装置を備える作業機械の一実施の形態を模式的に示す側面図である。
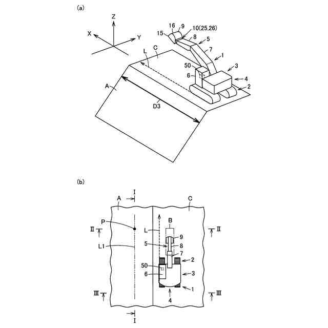
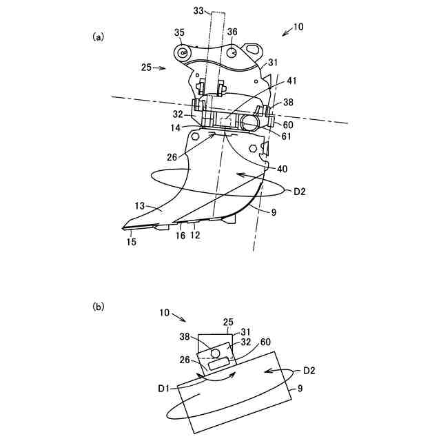
同上作業機械のチルト機構および旋回機構を示し、(a)はその側面図、(b)は模式的に示す正面図である。
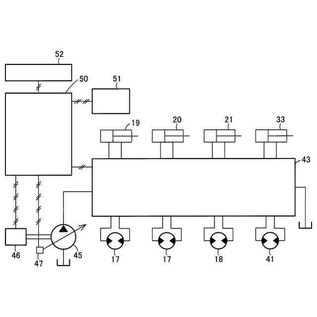
同上作業機械の油圧回路図である。
同上作業支援装置を示すブロック図である。
同上作業機械および作業支援装置による自動制御を実施する施工面を示し(a)は斜視図、(b)は平面図である。
同上自動制御を示すフローチャートである。
同上自動制御時のバケットの動作方向を模式的に示すモデル図である。
同上作業機械による施工面の傾斜を示し、(a)は図5(b)のI-I相当位置の断面図、(b)は図5(b)のII-II相当位置の断面図、(c)は図5(b)のIII-III相当位置の断面図である。
【発明を実施するための形態】
【0010】
以下、本発明を、図1乃至図8に示された一実施の形態に基いて詳細に説明する。
(【0011】以降は省略されています)
この特許をJ-PlatPat(特許庁公式サイト)で参照する
関連特許
個人
バケット
1か月前
個人
建物の不同沈下の修正方法
1か月前
鹿島建設株式会社
接続方法
19日前
株式会社富田製作所
継手部構造
1か月前
株式会社大林組
操縦装置
1か月前
ウエダ産業株式会社
アタッチメント
10日前
株式会社郷土開発
傾斜地の切土工法
18日前
エポコラム機工株式会社
地盤改良装置
3日前
株式会社クボタ
作業機
18日前
日本車輌製造株式会社
建設機械
3日前
日立建機株式会社
建設機械
1か月前
日立建機株式会社
作業機械
1か月前
日立建機株式会社
建設機械
5日前
FKS株式会社
擁壁及び擁壁の築造方法
1か月前
株式会社三誠
建物の免震構造
1か月前
株式会社次世代一次産業実践所
登山道の施工装置
1か月前
ナブテスコ株式会社
ドーザブレード駆動機構
1か月前
日本車輌製造株式会社
杭打機の制御システム
1か月前
日本車輌製造株式会社
杭打機の表示システム
1か月前
株式会社大林組
施工支援装置及び施工支援方法
1か月前
株式会社大林組
評価支援装置及び評価支援方法
1か月前
日本車輌製造株式会社
建設機械の電源システム
1か月前
株式会社大林組
施工支援装置及び施工支援方法
1か月前
株式会社大林組
施工支援装置及び施工支援方法
1か月前
株式会社大林組
掘削支援装置及び掘削支援方法
12日前
株式会社大林組
免震構造及び免震構造の施工方法
1か月前
個人
保護カバー及び保護カバーの取付方法
1か月前
エポコラム機工株式会社
地盤改良装置及び地盤改良工法
3日前
エポコラム機工株式会社
地盤改良装置及び地盤改良工法
3日前
コベルコ建機株式会社
建設機械
5日前
ジャパンパイル株式会社
基礎構造の設計方法及び基礎構造
5日前
ヤンマーホールディングス株式会社
作業機械
18日前
ヤンマーホールディングス株式会社
作業機械
18日前
コベルコ建機株式会社
建設機械
5日前
大成建設株式会社
推定方法
1か月前
個人
真空バケット浚渫工法と真空バケット及び真空バケット浚渫船
1か月前
続きを見る
他の特許を見る