TOP
|
特許
|
意匠
|
商標
特許ウォッチ
Twitter
他の特許を見る
10個以上の画像は省略されています。
公開番号
2025175829
公報種別
公開特許公報(A)
公開日
2025-12-03
出願番号
2024082112
出願日
2024-05-20
発明の名称
建設機械
出願人
コベルコ建機株式会社
代理人
弁理士法人三協国際特許事務所
主分類
E02F
3/84 20060101AFI20251126BHJP(水工;基礎;土砂の移送)
要約
【課題】燃料電池装置から生成される水を燃料電池装置から離れた位置で貯留することのできる建設機械を提供する。
【解決手段】下部走行体1と、下部走行体1に対して旋回可能に支持された上部旋回体2と、上部旋回体2に搭載された燃料電池装置42と、燃料電池装置42で生成された水を排水として排出する排出口32と、排出口32から排出された排水を貯留するタンク80と、を備え、排出口32は、上部旋回体2の下面または前記下面よりも下方に配置され、タンク80は、下部走行体2に配置されている。
【選択図】図6
特許請求の範囲
【請求項1】
下部走行体と、
前記下部走行体に対して旋回可能に支持された上部旋回体と、
前記上部旋回体に搭載された燃料電池装置と、
前記燃料電池装置で生成された水を排水として排出する排出口と、
前記排出口から排出された前記排水を貯留する貯留部と、を備え、
前記排出口は、前記上部旋回体の下面または前記下面よりも下方に配置され、
前記貯留部は、前記下部走行体に配置されている、建設機械。
続きを表示(約 980 文字)
【請求項2】
前記下部走行体は、液体を注ぎ入れることが可能な開口部を備え、
前記貯留部は、前記液体として前記開口部に注ぎ入れられた前記排水を貯留する、請求項1に記載の建設機械。
【請求項3】
前記開口部は、前記貯留部の上部に形成されている、請求項2に記載の建設機械。
【請求項4】
前記下部走行体は、前記貯留部よりも上方に配置され、前記開口に注ぎ入れられた前記排水を受ける第2の貯留部と、前記第2の貯留部に受けられた前記排水を前記貯留部に導く導水機構と、を備える、請求項2に記載の建設機械。
【請求項5】
前記開口部は、前記排出口に対して鉛直下方に位置している、請求項2に記載の建設機械。
【請求項6】
前記開口部は、前記上部旋回体が前記下部走行体に対して旋回可能になるように、前記上部旋回体を前記下部走行体に連結する旋回輪の旋回中心と前記排出口との間の距離を半径とする仮想の円を想定したときに、前記円の鉛直下方に位置するように配置される、請求項5に記載の建設機械。
【請求項7】
前記開口部は、当該開口部を上から見たとき、前記円と前記旋回中心との間から前記円よりも外側の位置に及ぶ領域の鉛直下方に位置するように配置されている、請求項6に記載の建設機械。
【請求項8】
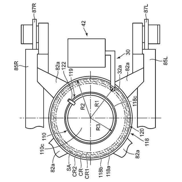
前記上部旋回体が前記下部走行体に対して旋回可能になるように、前記上部旋回体を前記下部走行体に連結する旋回輪を備えており、
前記排出口は、当該排出口を上から見たとき、前記旋回輪の旋回中心と前記旋回輪との間の位置に配置される、請求項1~7の何れか1項に記載の建設機械。
【請求項9】
前記上部旋回体が前記下部走行体に対して旋回可能になるように、前記上部旋回体を前記下部走行体に連結する旋回輪を備えており、
前記排出口は、当該排出口を上から見たとき、前記旋回輪の外側の位置に配置される、請求項1~7の何れか1項に記載の建設機械。
【請求項10】
前記貯留部は、前記貯留部内に貯留した排水を前記貯留部外に排出するための開閉可能な排水栓を備えている、請求項1~7の何れか1項に記載の建設機械。
(【請求項11】以降は省略されています)
発明の詳細な説明
【技術分野】
【0001】
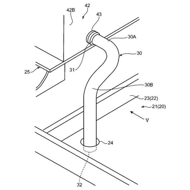
本開示は、燃料電池装置を動力源として駆動する建設機械に関する。
続きを表示(約 1,700 文字)
【背景技術】
【0002】
水素燃料電池を動力源として駆動する建設機械が提案されている。特許文献1に記載の機械がその一例である。特許文献1に記載の機械は、エネルギー貯蔵システムとして燃料電池を含み、エネルギー貯蔵システムの少なくとも一部は、カウンタウエイトの一部として設置されている。
【先行技術文献】
【特許文献】
【0003】
特開2014-9589号公報
【発明の概要】
【発明が解決しようとする課題】
【0004】
ところで、燃料電池装置の排水が滞留すると、燃料電池装置で生成された水の排水の妨げとなり、燃料電池装置の運転効率の低下を招いてしまう。特に、低温時には、滞留した水が凍結するおそれもあり、燃料電池装置の運転効率のさらなる低下を招くおそれがある。また、燃料電池装置で生成された水をその場で排水すると、排水が下部走行体に付着して錆の原因になったり、排水が望ましくない作業現場での意図しない排水となったりしてしまうおそれがある。
【0005】
本開示は、上記課題を解消するために為されたものであり、その目的は、燃料電池装置で生成される水を燃料電池装置から離れた位置で貯留することのできる建設機械を提供することにある。
【課題を解決するための手段】
【0006】
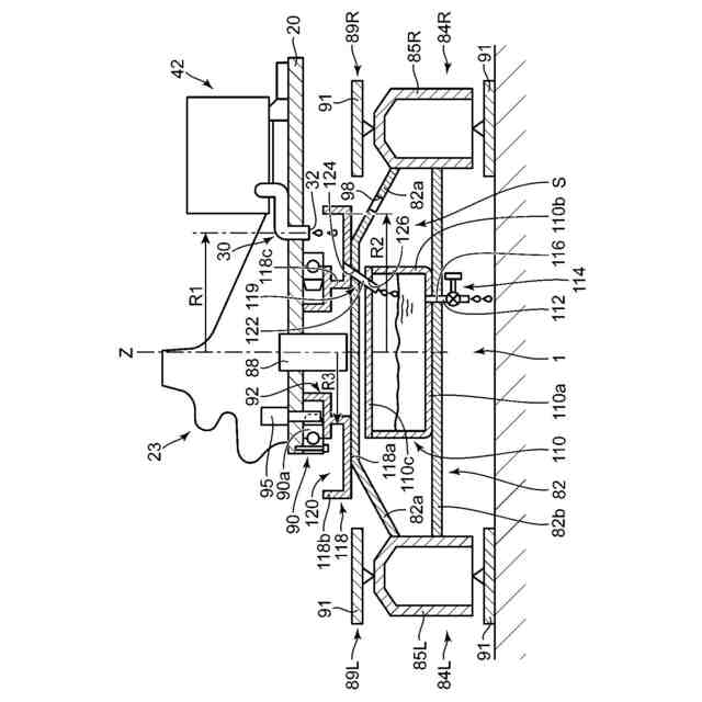
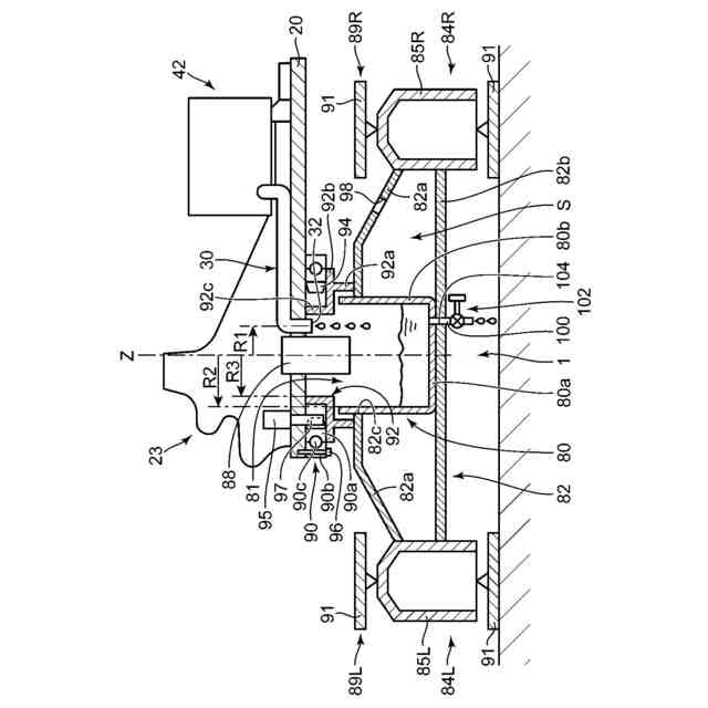
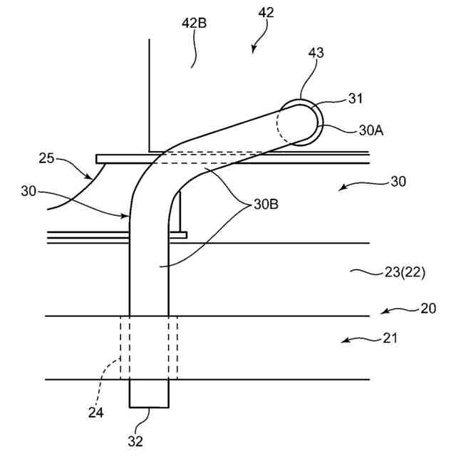
第1の態様に係る建設機械は、下部走行体と、前記下部走行体に対して旋回可能に支持された上部旋回体と、前記上部旋回体に搭載された燃料電池装置と、前記燃料電池装置で生成された水を排水として排出する排出口と、前記排出口から排出された前記排水を貯留する貯留部と、を備え、前記排出口は、前記上部旋回体の下面または前記下面よりも下方に配置され、前記貯留部は、前記下部走行体に配置されている。
【0007】
第1の態様に係る作業機械では、燃料電池装置で生成された水を、燃料電池装置から離れた位置にある下部走行体に配置された貯留部に貯留することができる。具体的には、上部旋回体に搭載された燃料電池装置の排出口から排出された排水は、重力に導かれるため、排水が上部旋回体に滞留することが抑制される。また、排出口から排出された排水は、燃料電池装置から離れた下部走行体に配置された貯留部に貯留されるため、排水が下部走行体に付着して錆の原因となることや排水が望ましくない作業現場での排水を抑制できる。
【0008】
第2の態様に係る建設機械は、第1の態様に係る建設機械において、さらに次の特徴を備えることが好ましい。すなわち、第2の態様に係る建設機械では、前記下部走行体は、液体を注ぎ入れることが可能な開口部を備え、前記貯留部は、前記液体として前記開口部に注ぎ入れられた前記排水を貯留する。第2の態様によれば、排水口から排出された排水を、下部走行体に形成された開口部を経由して、貯留部に貯留することができる。
【0009】
第3の態様に係る建設機械は、第2の態様に係る建設機械において、さらに次の特徴を備えることが好ましい。すなわち、第3の態様に係る建設機械では、前記開口部は、前記貯留部の上部に形成されている。第3の態様によれば、開口部が貯留部と一体的に構成されているので、コンパクトに構成でき、開口部で受けた排水を直接貯留部に貯留できる。
【0010】
第4の態様に係る建設機械は、第2の態様に係る建設機械において、さらに次の特徴を備えることが好ましい。すなわち、第4の態様に係る建設機械では、前記下部走行体は、前記貯留部よりも上方に配置され、前記開口に注ぎ入れられた前記排水を受ける第2の貯留部と、前記第2の貯留部に受けられた前記排水を前記貯留部に導く導水機構と、を備える。第4の態様によれば、排出口から排出された排水が第2の貯留部で回収されて一時的に貯留された後に、排水が導水機構を経由して貯留部に導かれて貯留部に貯留される。よって、貯留部と第2の貯留部とを別々の位置に配置することができる。
(【0011】以降は省略されています)
この特許をJ-PlatPat(特許庁公式サイト)で参照する
関連特許
鹿島建設株式会社
接続方法
16日前
株式会社富田製作所
継手部構造
1か月前
ウエダ産業株式会社
アタッチメント
7日前
株式会社郷土開発
傾斜地の切土工法
15日前
日立建機株式会社
建設機械
2日前
日立建機株式会社
建設機械
29日前
エポコラム機工株式会社
地盤改良装置
今日
株式会社クボタ
作業機
15日前
日本車輌製造株式会社
建設機械
今日
日立建機株式会社
作業機械
28日前
日本車輌製造株式会社
杭打機の表示システム
1か月前
ナブテスコ株式会社
ドーザブレード駆動機構
28日前
株式会社大林組
掘削支援装置及び掘削支援方法
9日前
エポコラム機工株式会社
地盤改良装置及び地盤改良工法
今日
個人
保護カバー及び保護カバーの取付方法
1か月前
株式会社大林組
免震構造及び免震構造の施工方法
1か月前
エポコラム機工株式会社
地盤改良装置及び地盤改良工法
今日
ヤンマーホールディングス株式会社
作業機械
15日前
ヤンマーホールディングス株式会社
作業機械
15日前
ジャパンパイル株式会社
基礎構造の設計方法及び基礎構造
2日前
コベルコ建機株式会社
建設機械
2日前
コベルコ建機株式会社
建設機械
2日前
鹿島建設株式会社
生態系環境改善部材及び生態系環境改善構造
28日前
個人
斜面保護構造、及び、斜面保護構造施工方法
28日前
鹿島建設株式会社
基礎構造および構築方法
7日前
住友重機械工業株式会社
作業機械用の遠隔操作システム
28日前
日本製紙株式会社
紙製ドレーン
9日前
株式会社サンワールド
地盤改良装置
今日
株式会社エスイー
法面安定化擁壁における擁壁パネルの支持構造
1か月前
大成建設株式会社
地盤計測システム
28日前
住友重機械工業株式会社
ショベル、ショベルの操作システム
23日前
株式会社大林組
解析システム、解析方法及び解析プログラム
8日前
ヤンマーホールディングス株式会社
作業機械
28日前
ヤンマーホールディングス株式会社
作業機械
28日前
清水建設株式会社
地中連続壁の終局せん断耐力算定方法
28日前
株式会社 林物産発明研究所
発電装置付洪水防止装置及び工事代金償還方法
1日前
続きを見る
他の特許を見る