TOP
|
特許
|
意匠
|
商標
特許ウォッチ
Twitter
他の特許を見る
公開番号
2025176632
公報種別
公開特許公報(A)
公開日
2025-12-04
出願番号
2024082914
出願日
2024-05-21
発明の名称
発電装置付洪水防止装置及び工事代金償還方法
出願人
株式会社 林物産発明研究所
代理人
主分類
E02B
3/10 20060101AFI20251127BHJP(水工;基礎;土砂の移送)
要約
【課題】実質的に設置工事費用を低減できる発電装置付洪水防止装置を提供する。
【解決手段】発電装置付洪水防止装置10は、止水構造20と、止水構造20上に離間して設けられた複数の柱30と、各柱30に設けられた風力発電機40と、隣接する柱30で固定されるソーラーパネル50とから構成される。
【選択図】図1
特許請求の範囲
【請求項1】
止水構造と、
前記止水構造上に離間して設けられた複数の柱と、
各前記柱に設けられた風力発電機と、
隣接する前記柱で固定されるソーラーパネルを有する発電装置付洪水防止装置。
続きを表示(約 770 文字)
【請求項2】
前記ソーラーパネルが前記柱に設けたソーラーパネル固定材で固定される、請求項1の発電装置付洪水防止装置。
【請求項3】
前記止水構造が河川の両側にあり、前記ソーラーパネルが前記河川の両側の前記止水構造上の前記柱で固定されて河川上に懸架される、請求項1の発電装置付洪水防止装置。
【請求項4】
更に土台を有し、前記止水構造が前記土台の幅方向の一方の端にあり、他方の端に前記複数の柱に対応してもう一列複数の柱を有し、前記ソーラーパネルが両側の柱で固定されて前記土台の上方に懸架され、もう一列の複数の柱に風力発電機を有し、堤防上に設置される、発電装置付洪水防止装置。
【請求項5】
前記河川の長手方向に隣接する前記柱を連絡する梁と、前記梁に設けられた第二風力発電機を更に有する、請求項4の発電装置付洪水防止装置。
【請求項6】
前記ソーラーパネルが前記土台の幅方向で傾けて懸架され、前記風力発電機が、前記ソーラーパネルが高い側ではソーラーパネルの下方に、前記ソーラーパネルが低い側ではソーラーパネルの上方に設けられ、前記梁が、前記ソーラーパネルが高い側ではソーラーパネルの上方に、前記ソーラーパネルが低い側ではソーラーパネルの下方に設けられる、請求項5の発電装置付洪水防止装置。
【請求項7】
止水構造と、前記止水構造上に離間して設けられた複数の柱と、各前記柱に設けられた風力発電機と、隣接する前記柱で固定されるソーラーパネルを有する発電装置付洪水防止装置を設置するステップと、
前記風力発電機及び/又は前記ソーラーパネルにより発電した電気の売却利益で前記発電装置付洪水防止装置の設置工事費用を償還するステップを有する、工事代金償還方法。
発明の詳細な説明
【技術分野】
【0001】
本発明は、洪水防止装置及び洪水防止装置の工事代金償還方法に関する。
続きを表示(約 1,200 文字)
【背景技術】
【0002】
地球温暖化のため集中豪雨によって一度に降る雨量が増大してきており、水があふれたり、堤防が決壊したりして河川が氾濫することが毎年のように発生している。河川氾濫の対策の1つとして、堤防の嵩上げがある(例えば、特許文献1)。
【先行技術文献】
【特許文献】
【0003】
特開2010-111993号公報
【発明の概要】
【発明が解決しようとする課題】
【0004】
予算等の問題により、堤防嵩上げ等の堤防工事がなかなか進んでいないのが実情である。本発明は、実質的に設置工事費用を低減できる発電装置付洪水防止装置及び同装置の工事代金償還方法を提供することを目的とする。
【課題を解決するための手段】
【0005】
本願には、
止水構造と、
前記止水構造上に離間して設けられた複数の柱と、
各前記柱に設けられた風力発電機と、
隣接する前記柱で固定されるソーラーパネルを有する発電装置付洪水防止装置が開示される。
【図面の簡単な説明】
【0006】
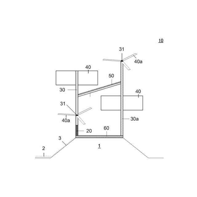
本発明の実施形態の発電装置付洪水防止装置10を側面図で示す。
本発明の第一変形形態の発電装置付洪水防止装置10を側面図で示す。
本発明の第一変形形態の発電装置付洪水防止装置10を平面図で示す。
本発明の第二変形形態の発電装置付洪水防止装置10を側面図で示す。
本発明の第二変形形態の発電装置付洪水防止装置10を平面図で示す。
【発明を実施するための形態】
【0007】
図1は、本発明の実施形態の発電装置付洪水防止装置10を側面図で示す。図に示すように堤防1は、河川2側の法面3と天端4を有する。天端4は道路、遊歩道等として使用されうる。発電装置付洪水防止装置10は、河川2の流れ方向(長手方向)に沿って設置される。天端4上、特に河川2に近い側に設置するとよい。図では、発電装置付洪水防止装置10を河川2の両側の堤防1上に設けているが、片側のみに設けてもよい。
【0008】
発電装置付洪水防止装置10は、止水構造20と、複数の柱30と、風力発電機(風車)40とソーラーパネル50を有する。
【0009】
柱30は、止水構造20上で長手方向に離間して設けられる。風車40は各柱30に設けられ、それぞれ柱30を軸にして回転して発電する。
【0010】
ソーラーパネル50は隣接する柱30で固定される。ソーラーパネル50は発電効率が上がるような向き(例えば、図1の右上がり(50a)又は右下がり(50b))で固定するとよい。図のように、ソーラーパネル50は、柱30が有するソーラーパネル固定材51で固定されてもよい。
(【0011】以降は省略されています)
この特許をJ-PlatPat(特許庁公式サイト)で参照する
関連特許
個人
バケット
1か月前
個人
建物の不同沈下の修正方法
1か月前
鹿島建設株式会社
接続方法
18日前
株式会社富田製作所
継手部構造
1か月前
株式会社大林組
操縦装置
1か月前
千代田工営株式会社
回転貫入杭
1か月前
株式会社郷土開発
傾斜地の切土工法
17日前
ウエダ産業株式会社
アタッチメント
9日前
株式会社クボタ
作業機
17日前
日立建機株式会社
建設機械
4日前
ヤンマーホールディングス株式会社
作業機械
1か月前
ヤンマーホールディングス株式会社
作業機械
1か月前
日立建機株式会社
作業機械
1か月前
日立建機株式会社
作業機械
1か月前
日本車輌製造株式会社
建設機械
2日前
日立建機株式会社
建設機械
1か月前
エポコラム機工株式会社
地盤改良装置
2日前
FKS株式会社
擁壁及び擁壁の築造方法
1か月前
株式会社三誠
建物の免震構造
1か月前
株式会社次世代一次産業実践所
登山道の施工装置
1か月前
山形新興株式会社
建築物の基礎及び基礎成形型
1か月前
日本車輌製造株式会社
杭打機の表示システム
1か月前
ナブテスコ株式会社
ドーザブレード駆動機構
1か月前
日本車輌製造株式会社
杭打機の制御システム
1か月前
個人
アンカーボルト支持装置
1か月前
株式会社大林組
評価支援装置及び評価支援方法
1か月前
株式会社大林組
施工支援装置及び施工支援方法
1か月前
株式会社大林組
施工支援装置及び施工支援方法
1か月前
株式会社大林組
掘削支援装置及び掘削支援方法
11日前
日本車輌製造株式会社
建設機械の電源システム
1か月前
株式会社大林組
施工支援装置及び施工支援方法
1か月前
株式会社大林組
免震構造及び免震構造の施工方法
1か月前
個人
保護カバー及び保護カバーの取付方法
1か月前
エポコラム機工株式会社
地盤改良装置及び地盤改良工法
2日前
エポコラム機工株式会社
地盤改良装置及び地盤改良工法
2日前
大成建設株式会社
推定方法
1か月前
続きを見る
他の特許を見る