TOP
|
特許
|
意匠
|
商標
特許ウォッチ
Twitter
他の特許を見る
公開番号
2025158276
公報種別
公開特許公報(A)
公開日
2025-10-17
出願番号
2024060659
出願日
2024-04-04
発明の名称
アンカーボルト支持装置
出願人
個人
代理人
弁理士法人大島特許事務所
主分類
E02D
27/00 20060101AFI20251009BHJP(水工;基礎;土砂の移送)
要約
【課題】レベル調整部を備えるアンカーボルト支持装置において、レベル調整部を、基礎面に固定される必要がなく、工事現場にて取り付け及び取り外しのできるようにする。
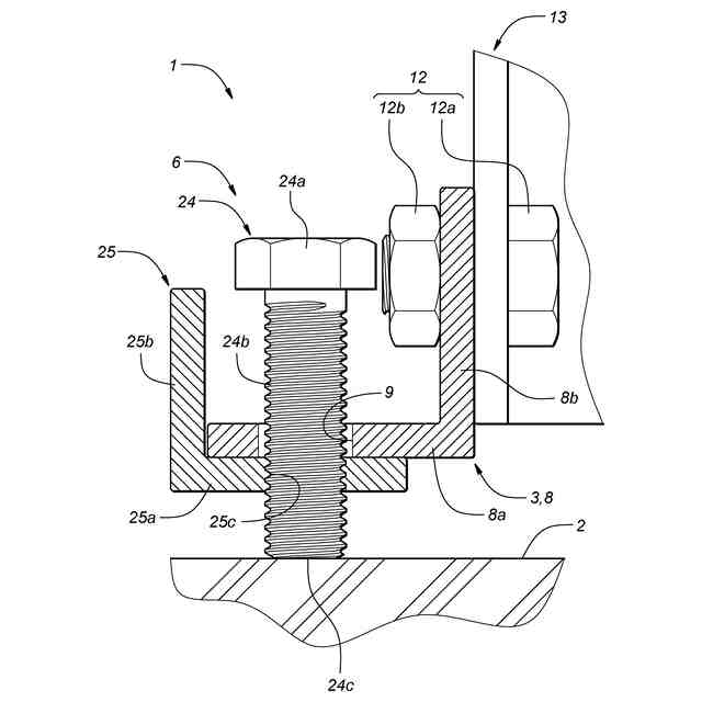
【解決手段】アンカーボルト支持装置1は、上下方向に貫通する貫通孔9を含むベース部3と、ベース部3に立設されて、上端部においてアンカーボルトを支持する本体部と、ベース部3に取り付けられたレベル調整部6とを備える。レベル調整部6は、貫通孔9に挿通された軸部24b及び上方を向いた頭部24aを含む調整ボルト24と、ベース部3の下方に配置されてベース部3を支持し、調整ボルト24が螺合したねじ穴25cを有する平板部25a、及び平板部25aから上方に延出して、軸部24b回りの回転時にベース部3に係止される係止部25bを含む調整金具25とを含む。
【選択図】図2
特許請求の範囲
【請求項1】
アンカーボルトを所定位置に配置するべく、基礎面上に立設されて前記アンカーボルトを支持するアンカーボルト支持装置であって、
前記基礎面に載置され、上下方向に貫通する貫通孔を含むベース部と、
前記ベース部に立設されて、上端部において前記アンカーボルトを支持する本体部と、
前記ベース部に取り付けられたレベル調整部と、を備え、
前記レベル調整部は、
前記貫通孔に挿通された軸部、及び上方を向いた頭部を含む調整ボルトと、
前記ベース部の下方に配置されて前記ベース部を支持し、前記調整ボルトが螺合したねじ穴を有する平板部、及び前記平板部から上方に延出して、前記軸部回りの回転時に前記ベース部に係止される係止部を含む調整金具と、を含む、アンカーボルト支持装置。
続きを表示(約 730 文字)
【請求項2】
前記係止部は、平板形状をなし、
前記調整金具は、前記係止部の主面に平行な水平方向からみて、L字形状を呈する、請求項1に記載のアンカーボルト支持装置。
【請求項3】
前記調整ボルトは、前記基礎面に当接するねじ先を更に含む、請求項1に記載のアンカーボルト支持装置。
【請求項4】
前記ベース部は、互いに枠形状をなすように連結された複数の長尺材を含み、
前記長尺材の各々は、主面が前記上下方向を向いた第1板部と、前記第1板部の側縁から上方に延出する第2板部と、を含むアングル材によって構成され、
少なくとも1つの前記アングル材の前記第1板部に、前記貫通孔が設けられた、請求項1に記載のアンカーボルト支持装置。
【請求項5】
前記長尺材は、前記第1板部が前記第2板部から前記枠形状の外方に向かうように配置される、請求項4に記載のアンカーボルト支持装置。
【請求項6】
前記枠形状は、4本の前記長尺材が画成する矩形をなし、
前記本体部は、各々が前記ベース部における矩形の前記枠形状の隅部に締結具によって固定された4つの支柱部を含み、
前記貫通孔は、前記隅部の近傍に設けられた、請求項4又は5に記載のアンカーボルト支持装置。
【請求項7】
前記ベース部を前記基礎面に固定するあと施工アンカーであるアンカー部材を更に備え、
前記貫通孔の数は、前記調整ボルトの数よりも多く、
前記アンカー部材は、前記調整ボルトが挿通されていない前記貫通孔の少なくとも一部に挿通されている、請求項1に記載のアンカーボルト支持装置。
発明の詳細な説明
【技術分野】
【0001】
本発明は、レベル調整部を備えたアンカーボルト支持装置に関する。
続きを表示(約 1,700 文字)
【背景技術】
【0002】
アンカーボルト支持装置は、アンカーボルトの上端に設けられたねじ部が突出する態様で建物の基礎コンクリート中に埋設されるアンカーボルトを、基礎コンクリートが打設される前の状態において支持する装置である。アンカーボルトの上端には、鋼製の柱等が締結されるため、アンカーボルトの水平方向の位置がずれていたり、アンカーボルトが傾いていたりすると、柱等の固定に支障が生じる。このため、アンカーボルト支持装置の設置には、レベル(水平)調整が必要である。
【0003】
例えば、特許文献1には、レベル調整をするための高さ調整金物を備えるアンカーボルト支持装置(アンカーボルトの据付治具)が記載されている。特許文献1に記載のアンカーボルト支持装置は、高さ調整金物を介して鋼管の上端に取り付けられる。高さ調整金物は、溶接によって鋼管に取り付けられたL字形状の支持板と、支持板に設けられたルーズホールに挿通された高さ調整ボルトと、ボルトが螺合するナットとを備える。高さ調整ボルトによって、アンカーボルト支持装置のベース部の一部を構成する一次据付部材の高さが調整される。
【先行技術文献】
【特許文献】
【0004】
特開2012-52389号公報
【発明の概要】
【発明が解決しようとする課題】
【0005】
しかしながら、特許文献1に記載のアンカーボルト支持装置は、鋼管を含む基礎杭の上方に配置されるものであり、鋼管等の鋼材に、L字状の支持板を溶接によって固定する必要があった。従って、アンカーボルト支持装置の設置個所に鋼管等の鋼材がない場合には、特許文献1に記載の装置は適用できなかった。また、レベル調整のために高さを変更する部分は、アンカーボルト支持装置の設置箇所によって異なるが、レベル調整のための部材をアンカーボルト支持装置に溶接により固定しておくと、不要な箇所にもその部材が残り、部材が無駄になった。工事現場にて、レベル調整のための部材を溶接により固定しようとすると工事現場での作業負担が大きく、作業効率が悪くなった。
【0006】
本発明は、以上の背景に鑑み、レベル調整部を備えるアンカーボルト支持装置であって、レベル調整部を、基礎面に固定される必要がなく、工事現場にて取り付け及び取り外しができるようにされた、アンカーボルト支持装置を提供することを課題とする。
【課題を解決するための手段】
【0007】
上記課題を解決するために本発明のある態様は、アンカーボルト(4)を所定位置に配置するべく、基礎面(29)上に立設されて前記アンカーボルトを支持するアンカーボルト支持装置(1)であって、前記基礎面に載置され、上下方向に貫通する貫通孔(9)を含むベース部(3)と、前記ベース部に立設されて、上端部において前記アンカーボルトを支持する本体部(5)と、前記ベース部に取り付けられたレベル調整部(6)と、を備え、前記レベル調整部は、前記貫通孔に挿通された軸部(24b)、及び上方を向いた頭部(24a)を含む調整ボルト(24)と、前記ベース部の下方に配置されて前記ベース部を支持し、前記調整ボルトが螺合したねじ穴(25c)を有する平板部(25a)、及び前記平板部から上方に延出して、前記軸部回りの回転時に前記ベース部に係止される係止部(25b)を含む調整金具(25)と、を含む。
【0008】
この態様によれば、レベル調整部は、ベース部に設けられた貫通孔に挿通される調整ボルトを含むため、基礎面に固定する必要がなく、工事現場にて取り付け及び取り外しができ、不必要な箇所にレベル調整部を設ける必要ななく、又は不必要な箇所のレベル調整部を取り外すことができる。
【0009】
上記の態様において、前記係止部(25b)は、平板形状をなし、前記調整金具(25)は、前記係止部の主面に平行な水平方向からみて、L字形状を呈しても良い。
【0010】
この態様によれば、調整金具の製造が容易となる。
(【0011】以降は省略されています)
この特許をJ-PlatPat(特許庁公式サイト)で参照する
関連特許
個人
バケット
1か月前
個人
建物の不同沈下の修正方法
1か月前
鹿島建設株式会社
接続方法
12日前
株式会社大林組
操縦装置
1か月前
千代田工営株式会社
回転貫入杭
1か月前
株式会社富田製作所
継手部構造
1か月前
ウエダ産業株式会社
アタッチメント
3日前
株式会社郷土開発
傾斜地の切土工法
11日前
株式会社熊谷組
山留壁用親杭
1か月前
日立建機株式会社
作業機械
24日前
ヤンマーホールディングス株式会社
作業機械
1か月前
日本車輌製造株式会社
建設機械
1か月前
日立建機株式会社
作業機械
1か月前
日立建機株式会社
作業機械
1か月前
日立建機株式会社
建設機械
25日前
ヤンマーホールディングス株式会社
作業機械
1か月前
株式会社クボタ
作業機
11日前
日立建機株式会社
作業車両
1か月前
日立建機株式会社
作業機械
1か月前
FKS株式会社
擁壁及び擁壁の築造方法
1か月前
株式会社三誠
建物の免震構造
1か月前
株式会社次世代一次産業実践所
登山道の施工装置
1か月前
鹿島建設株式会社
接続方法および接続構造
1か月前
株式会社竹内製作所
作業用車両
1か月前
株式会社竹内製作所
作業用車両
1か月前
株式会社竹内製作所
作業用車両
1か月前
株式会社竹内製作所
作業用車両
1か月前
山形新興株式会社
建築物の基礎及び基礎成形型
1か月前
清水建設株式会社
遮水層の構築方法
1か月前
個人
アンカーボルト支持装置
1か月前
日本車輌製造株式会社
杭打機の表示システム
27日前
ナブテスコ株式会社
ドーザブレード駆動機構
24日前
コベルコ建機株式会社
施工システム
1か月前
日本車輌製造株式会社
杭打機の制御システム
1か月前
日立建機株式会社
作業機械
1か月前
株式会社大林組
掘削支援装置及び掘削支援方法
5日前
続きを見る
他の特許を見る