TOP
|
特許
|
意匠
|
商標
特許ウォッチ
Twitter
他の特許を見る
公開番号
2025154225
公報種別
公開特許公報(A)
公開日
2025-10-10
出願番号
2024057108
出願日
2024-03-29
発明の名称
作業用車両
出願人
株式会社竹内製作所
代理人
めぶき弁理士法人
主分類
E02F
9/08 20060101AFI20251002BHJP(水工;基礎;土砂の移送)
要約
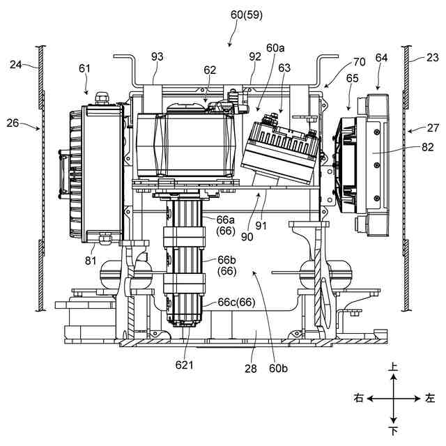
【課題】機器収容室のスペースを有効に活用することができる作業用車両を提供すること。
【解決手段】作業用車両1は、油圧ポンプ66と、油圧ポンプ66を駆動する電動モータ62と、油圧ポンプ66及び電動モータ62とを収容する機器収容室59と、を備える。電動モータ62の出力軸は、油圧ポンプ66の入力軸に連結される。電動モータ62は、油圧ポンプ66に対して、上下方向のいずれかに配置されている。
【選択図】図3
特許請求の範囲
【請求項1】
油圧ポンプと、前記油圧ポンプを駆動する電動モータと、前記油圧ポンプ及び前記電動モータとを収容する機器収容室と、を備える作業用車両であって、
前記電動モータの出力軸は、前記油圧ポンプの入力軸に連結され、
前記電動モータは、前記油圧ポンプに対して、上下方向のいずれかに配置されていること、を特徴とする作業用車両。
続きを表示(約 410 文字)
【請求項2】
請求項1に記載の作業用車両であって、
前記電動モータは、前記油圧ポンプの上方に配置されていること、を特徴とする、作業用車両。
【請求項3】
請求項2に記載の作業用車両であって、
前記電動モータを載置するブラケットをさらに有し、
前記電動モータは、前記ブラケットの上に載置されていること、を特徴とする作業用車両。
【請求項4】
請求項3に記載の作業用車両であって、
前記電動モータを制御するインバータをさらに備え、
前記インバータは、前記ブラケットの上に載置されていること、を特徴とする作業用車両。
【請求項5】
請求項1乃至4のいずれか一項に記載の作業用車両であって、
前記油圧ポンプは、複数の油圧ポンプを含み、
前記複数の油圧ポンプは、直列に連結されていること、を特徴とする作業用車両。
発明の詳細な説明
【技術分野】
【0001】
本発明は、作業用車両に関する。
続きを表示(約 1,300 文字)
【背景技術】
【0002】
建設機械等の作業用車両の分野において、電動モータを駆動源として作業を行い、及び、走行する電動式の作業用車両が普及し始めている。電動式の作業用車両には、電動モータが搭載されている。
【0003】
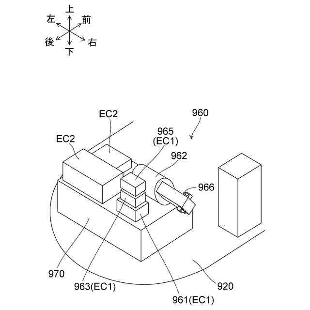
図5は、特許文献1に記載された作業用車両における機器収容室(機関室)960の内部に配置された機器の配置を示す図である。なお、図5において、機器収容室960のカバーは省略している。
【0004】
特許文献1に記載された作業用車両においては、上部旋回体の旋回フレーム920の上に配置された機器収容室960の中に、電動モータ962、油圧ポンプ966、第1電装品EC1(充電器961、インバータ963、DC-DCコンバータ965)、第2電装品EC2が配置されている。また、機器収容室960の中には、電動モータ962を駆動するための電力を蓄えるバッテリユニット970が配置されている。
【0005】
電動モータ962の出力軸(図示せず)は、油圧ポンプ966の入力軸(図示せず)に連結されている。電動モータ962と油圧ポンプ966とは、図5に示すように、バッテリユニット970の上において、作業用車両の左右方向に並んで配置されている。また、第1電装品EC1、第2電装品EC2も、バッテリユニット970の上に配置されている。
【0006】
特許文献1によれば、大容量(大型)のバッテリユニット970を用いる場合でも、作業用車両の機体バランスを良好に保つことができる作業用車両を提供することができる、と記載されている。
【先行技術文献】
【特許文献】
【0007】
特開2023-81617号公報
【発明の概要】
【発明が解決しようとする課題】
【0008】
しかしながら、特許文献1に記載された作業用車両の機器収容室内における機器の配置、特に、電動モータと油圧ポンプの配置は、機器収容室のスペースを有効に利用しているとは言い難い状況であった。とりわけ、作業用車両が小型の作業用車両である場合には、機器収容室の前後方向、左右方向の長さが限られている。このため、電動モータと油圧ポンプとを連結し、電動モータの出力軸の方向が水平方向になるように機器収容室に配置しようとすると、機器収容室に収容できない場合があるという問題があった。
【0009】
本発明はこのような課題に鑑みてなされたものであり、機器収容室のスペースを有効に活用することができる作業用車両を提供すること、を目的とする。
【課題を解決するための手段】
【0010】
[1]本開示の作業用車両は、油圧ポンプと、前記油圧ポンプを駆動する電動モータと、前記油圧ポンプ及び前記電動モータとを収容する機器収容室と、を備える。前記電動モータの出力軸は、前記油圧ポンプの入力軸に連結される。前記電動モータは、前記油圧ポンプに対して、上下方向のいずれかに配置されている。
(【0011】以降は省略されています)
この特許をJ-PlatPat(特許庁公式サイト)で参照する
関連特許
株式会社竹内製作所
作業用車両
1か月前
株式会社竹内製作所
作業用車両
1か月前
株式会社竹内製作所
作業用車両
1か月前
株式会社竹内製作所
作業用車両
1か月前
株式会社竹内製作所
作業用車両
1か月前
株式会社竹内製作所
作業用車両
1か月前
株式会社竹内製作所
バッテリパック、及び、作業用車両
1か月前
株式会社竹内製作所
作業用車両および作業用車両の制御方法
1か月前
個人
バケット
1か月前
個人
建物の不同沈下の修正方法
1か月前
鹿島建設株式会社
接続方法
11日前
株式会社大林組
操縦装置
1か月前
株式会社富田製作所
継手部構造
1か月前
千代田工営株式会社
回転貫入杭
1か月前
株式会社熊谷組
山留壁用親杭
1か月前
ウエダ産業株式会社
アタッチメント
2日前
株式会社郷土開発
傾斜地の切土工法
10日前
日立建機株式会社
作業機械
1か月前
日立建機株式会社
作業車両
1か月前
日立建機株式会社
作業機械
23日前
日立建機株式会社
建設機械
24日前
株式会社クボタ
作業機
10日前
日立建機株式会社
作業機械
1か月前
ヤンマーホールディングス株式会社
作業機械
1か月前
ヤンマーホールディングス株式会社
作業機械
1か月前
日本車輌製造株式会社
建設機械
1か月前
FKS株式会社
擁壁及び擁壁の築造方法
1か月前
株式会社三誠
建物の免震構造
1か月前
株式会社次世代一次産業実践所
登山道の施工装置
1か月前
鹿島建設株式会社
接続方法および接続構造
1か月前
株式会社竹内製作所
作業用車両
1か月前
株式会社竹内製作所
作業用車両
1か月前
株式会社竹内製作所
作業用車両
1か月前
株式会社竹内製作所
作業用車両
1か月前
山形新興株式会社
建築物の基礎及び基礎成形型
1か月前
ナブテスコ株式会社
ドーザブレード駆動機構
23日前
続きを見る
他の特許を見る