TOP
|
特許
|
意匠
|
商標
特許ウォッチ
Twitter
他の特許を見る
10個以上の画像は省略されています。
公開番号
2025154224
公報種別
公開特許公報(A)
公開日
2025-10-10
出願番号
2024057107
出願日
2024-03-29
発明の名称
作業用車両
出願人
株式会社竹内製作所
代理人
めぶき弁理士法人
主分類
E02F
9/18 20060101AFI20251002BHJP(水工;基礎;土砂の移送)
要約
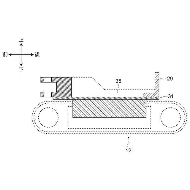
【課題】作業用車両におけるバッテリの脱着作業を容易に行える作業用車両を提供することである。
【解決手段】作業用車両1は、本体フレーム31と、本体フレーム31の車両後方部に取り付けられたカウンタウェイト29とを備える。カウンタウェイト29は、本体フレーム31の下面側から本体フレーム31を介してカウンタウェイト29に螺合する複数の固定用ボルトにより、本体フレーム31に取り付けられている。
【選択図】図2
特許請求の範囲
【請求項1】
本体フレームと、
前記本体フレームの車両後方部に取り付けられたカウンタウェイトとを備え、
前記カウンタウェイトは、前記本体フレームの下面側から前記本体フレームを介して前記カウンタウェイトに螺合する複数の固定用ボルトにより、前記本体フレームに取り付けられている、
ことを特徴とする作業用車両。
続きを表示(約 540 文字)
【請求項2】
前記本体フレームは車両後方部に固縛部を有し、前記カウンタウェイトの下面側に前記固縛部を露出させるための凹部が形成されている、
ことを特徴とする請求項1に記載の作業用車両。
【請求項3】
前記本体フレームは、前記複数の固定用ボルトのそれぞれに対応する複数の挿通孔を有し、
前記カウンタウェイトは、前記複数の固定用ボルトのそれぞれに対応する複数の雌ねじを有する、
ことを特徴とする請求項2に記載の作業用車両。
【請求項4】
前記複数の固定用ボルトのうち、前記固縛部を挟んで両側の位置にある2つの固定用ボルトを2つの第1固定用ボルトとしたとき、前記本体フレームと前記カウンタウェイトとの間に位置する2つの前記第1固定用ボルトそれぞれの周囲には切り欠きを有するシムが装着されている、
ことを特徴とする請求項2又は3に記載の作業用車両。
【請求項5】
前記シムはU字状である、
ことを特徴とする請求項4に記載の作業用車両。
【請求項6】
前記シムは、当該シムの開口が車幅方向外側を向く姿勢で装着されている、
ことを特徴とする請求項4又は5に記載の作業用車両。
発明の詳細な説明
【技術分野】
【0001】
本発明は、作業用車両に関する。
続きを表示(約 1,200 文字)
【背景技術】
【0002】
土木・建設機械等の作業用車両は、一般に走行装置上に本体フレームが設けられており、かかる本体フレームに、エンジン、バッテリ、作動油タンク、旋回モータ、油圧ポンプ及びコントロールバルブ等が取り付けられている。本体フレームの車幅方向両側には左右一対の縦リブが溶接固定されており、さらにこの左右一対の縦リブを連結する横リブが設けられている。この一対の縦リブと横リブによって作業用車両の剛性を高くしている(例えば、特許文献1参照。)。
【先行技術文献】
【特許文献】
【0003】
特許第3459353号公報
【発明の概要】
【発明が解決しようとする課題】
【0004】
上記した作業用車両においては、作業用車両の動作安定性を高めるために本体フレームにはカウンタウェイトが取り付けられている。このカウンタウェイトは、「横リブの上側に設けられた取付用台座を介して上方から固定用ボルトを取付用台座に形成されたカウンタウェイト取付用雌ねじに螺合する」ことにより横リブに取り付けられる。
【0005】
ところで、作業用車両は、車両後方にバッテリを配置し、その後ろに横リブを配置すると、バッテリを車両から脱着する時、バッテリをかなり上に上げなくては脱着できずバッテリの脱着作業が困難である。
【0006】
そこで、本発明は、作業用車両におけるバッテリの脱着作業を容易に行える作業用車両を提供することを目的とする。
【課題を解決するための手段】
【0007】
[1]本発明の作業用車両は、本体フレームと、前記本体フレームの車両後方部に取り付けられたカウンタウェイトとを備える。前記カウンタウェイトは、「前記本体フレームの下面側から前記本体フレームを介して前記カウンタウェイトに螺合する複数の固定用ボルト」により、本体フレームに取り付けられていることを特徴とする。
【0008】
[2]本発明の作業用車両においては、前記本体フレームは車両後方部に固縛部を有し、前記カウンタウェイトの下面側に前記固縛部を露出させるための凹部が形成されていることが好ましい。
【0009】
[3]本発明の作業用車両においては、前記本体フレームは、前記複数の固定用ボルトのそれぞれに対応する複数の挿通孔を有する。前記カウンタウェイトは、前記複数の固定用ボルトのそれぞれに対応する複数の雌ねじを有することが好ましい。
【0010】
[4]本発明の作業用車両において、前記複数の固定用ボルトのうち、前記固縛部を挟んで両側の位置にある2つの固定用ボルトを2つの第1固定用ボルトとする。前記本体フレームと前記カウンタウェイトとの間に位置する2つの前記第1固定用ボルトのそれぞれの周囲には切り欠きを有するシムが装着されていることが好ましい。
(【0011】以降は省略されています)
この特許をJ-PlatPat(特許庁公式サイト)で参照する
関連特許
株式会社竹内製作所
作業用車両
1か月前
株式会社竹内製作所
作業用車両
1か月前
株式会社竹内製作所
作業用車両
1か月前
株式会社竹内製作所
作業用車両
1か月前
株式会社竹内製作所
作業用車両
1か月前
株式会社竹内製作所
作業用車両
1か月前
株式会社竹内製作所
作業用車両
2か月前
株式会社竹内製作所
バッテリパック、及び、作業用車両
1か月前
株式会社竹内製作所
作業用車両および作業用車両の制御方法
1か月前
株式会社竹内製作所
作業用車両および作業用車両の制御方法
2か月前
個人
バケット
1か月前
個人
建物の不同沈下の修正方法
1か月前
鹿島建設株式会社
接続方法
11日前
株式会社富田製作所
継手部構造
1か月前
株式会社大林組
操縦装置
1か月前
千代田工営株式会社
回転貫入杭
1か月前
ウエダ産業株式会社
アタッチメント
2日前
株式会社熊谷組
山留壁用親杭
1か月前
株式会社郷土開発
傾斜地の切土工法
10日前
日立建機株式会社
作業機械
1か月前
ヤンマーホールディングス株式会社
作業機械
1か月前
日立建機株式会社
作業機械
23日前
日立建機株式会社
作業機械
1か月前
日立建機株式会社
作業車両
1か月前
株式会社クボタ
作業機
10日前
日立建機株式会社
建設機械
24日前
日立建機株式会社
作業機械
1か月前
日立建機株式会社
作業機械
1か月前
日立建機株式会社
作業機械
1か月前
日立建機株式会社
建設機械
1か月前
ヤンマーホールディングス株式会社
作業機械
1か月前
日立建機株式会社
建設機械
1か月前
日本車輌製造株式会社
建設機械
1か月前
FKS株式会社
擁壁及び擁壁の築造方法
1か月前
株式会社三誠
建物の免震構造
1か月前
ライト工業株式会社
鉄筋保持用治具
1か月前
続きを見る
他の特許を見る