TOP
|
特許
|
意匠
|
商標
特許ウォッチ
Twitter
他の特許を見る
10個以上の画像は省略されています。
公開番号
2025154533
公報種別
公開特許公報(A)
公開日
2025-10-10
出願番号
2024057588
出願日
2024-03-29
発明の名称
作業機械
出願人
日立建機株式会社
代理人
弁理士法人武和国際特許事務所
主分類
E02F
9/22 20060101AFI20251002BHJP(水工;基礎;土砂の移送)
要約
【課題】オペレータのスイッチ操作を必要とせずに、クイックカプラによりアタッチメントを効率的に取り付けることが可能な作業機械を提供する。
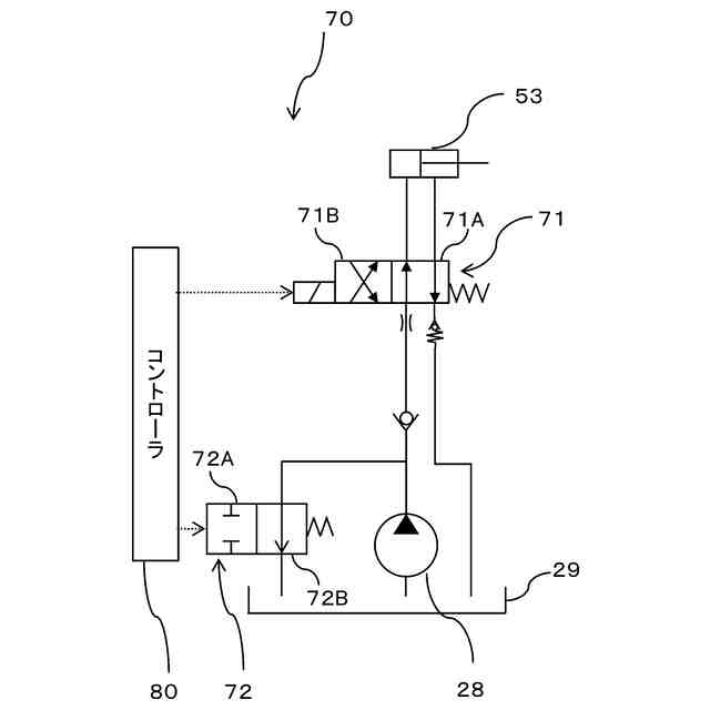
【解決手段】アーム部材となるブーム31およびアーム32と、アタッチメントとなるバケット33と、を有する作業装置30と、ロックシリンダ53の伸縮によりバケット33とアーム32とを着脱可能に接続するクイックカプラ50と、ロックシリンダ53に導かれる作動油の流れを切り換える切換弁71と、油圧ポンプ28から吐出された作動油を昇圧させる昇圧弁72と、切換弁71および昇圧弁72をそれぞれ制御するコントローラ80と、を備えた油圧ショベル1において、コントローラ80は、クイックカプラ50とピン61,62とが接触状態であると判定した場合に、昇圧弁72を昇圧させるように制御するとともに、作動油をロックシリンダ53のボトム室に導くように切換弁71を切り換える。
【選択図】図9
特許請求の範囲
【請求項1】
機体と、
前記機体に回動可能に取り付けられたアーム部材および前記アーム部材の先端側に回動可能に取り付けられたアタッチメントを有する作業装置と、
前記アーム部材の先端部に取り付けられ、ロッドの伸縮動作により前記アタッチメントと前記アーム部材とを着脱可能に接続するロック用油圧シリンダを備えたクイックカプラと、
前記作業装置を操作するための操作装置と、
前記ロック用油圧シリンダに作動油を供給する油圧ポンプと、
前記作動油を貯留する作動油タンクと、
前記油圧ポンプと前記ロック用油圧シリンダとの間に設けられ、前記油圧ポンプから吐出された前記作動油を前記ロック用油圧シリンダのボトム室またはロッド室に導くように切り換わる切換弁と、
前記油圧ポンプと前記切換弁との間に設けられ、前記油圧ポンプから吐出された前記作動油を昇圧させるか否かを制御する昇圧弁と、
前記切換弁および前記昇圧弁をそれぞれ制御するコントローラと、
を備えた作業機械において、
前記アタッチメントに取り付けられたピンに対する前記クイックカプラの接触状態を検出する接触状態検出装置を有し、
前記コントローラは、
前記接触状態検出装置で検出された検出値に基づいて、前記クイックカプラと前記ピンとの接触状態を判定し、
前記クイックカプラと前記ピンとが接触状態であると判定した場合に、前記昇圧弁を昇圧させるように制御するとともに、前記作動油を前記ロック用油圧シリンダの前記ボトム室に導くように前記切換弁を切り換える
ことを特徴とする作業機械。
続きを表示(約 1,000 文字)
【請求項2】
請求項1に記載の作業機械において、
前記ロック用油圧シリンダの前記ロッドの伸縮状態を検出する伸縮状態検出装置をさらに有し、
前記コントローラは、
前記伸縮状態検出装置で検出された前記ロッドの伸縮状態に基づいて、前記ロック用油圧シリンダの前記ロッドが伸長状態であるか否かを判定し、
前記ロック用油圧シリンダの前記ロッドが伸長状態であると判定した場合に、前記昇圧弁を昇圧させないように制御する
ことを特徴とする作業機械。
【請求項3】
請求項1に記載の作業機械において、
前記コントローラは、
前記クイックカプラと前記ピンとが接触状態であると判定した場合に、さらに、前記操作装置から出力された操作信号に基づいて、前記操作装置が操作されている状態であるか否かを判定し、
前記操作装置が操作されていない状態であると判定した場合に、前記作動油を前記ロック用油圧シリンダの前記ボトム室に導くように前記切換弁を切り換える
ことを特徴とする作業機械。
【請求項4】
請求項3に記載の作業機械において、
前記コントローラは、
前記昇圧弁を昇圧させるように制御している間、前記操作装置からの前記操作信号の入力を制限する
ことを特徴とする作業機械。
【請求項5】
請求項1に記載の作業機械において、
前記作業装置の姿勢を検出する姿勢検出装置をさらに有し、
前記アタッチメントには、
一対の前記ピンが取り付けられ、
前記クイックカプラには、
一対の前記ピンが接続される一対の被接続部が設けられ、
前記接触状態検出装置は、
前記クイックカプラにおける一対の前記被接続部のそれぞれに設けられ、
前記コントローラは、
一方の前記接触状態検出装置で検出された検出値に基づいて、前記クイックカプラの一方の前記被接続部と前記アタッチメントの一方の前記ピンとが接触状態であると判定した場合に、前記姿勢検出装置で検出された前記作業装置の姿勢が、前記アタッチメントが前記クイックカプラから脱落しない範囲の前記作業装置の基準姿勢であるか否かを判定し、
前記姿勢検出装置で検出された前記作業装置の姿勢が前記基準姿勢であると判定した場合に、前記操作装置からの操作信号の入力を制限する
ことを特徴とする作業機械。
発明の詳細な説明
【技術分野】
【0001】
本発明は、クイックカプラによりアタッチメントを取り付けることが可能な作業機械に関する。
続きを表示(約 2,300 文字)
【背景技術】
【0002】
油圧ショベルなどの作業機械は、通常のバケットを形状の異なるバケットや多種多様なアタッチメントに付け替えることにより、一台の作業機械で様々な作業が行うことが可能である。一般に、各種アタッチメントをアーム部材に取り付けるための部品として、クイックカプラが知られている。このクイックカプラは、アタッチメントとのロック機構をなすロックシリンダを備えており、アーム部材の先端部に取り付けられている。アタッチメントには、クイックカプラとの連結部となるアダプタが設けられ、クイックカプラのロックシリンダが伸長してアダプタに嵌合することにより、アタッチメントがクイックカプラに保持される。
【0003】
例えば、特許文献1には、クイックカプラのロックシリンダを制御する方法として、コントローラが、オペレータのスイッチ操作に基づいて、油圧ポンプからクイックカプラのロックシリンダへの作動油の供給を開始し、油圧ポンプとロックシリンダとの間の油路における圧力に基づいて、ロックシリンダへの作動油の供給を停止させる制御方法が開示されている。
【先行技術文献】
【特許文献】
【0004】
特開2021-147756号公報
【発明の概要】
【発明が解決しようとする課題】
【0005】
しかしながら、特許文献1に記載の制御方法では、クイックカプラのロックシリンダに作動油を供給するためには、オペレータによるスイッチ操作が必要となる。この場合、オペレータは、スイッチを操作する際に、作業装置を操作するための操作レバーから手を一旦離すことになる。オペレータが操作レバーから手を離すと、操作レバーの誤動作によってオペレータの意図しない作業装置の挙動が発生するといった問題や、作業が一時中断してしまい効率良く作業へ戻ることが難しいといった問題など、様々な問題が生じる。スイッチを操作レバーに配置することも考えられるが、スイッチの誤操作やスイッチ操作時における操作レバーの誤操作を十分に防ぐことができない。
【0006】
本発明の目的は、オペレータのスイッチ操作を必要とせずに、クイックカプラによりアタッチメントを効率的に取り付けることが可能な作業機械を提供することにある。
【課題を解決するための手段】
【0007】
上記の目的を達成するために、本発明は、機体と、前記機体に回動可能に取り付けられたアーム部材および前記アーム部材の先端側に回動可能に取り付けられたアタッチメントを有する作業装置と、前記アーム部材の先端部に取り付けられ、ロッドの伸縮動作により前記アタッチメントと前記アーム部材とを着脱可能に接続するロック用油圧シリンダを備えたクイックカプラと、前記作業装置を操作するための操作装置と、前記ロック用油圧シリンダに作動油を供給する油圧ポンプと、前記作動油を貯留する作動油タンクと、前記油圧ポンプと前記ロック用油圧シリンダとの間に設けられ、前記油圧ポンプから吐出された前記作動油を前記ロック用油圧シリンダのボトム室またはロッド室に導くように切り換わる切換弁と、前記油圧ポンプと前記切換弁との間に設けられ、前記油圧ポンプから吐出された前記作動油を昇圧させるか否かを制御する昇圧弁と、前記切換弁および前記昇圧弁をそれぞれ制御するコントローラと、を備えた作業機械において、前記アタッチメントに取り付けられたピンに対する前記クイックカプラの接触状態を検出する接触状態検出装置を有し、前記コントローラは、前記接触状態検出装置で検出された検出値に基づいて、前記クイックカプラと前記ピンとの接触状態を判定し、前記クイックカプラと前記ピンとが接触状態であると判定した場合に、前記昇圧弁を昇圧させるように制御するとともに、前記作動油を前記ロック用油圧シリンダの前記ボトム室に導くように前記切換弁を切り換えることを特徴とする。
【発明の効果】
【0008】
本発明によれば、オペレータのスイッチ操作を必要とせずに、クイックカプラによりアタッチメントを効率的に取り付けることができる。上記した以外の課題、構成及び効果は、以下の実施形態の説明により明らかにされる。
【図面の簡単な説明】
【0009】
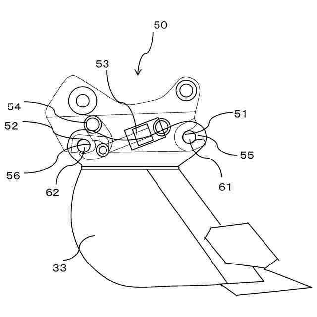
本発明の実施形態に係る油圧ショベルの一構成例を示す外観側面図である。
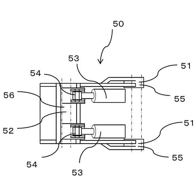
クイックカプラの一構成例を示す外観側面図である。
図2に示すクイックカプラの外観下面図である。
クイックカプラの駆動に係るクイックカプラ油圧回路の一構成例を示す図である。
コントローラが有する機能を示す機能ブロック図である。
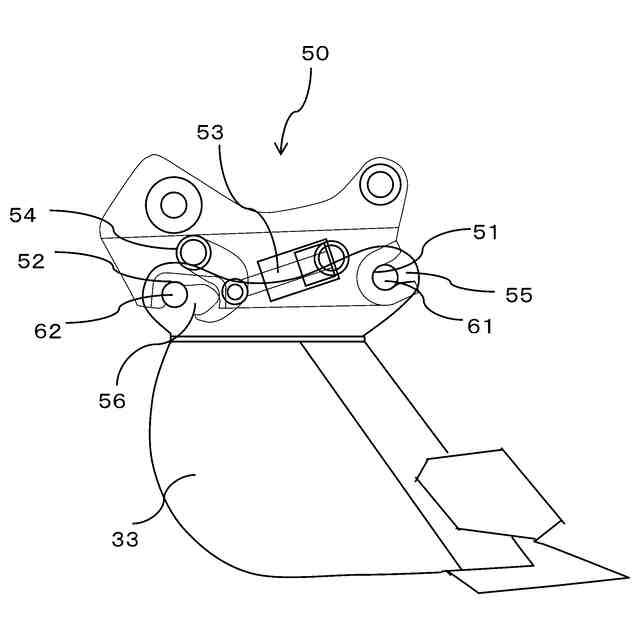
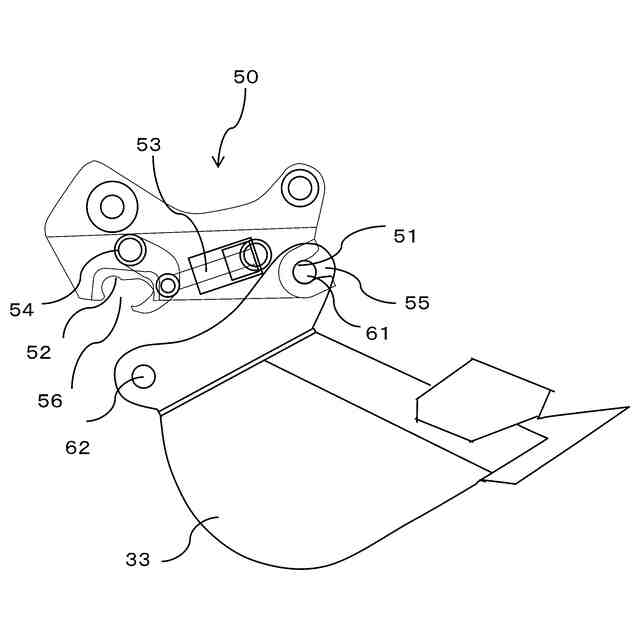
クイックカプラとバケットとの第1接続状態を示す図である。
クイックカプラとバケットとの第2接続状態を示す図である。
クイックカプラとバケットとの第3接続状態を示す図である。
コントローラで実行される処理の流れを示すフローチャートである。
本発明の変形例1に係るコントローラで実行される処理の流れを示すフローチャートである。
本発明の変形例2に係るコントローラで実行される処理の流れを示すフローチャートである。
【発明を実施するための形態】
【0010】
以下、本発明の実施形態に係る作業機械の一態様として、クローラ式の油圧ショベルについて説明する。
(【0011】以降は省略されています)
この特許をJ-PlatPat(特許庁公式サイト)で参照する
関連特許
日立建機株式会社
作業機械
今日
日立建機株式会社
作業車両
28日前
日立建機株式会社
作業機械
1日前
日立建機株式会社
建設機械
1日前
日立建機株式会社
変速装置
28日前
日立建機株式会社
作業機械
22日前
日立建機株式会社
作業機械
28日前
日立建機株式会社
作業車両
24日前
日立建機株式会社
作業機械
28日前
日立建機株式会社
作業機械
28日前
日立建機株式会社
運用管理装置
28日前
日立建機株式会社
映像記録装置
28日前
日立建機株式会社
ホイールローダ
28日前
日立建機株式会社
ダンプトラック
今日
日立建機株式会社
ホイールローダ
28日前
日立建機株式会社
建設発生土の管理システム
28日前
日立建機株式会社
鉱山管理装置及び鉱山管理方法
28日前
日立建機株式会社
CO2排出量削減方針生成装置
28日前
日立建機株式会社
作業機械管理システム及び作業機械
23日前
日立建機株式会社
運搬車両認識システム及び作業機械
15日前
日立建機株式会社
リスク判定装置及びリスク判定システム
28日前
日立建機株式会社
建設機械の制御装置および遠隔操作システム
28日前
個人
バケット
8日前
個人
建物の不同沈下の修正方法
15日前
株式会社富田製作所
継手部構造
8日前
千代田工営株式会社
回転貫入杭
22日前
株式会社大林組
操縦装置
11日前
株式会社熊谷組
山留壁用親杭
28日前
ヤンマーホールディングス株式会社
作業機械
21日前
日立建機株式会社
建設機械
1日前
ヤンマーホールディングス株式会社
作業機械
21日前
日立建機株式会社
作業機械
今日
日立建機株式会社
建設機械
29日前
日立建機株式会社
作業機械
22日前
日立建機株式会社
建設機械
29日前
日立建機株式会社
作業機械
28日前
続きを見る
他の特許を見る