TOP
|
特許
|
意匠
|
商標
特許ウォッチ
Twitter
他の特許を見る
10個以上の画像は省略されています。
公開番号
2025153477
公報種別
公開特許公報(A)
公開日
2025-10-10
出願番号
2024055978
出願日
2024-03-29
発明の名称
建設発生土の管理システム
出願人
日立建機株式会社
代理人
弁理士法人平木国際特許事務所
主分類
G06Q
50/08 20120101AFI20251002BHJP(計算;計数)
要約
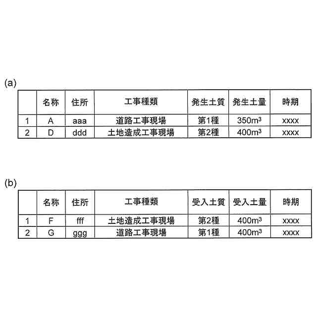
【課題】工事現場の建設発生土について、土質の適合する受入現場を選定し、複数現場全体で建設発生土を有効活用する。
【解決手段】本発明に係る建設発生土の管理システムは、建設現場において発生した建設発生土を管理する建設発生土の管理システムであって、記憶装置と制御装置とを有し、記憶装置は、建設発生土が発生した発生現場情報と、建設発生土を受け入れる受入現場情報と、建設発生土の分配に係る優先順位とを規定する決定ポリシーであって、少なくとも土質等級を基準とした優先順位を規定する決定ポリシーを記憶し、制御装置は、発生現場情報と受入現場情報とを取得し、複数の建設発生土受け入れ先への建設発生土の配分方法を前記決定ポリシーに従って決定する処理方法判定部を備える。
【選択図】図2
特許請求の範囲
【請求項1】
建設現場において発生した建設発生土を管理する建設発生土の管理システムであって、
記憶装置と制御装置とを有し、
前記記憶装置は、前記建設発生土が発生した発生現場情報と、前記建設発生土を受け入れる受入現場情報と、前記建設発生土の分配に係る優先順位とを規定する決定ポリシーであって、少なくとも土質等級を基準とした優先順位を規定する決定ポリシー、を記憶し、
前記制御装置は、前記発生現場情報と前記受入現場情報とを取得し、複数の建設発生土受け入れ先への前記建設発生土の配分方法を前記決定ポリシーに従って決定する処理方法判定部を備える、
ことを特徴とする建設発生土の管理システム。
続きを表示(約 1,100 文字)
【請求項2】
請求項1に記載の建設発生土の管理システムであって、
前記処理方法判定部は、前記建設発生土の配分方法として、工事間利用処理、またはストックヤードもしくは土質改良プラントへの指定処分処理を選択する、
ことを特徴とする建設発生土の管理システム。
【請求項3】
請求項2に記載の建設発生土の管理システムであって、
前記処理方法判定部は、前記建設発生土が発生した前記建設現場と重複する時期に受入現場工事が行われ、かつ前記建設発生土の土質等級を受け入れ可能な受入現場が存在する場合には、前記建設発生土を直接前記受入現場に運搬する直接工事間処理を選択する、
ことを特徴とする建設発生土の管理システム。
【請求項4】
請求項2に記載の建設発生土の管理システムであって、
前記処理方法判定部は、前記建設発生土が発生した前記建設現場における発生現場工事の終了後に受入現場工事を開始させ、かつ前記建設発生土の土質等級を受け入れ可能な受入現場が存在する場合には、前記建設発生土を前記ストックヤードに保管させ、前記受入現場工事の開始後に前記建設発生土を該受入現場に運搬するストックヤード経由工事間処理を選択する、
ことを特徴とする建設発生土の管理システム。
【請求項5】
請求項2に記載の建設発生土の管理システムであって、
前記処理方法判定部は、前記建設発生土が発生した前記建設現場における発生現場工事の終了後に受入現場工事を開始させ、かつ前記建設発生土の土質等級を改良した前記建設発生土を受け入れ可能な受入現場が存在する場合には、前記建設発生土を土質改良プラントに運搬して土質を改良させ、前記受入現場工事の開始後に前記建設発生土を該受入現場に運搬する土質改良プラント経由工事間処理を選択する、
ことを特徴とする建設発生土の管理システム。
【請求項6】
請求項2に記載の建設発生土の管理システムであって、
前記処理方法判定部は、前記建設発生土を受け入れる受入現場が存在しない場合に、前記建設発生土を前記ストックヤードまたは前記土質改良プラントに運搬する指定処分処理を選択する、
ことを特徴とする建設発生土の管理システム。
【請求項7】
請求項1に記載の建設発生土の管理システムであって、
前記決定ポリシーはさらに、利用する土量を基準とした優先順位及びコストを基準とした優先順位を規定する、
ことを特徴とする建設発生土の管理システム。
発明の詳細な説明
【技術分野】
【0001】
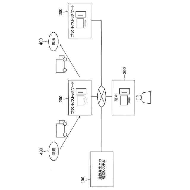
本発明は、建設現場において発生した建設発生土及び改良土の取引市場事業、施工計画、管理に関わる建設発生土の管理システムに関する。
続きを表示(約 1,400 文字)
【背景技術】
【0002】
道路工事等の建設工事においては、工事の過程において大量の建設発生土が発生する。資源の有効活用のために発生した建設発生土は再利用されることが望まれる。再利用する方法としては、他の建設現場に受け入れてもらうことや、ストックヤードと呼ばれる保管所に一時的に保管するか、または建設発生土の性質を改良する土質改良プラントに運搬して土質を改良する等の方法が挙げられる。
【0003】
建設発生土の再利用に関して、特許文献1には、無駄の排除と土砂流通の効率化を目的として、発生した建設発生土の情報に対して利用者の要求事項とマッチさせるシステムに関する発明が記載されている。
【先行技術文献】
【特許文献】
【0004】
特開2008-021130号公報
【発明の概要】
【発明が解決しようとする課題】
【0005】
しかしながら、特許文献1に記載されたシステムは1つの発生現場に対する建設発生土を次の工事先にマッチングさせることを目的とした発明であり、発生現場の建設発生土や、土質改良プラント及びストックヤードの利用状況を考慮するものではない。そのため、建設発生土の利活用には限界がある。具体的には土質改良プラント及びストックヤードの建設発生土及び改良土のストック状況に偏りが生じ、輸送コストも上昇し、全ての建設発生土が有効に活用出来ない可能性も生じる。
【0006】
より具体的には、発生した建設発生土の性質により処理先が変わるため、搬出時に近接のプラント/ストックヤードに空きが無ければ、埋め立て処分又は遠方に輸送する必要が生じ、輸送コストやGHG(Green House Gas)が増加してしまう。
【0007】
また、発生した建設発生土の土質により適用先が変わるため、利用時に近接のプラント/ストックヤードの土質特性が合わなければ、埋め立て処分又は遠方から調達する必要が生じ、輸送コストやGHGが増加してしまう。
【0008】
すなわち、建設発生土の将来需要は不透明なことも多く、在庫として建設発生土を蓄えている期間の建設発生土の引受量が減少しプラント/ストックヤードの経済性が悪化したり、不適切処理リスクが増加したり、建設発生土が欲しくても土質が合わずに使えない状況になるおそれがある。
【0009】
本発明は、上記課題に鑑みてなされたものであり、建設現場の建設発生土について、土質の適合する受入現場を選定し、複数現場全体で建設発生土を有効活用することが可能な建設発生土の管理システムを提供することを目的とする。
【課題を解決するための手段】
【0010】
上記課題を解決するために、本発明に係る建設発生土の管理システムは、建設現場において発生した建設発生土を管理する建設発生土の管理システムであって、記憶装置と制御装置とを有し、記憶装置は、建設発生土が発生した発生現場情報と、建設発生土を受け入れる受入現場情報と、建設発生土の分配に係る優先順位とを規定する決定ポリシーであって、少なくとも土質等級を基準とした優先順位を規定する決定ポリシーを記憶し、制御装置は、発生現場情報と受入現場情報とを取得し、複数の建設発生土受け入れ先への建設発生土の配分方法を決定ポリシーに従って決定する処理方法判定部を備える。
【発明の効果】
(【0011】以降は省略されています)
この特許をJ-PlatPat(特許庁公式サイト)で参照する
関連特許
日立建機株式会社
作業機械
22日前
日立建機株式会社
建設機械
1か月前
日立建機株式会社
油圧機器
1か月前
日立建機株式会社
建設機械
1か月前
日立建機株式会社
作業機械
1か月前
日立建機株式会社
建設機械
1か月前
日立建機株式会社
建設機械
1か月前
日立建機株式会社
作業機械
1か月前
日立建機株式会社
転圧機械
1か月前
日立建機株式会社
作業車両
1か月前
日立建機株式会社
作業機械
1か月前
日立建機株式会社
作業機械
1か月前
日立建機株式会社
建設機械
1か月前
日立建機株式会社
作業車両
1か月前
日立建機株式会社
作業機械
1か月前
日立建機株式会社
作業車両
1か月前
日立建機株式会社
作業機械
1か月前
日立建機株式会社
作業機械
1か月前
日立建機株式会社
作業機械
1か月前
日立建機株式会社
作業車両
1か月前
日立建機株式会社
油圧機器
1か月前
日立建機株式会社
作業機械
1か月前
日立建機株式会社
作業機械
23日前
日立建機株式会社
建設機械
23日前
日立建機株式会社
建設機械
2か月前
日立建機株式会社
作業機械
1か月前
日立建機株式会社
作業機械
2か月前
日立建機株式会社
作業車両
1か月前
日立建機株式会社
作業機械
1か月前
日立建機株式会社
作業機械
1か月前
日立建機株式会社
変速装置
1か月前
日立建機株式会社
建設機械
1か月前
日立建機株式会社
作業車両
1か月前
日立建機株式会社
作業機械
1か月前
日立建機株式会社
作業機械
1か月前
日立建機株式会社
作業機械
1か月前
続きを見る
他の特許を見る