TOP
|
特許
|
意匠
|
商標
特許ウォッチ
Twitter
他の特許を見る
10個以上の画像は省略されています。
公開番号
2025147717
公報種別
公開特許公報(A)
公開日
2025-10-07
出願番号
2024048103
出願日
2024-03-25
発明の名称
建設機械
出願人
日立建機株式会社
代理人
弁理士法人相原国際知財事務所
主分類
E02F
9/02 20060101AFI20250930BHJP(水工;基礎;土砂の移送)
要約
【課題】簡単な構成にして履帯式の走行装置の駆動装置に入力される荷重を推測し、履帯周辺の足回りの状態を良好に把握し保守することが可能な建設機械を提供することにある。
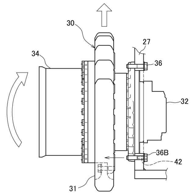
【解決手段】 履帯を有した走行装置を備えた建設機械において、駆動装置(30)をボルト軸線がサイドフレーム(27)の側面と垂直をなすようサイドフレームに固定する複数のボルト(36)のうち、時計の短針の6時方向に位置するボルト(36A)及び左側の走行装置を外側から見て時計の短針の3時方向、右側の走行装置を外側から見て時計の短針の9時方向に位置するボルト(36B)にボルト軸力の相関値を検出する検出センサ(40,42)を設け、検出センサからの情報に基づき走行装置の状態を判定する制御装置を備え、制御装置は、検出センサにより検出されるボルト軸力の相関値からボルト軸力F1,F2をそれぞれ演算して走行装置の状態を判定し、走行装置が異常状態にあると判定すると警報を発信する。
【選択図】図2
特許請求の範囲
【請求項1】
トラックフレームの左右一対のサイドフレームのそれぞれに、前記サイドフレームの上側に長手方向で間隔を隔てて設けられる複数の上部ローラと、前記サイドフレームの下側に長手方向前で間隔を隔てて設けられる複数の下部ローラと、前記サイドフレームの長手方向の一端側に駆動輪を有して設けられる駆動装置と、前記サイドフレームの他端側に設けられる遊動輪と、前記駆動輪と前記遊動輪に巻装される履帯とを有した走行装置を備えて下部走行体が構成された建設機械において、
前記駆動装置は、ボルト軸線が前記サイドフレームの側面に対して直交する方向となる複数のボルトにより前記サイドフレームに固定され、前記複数のボルトのうち、少なくとも前記履帯が接地した状態において垂直方向で最下部に位置する第1のボルト及び前記サイドフレームの長手方向の前記一端側の最端部に位置する第2のボルトにそれぞれ設けられ、前記ボルトに作用するボルト軸力の相関値をそれぞれ検出する複数の検出センサと、
前記検出センサからの検出情報に基づき前記走行装置の状態を判定する制御装置と、
前記制御装置からの信号によって警報を行う警報装置と、を備え、
前記制御装置は、前記検出センサによりそれぞれ検出される前記ボルト軸力の相関値から少なくとも前記第1のボルトに作用する第1のボルト軸力及び前記第2のボルトに作用する第2のボルト軸力を含むボルト軸力をそれぞれ演算し、該それぞれ演算されたボルト軸力に基づいて前記走行装置の状態を判定し、前記走行装置が異常状態にあると判定すると該異常状態に応じた信号を前記警報装置に発信することを特徴とする建設機械。
続きを表示(約 580 文字)
【請求項2】
前記制御装置は、前記第1のボルト軸力が第1の所定閾値を超えると、前記走行装置が異常状態にあると判定し、建設機械の使い方に注意を促すための信号を前記警報装置に発信し、
前記第2のボルト軸力が第2の所定閾値を超えると、前記走行装置が異常状態にあると判定し、前記履帯の張りの確認を促すための信号を前記警報装置に発信することを特徴とする、請求項1に記載の建設機械。
【請求項3】
前記制御装置は、少なくとも前記第1のボルト軸力と前記第2のボルト軸力との二乗和の平方根を算出し、該二乗和の平方根から前記第1のボルト軸力及び前記第2のボルト軸力の合力を演算し、該合力が所定の合力閾値を超えると、前記走行装置が異常状態にあると判定し、建設機械の稼働環境の改善を促すための信号を前記警報装置に発信することを特徴とする、請求項1に記載の建設機械。
【請求項4】
前記制御装置は、前記合力を積算して累積負荷を求め、該累積負荷が所定の累積負荷閾値を超えると前記走行装置の保守点検を促すための信号を前記警報装置に発信することを特徴とする、請求項3に記載の建設機械。
【請求項5】
前記検出センサは、前記ボルト軸力の相関値として歪を検出する歪ゲージであることを特徴とする、請求項1に記載の建設機械。
発明の詳細な説明
【技術分野】
【0001】
本発明は、履帯式の走行装置を有した建設機械に関する。
続きを表示(約 2,400 文字)
【背景技術】
【0002】
油圧ショベル等の建設機械は、未整地等での走行を想定し、一般に下部走行体の左右両側に履帯式の走行装置が備えられて装軌式車両として構成されている。装軌式車両は、走行装置に設けられた駆動装置の駆動輪、遊動輪及び複数のローラに無端状の履帯を巻掛けて構成されている。駆動装置に設けられた走行用油圧モータにより左右の駆動輪が回転させられると、遊動輪及び各ローラに案内されながら左右の履帯がそれぞれ独立して駆動され、左右の履帯の駆動方向及び駆動速度に応じて油圧ショベルの直進走行や操舵が行われる。
【0003】
駆動装置には、主に履帯張力、掘削力と車重による反力が合力として入力される。履帯式の走行装置は稼働環境の悪さや履帯の張りが適切ではないと、履帯張力や車重による反力が増大し、これらの合力も増大する。過大な合力は駆動装置の内部部品に対して不要な負荷となるため、駆動装置や履帯周辺の足回りの状態を良好に保つ必要があり、駆動装置に入力される履帯張力、掘削力、車重による反力、これらの合力から履帯周辺の足回りの荷重を測定することが望ましい。
【0004】
例えばトラクタ等の作業車両のように、エンジンに連結されたパワーシフトトランスミッションまたは無段変速機を介して履帯式の走行装置が連結されたものにおいて、履帯周辺の足回りの負荷を測定する技術として、車体と連結するトラックアセンブリのピボットピンにセンサを取り付けて車軸負荷を測定し、車軸負荷の差に基づいて作業車両のエンジントルク出力を制御するよう構成された装軌式車両が公知である(特許文献1)。
【先行技術文献】
【特許文献】
【0005】
米国特許出願公開第2017/0242447号明細書
【発明の概要】
【発明が解決しようとする課題】
【0006】
油圧ショベル等の装軌式車両の下部走行体に設けられた履帯式の走行装置は、一般にトラックフレームの左右に設けられた一対のサイドフレームと、サイドフレームの上側に前後方向に間隔を隔てて設けられる複数の上部ローラと、サイドフレームの下側に前後方向に間隔を隔てて設けられる複数の下部ローラと、各サイドフレームの一端側に設けられる駆動装置と、各サイドフレームの他端側に設けられる遊動輪と、駆動装置に設けられた駆動輪(スプロケット)と遊動輪に巻装される履帯とにより大略構成されている。そして、駆動装置は、回転源となる油圧モータと、油圧モータの回転を減速して駆動輪に出力する減速装置から構成されている。
【0007】
このような構成の油圧ショベル等の装軌式車両では、特許文献1に開示されるようなトラクタ等の作業車両とは構造が大きく異なることから、走行装置にピボットピンに相当するような部品がなく、減速装置の駆動輪への出力軸は回転体であるために駆動装置に直接入力される荷重を測定するセンサを設置することが難しく、特許文献1に開示される技術と同様には駆動装置に入力される履帯周辺の足回りの荷重を測定することができない。
【0008】
本発明はこのような問題点を解決するためになされたもので、その目的とするところは、簡単な構成にして履帯式の走行装置の駆動装置に入力される荷重を推測し、履帯周辺の足回りの状態を良好に把握し保守することが可能な建設機械を提供することにある。
【課題を解決するための手段】
【0009】
上記の目的を達成するため、本発明の建設機械は、トラックフレームの左右一対のサイドフレームのそれぞれに、前記サイドフレームの上側に長手方向で間隔を隔てて設けられる複数の上部ローラと、前記サイドフレームの下側に長手方向前で間隔を隔てて設けられる複数の下部ローラと、前記サイドフレームの長手方向の一端側に駆動輪を有して設けられる駆動装置と、前記サイドフレームの他端側に設けられる遊動輪と、前記駆動輪と前記遊動輪に巻装される履帯とを有した走行装置を備えて下部走行体が構成された建設機械において、前記駆動装置は、ボルト軸線が前記サイドフレームの側面に対して直交する方向となる複数のボルトにより前記サイドフレームに固定され、前記複数のボルトのうち、少なくとも前記履帯が接地した状態において垂直方向で最下部に位置する第1のボルト及び前記サイドフレームの長手方向の前記一端側の最端部に位置する第2のボルトにそれぞれ設けられ、前記ボルトに作用するボルト軸力の相関値をそれぞれ検出する複数の検出センサと、前記検出センサからの検出情報に基づき前記走行装置の状態を判定する制御装置と、前記制御装置からの信号によって警報を行う警報装置と、を備え、前記制御装置は、前記検出センサによりそれぞれ検出される前記ボルト軸力の相関値から少なくとも前記第1のボルトに作用する第1のボルト軸力及び前記第2のボルトに作用する第2のボルト軸力を含むボルト軸力をそれぞれ演算し、該それぞれ演算されたボルト軸力に基づいて前記走行装置の状態を判定し、前記走行装置が異常状態にあると判定すると該異常状態に応じた信号を前記警報装置に発信することを特徴とする。
【発明の効果】
【0010】
本発明の建設機械によれば、駆動装置に入力される履帯張力、掘削力、車重による反力を推測して走行装置等の履帯周辺の足回りの状態を良好に把握することができ、異常状態が認められれば適宜警告を発報するようにし、走行装置に適切な処置を施すことが可能である。
これにより、履帯周辺の足回りの状態を適正に保ち、走行装置への不要な負荷の入力を低減することができる。
【図面の簡単な説明】
(【0011】以降は省略されています)
この特許をJ-PlatPat(特許庁公式サイト)で参照する
関連特許
日立建機株式会社
建設機械
29日前
日立建機株式会社
作業車両
25日前
日立建機株式会社
油圧機器
24日前
日立建機株式会社
作業機械
25日前
日立建機株式会社
作業機械
25日前
日立建機株式会社
作業機械
23日前
日立建機株式会社
作業機械
23日前
日立建機株式会社
作業車両
23日前
日立建機株式会社
作業機械
16日前
日立建機株式会社
転圧機械
23日前
日立建機株式会社
作業機械
23日前
日立建機株式会社
建設機械
23日前
日立建機株式会社
建設機械
23日前
日立建機株式会社
作業機械
25日前
日立建機株式会社
作業車両
25日前
日立建機株式会社
作業機械
22日前
日立建機株式会社
作業機械
22日前
日立建機株式会社
建設機械
25日前
日立建機株式会社
作業機械
22日前
日立建機株式会社
建設機械
25日前
日立建機株式会社
作業機械
22日前
日立建機株式会社
作業車両
22日前
日立建機株式会社
作業車両
18日前
日立建機株式会社
作業機械
22日前
日立建機株式会社
変速装置
22日前
日立建機株式会社
ポンプ装置
23日前
日立建機株式会社
電動建設機械
25日前
日立建機株式会社
動力伝達装置
25日前
日立建機株式会社
運用管理装置
22日前
日立建機株式会社
映像記録装置
22日前
日立建機株式会社
施工管理装置
23日前
日立建機株式会社
ダンプトラック
23日前
日立建機株式会社
電動式作業機械
23日前
日立建機株式会社
ホイールローダ
22日前
日立建機株式会社
ホイールローダ
22日前
日立建機株式会社
作業支援システム
23日前
続きを見る
他の特許を見る