TOP
|
特許
|
意匠
|
商標
特許ウォッチ
Twitter
他の特許を見る
公開番号
2025147383
公報種別
公開特許公報(A)
公開日
2025-10-07
出願番号
2024047612
出願日
2024-03-25
発明の名称
動力伝達装置
出願人
日立建機株式会社
代理人
弁理士法人広和特許事務所
主分類
F16D
25/0638 20060101AFI20250930BHJP(機械要素または単位;機械または装置の効果的機能を生じ維持するための一般的手段)
要約
【課題】クラッチ機構の大型化を招くことなく、ピストンに作用する遠心油圧を抑える。
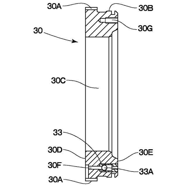
【解決手段】前進用クラッチ機構25は、クラッチケース26と、前進用回転体19と一体に回転する回転体ディスク27と、クラッチケース26と一体に回転するクラッチディスク28と、クラッチ油室29に供給される作動油の圧力に応じて移動し、回転体ディスク27とクラッチディスク28とを摩擦係合させるクラッチピストン30とを備える。また、クラッチ油室29と軸方向に並んで配置されるキャンセル油室37と、クラッチピストン30と軸方向に並んでキャンセル油室37に配置され、キャンセル油室37供給されるに潤滑油によってクラッチピストン30から離れる方向に移動するキャンセルピストン38と、クラッチピストン30とキャンセルピストン38との間を連結する連結ロッド41とを備える。
【選択図】図3
特許請求の範囲
【請求項1】
回転体と、前記回転体と同軸上に回転可能に設けられた従動体と、前記回転体と前記従動体との間を接続しまたは切離すクラッチ機構とを備え、
前記クラッチ機構は、
前記従動体に一体に設けられたクラッチケースと、
前記回転体に軸方向に移動可能に係合し、前記回転体と一体に回転する回転体ディスクと、
前記クラッチケースに軸方向に移動可能に係合し、前記クラッチケースと一体に回転するクラッチディスクと、
クラッチ油室に供給される油液の圧力に応じて前記クラッチケースに対して軸方向に移動し、前記回転体ディスクと前記クラッチディスクとを係合させるクラッチピストンとを備えてなる動力伝達装置において、
前記クラッチ油室に対して仕切られた状態で前記クラッチ油室と軸方向に並んで配置されるキャンセル油室と、
前記クラッチピストンと軸方向に並んだ状態で前記キャンセル油室に軸方向に移動可能に配置され、前記キャンセル油室に油液が供給されることにより前記クラッチピストンから離れる方向に移動するキャンセルピストンと、
前記クラッチピストンと前記キャンセルピストンとの間を連結する連結部材とを備えたことを特徴とする動力伝達装置。
続きを表示(約 460 文字)
【請求項2】
前記キャンセル油室に油液を供給する油路の途中には、前記クラッチ油室に供給される油液に応じて前記キャンセル油室に供給される油液の圧力を調整する圧力調整装置を設けることを特徴とする請求項1に記載の動力伝達装置。
【請求項3】
前記連結部材は、前記クラッチピストンと前記キャンセルピストンとの間に複数設けられ、
前記複数の連結部材は、前記回転体の回転軸心を中心とした円周上に均等な間隔で配置されていることを特徴とする請求項1に記載の動力伝達装置。
【請求項4】
前記クラッチピストンには、前記クラッチ油室に油液が供給されるときには前記クラッチ油室から油液が流れるのを阻止し、前記クラッチ油室に油液が供給されないときには前記クラッチ油室から油液を流出させる複数のブリード弁が設けられ、
前記複数の連結部材と前記複数のブリード弁とは、前記回転体の回転軸心を中心とした円周上に互いに均等な間隔で配置されていることを特徴とする請求項3に記載の動力伝達装置。
発明の詳細な説明
【技術分野】
【0001】
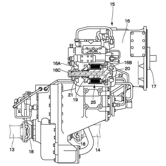
本開示は、例えばホイールローダ等の作業車両に搭載され、動力源の回転を走行用の出力軸に伝達する動力伝達装置に関する。
続きを表示(約 2,100 文字)
【背景技術】
【0002】
ホイールローダ等に代表されるホイール式の作業車両は、一般に、トルクコンバータと車軸との間に動力伝達装置(トランスミッション)が設けられ、エンジンの回転は、トルクコンバータ及び動力伝達装置を介して車輪に伝達される。これにより、作業車両は路面等を走行し、作業車両の前進走行、後進走行、走行速度等は、動力伝達装置によって切換えられる。
【0003】
動力伝達装置は、作業車両の前進走行、後進走行、走行速度等を切換えるために、油圧多板式のクラッチ機構を備えている。クラッチ機構は、回転体と従動体との間に設けられた複数のディスクと、これら複数のディスクを接続しまたは切離すピストンとを有している。ピストンは油室内に移動可能に挿嵌され、油室内に作動油等の油液が供給されることにより複数のディスクを押圧して互いに摩擦係合させる。これにより、複数のディスクを介して回転体と従動体とが一体化され、クラッチ機構が接続状態となる。
【0004】
ここで、ディスクに対するピストンの押圧力は、油室内に供給される油液によって設定されるが、油室内に供給された油液には、回転体および従動体の回転による遠心力が作用する。このため、ピストンには、油室内に供給された油液からの押圧力だけでなく、油室内で遠心力を受けた油液からの押圧力(遠心油圧)も作用することになり、油室内に供給された油液によってピストンに作用する押圧力の制御が難しくなるという問題がある。
【0005】
特に、接続されたクラッチ機構を切離すため、回転体と従動体との摩擦係合を解除する場合には、油室への油液の供給を遮断し、摩擦係合した複数のディスクをリターンスプリングによって切離す必要がある。この場合には、油室内に残った油液に遠心力が作用し、この遠心力を受けた油液からの遠心油圧がピストンに作用する。これにより、複数のディスクをリターンスプリングによって切離す動作が遅れるという問題がある。
【0006】
これに対し、ピストンを駆動するための油液が供給される油室とは反対側に、キャンセル室が設けられた動力伝達装置が提案されている(特許文献1)。この動力伝達装置は、キャンセル室に供給された油液に遠心力が作用することにより、ピストンに対してディスクから離れる方向への遠心油圧が作用する。これにより、油室内の油液からピストンに作用する遠心油圧と、キャンセル室内の油液からピストンに作用する遠心油圧とが相殺される。この結果、油室への油液の供給を遮断したときには、複数のディスクの摩擦係合をリターンスプリングによって速やかに解除し、クラッチ機構を迅速に切離すことができる。
【先行技術文献】
【特許文献】
【0007】
特開2017-180751号公報
【発明の概要】
【発明が解決しようとする課題】
【0008】
しかし、特許文献1による動力伝達装置は、油室内に供給される油液とキャンセル室に供給される油液とが、単一のピストンの軸方向の両端面に接触し、ピストンを互いに反対方向に押圧する構成となっている。このため、ピストンは、複数のディスクを押圧する部位(押圧部)と、油室およびキャンセル室に供給された油液からの遠心油圧を受ける部位(受圧部)とが径方向に連続して形成され、受圧部は押圧部から径方向内側に大きく張出している。このように、特許文献1による動力伝達装置は、クラッチ機構のピストンが大型化し、装置全体が大型化してしまうという問題がある。
【0009】
本発明は上述した従来技術の問題に鑑みなされたもので、クラッチ機構の大型化を招くことなく、ピストンに作用する遠心油圧を抑えることができるようにした動力伝達装置を提供することにある。
【課題を解決するための手段】
【0010】
本発明は、回転体と、前記回転体と同軸上に回転可能に設けられた従動体と、前記回転体と前記従動体との間を接続しまたは切離すクラッチ機構とを備え、前記クラッチ機構は、前記従動体に一体に設けられたクラッチケースと、前記回転体に軸方向に移動可能に係合し、前記回転体と一体に回転する回転体ディスクと、前記クラッチケースに軸方向に移動可能に係合し、前記クラッチケースと一体に回転するクラッチディスクと、クラッチ油室に供給される油液の圧力に応じて前記クラッチケースに対して軸方向に移動し、前記回転体ディスクと前記クラッチディスクとを係合させるクラッチピストンとを備えてなる動力伝達装置において、前記クラッチ油室に対して仕切られた状態で前記クラッチ油室と軸方向に並んで配置されるキャンセル油室と、前記クラッチピストンと軸方向に並んだ状態で前記キャンセル油室に軸方向に移動可能に配置され、前記キャンセル油室に油液が供給されることにより前記クラッチピストンから離れる方向に移動するキャンセルピストンと、前記クラッチピストンと前記キャンセルピストンとの間を連結する連結部材とを備えたことを特徴としている。
【発明の効果】
(【0011】以降は省略されています)
この特許をJ-PlatPat(特許庁公式サイト)で参照する
関連特許
日立建機株式会社
建設機械
25日前
日立建機株式会社
建設機械
29日前
日立建機株式会社
建設機械
23日前
日立建機株式会社
作業機械
23日前
日立建機株式会社
作業車両
23日前
日立建機株式会社
作業機械
23日前
日立建機株式会社
作業機械
16日前
日立建機株式会社
作業機械
23日前
日立建機株式会社
油圧機器
24日前
日立建機株式会社
作業機械
22日前
日立建機株式会社
作業機械
25日前
日立建機株式会社
作業機械
25日前
日立建機株式会社
作業機械
25日前
日立建機株式会社
作業車両
25日前
日立建機株式会社
作業車両
25日前
日立建機株式会社
建設機械
25日前
日立建機株式会社
建設機械
23日前
日立建機株式会社
転圧機械
23日前
日立建機株式会社
作業機械
22日前
日立建機株式会社
油圧機器
29日前
日立建機株式会社
作業車両
22日前
日立建機株式会社
作業機械
22日前
日立建機株式会社
作業機械
22日前
日立建機株式会社
作業機械
22日前
日立建機株式会社
変速装置
22日前
日立建機株式会社
作業機械
29日前
日立建機株式会社
作業車両
18日前
日立建機株式会社
ポンプ装置
23日前
日立建機株式会社
動力伝達装置
25日前
日立建機株式会社
運用管理装置
22日前
日立建機株式会社
施工管理装置
23日前
日立建機株式会社
映像記録装置
22日前
日立建機株式会社
電動建設機械
25日前
日立建機株式会社
ホイールローダ
22日前
日立建機株式会社
ホイールローダ
22日前
日立建機株式会社
ダンプトラック
29日前
続きを見る
他の特許を見る