TOP
|
特許
|
意匠
|
商標
特許ウォッチ
Twitter
他の特許を見る
10個以上の画像は省略されています。
公開番号
2025146535
公報種別
公開特許公報(A)
公開日
2025-10-03
出願番号
2024047369
出願日
2024-03-22
発明の名称
建設機械
出願人
日立建機株式会社
代理人
弁理士法人第一テクニカル国際特許事務所
主分類
B62D
33/07 20060101AFI20250926BHJP(鉄道以外の路面車両)
要約
【課題】取り付け及び取り外し作業の必要なしに、簡単な操作で運転室の下降阻止及びその解除を行える油圧ショベルを提供する。
【解決手段】油圧ショベル1は、下部走行体2と、上部旋回体3上に設けられた運転室5と、運転室5を昇降させるキャブ昇降駆動シリンダ7と、キャブ昇降駆動シリンダ7により昇降される運転室5を所定の姿勢に保つリンク機構6と、リンク機構6を支持する支持塔体8と、所定の下降規制位置で運転室5の下降を規制する下降規制機構16とを有し、下降規制機構16は、支持塔体8に対し回動可能にかつ当該回動方向に垂直な方向に沿ってリンク機構6に近づく及び離れる方向に移動可能なように設けられ、リンク機構6側に移動して運転室5の下降を阻止する第1角度位置と、リンク機構6から離れる側に移動して運転室5の下降の阻止を解除する第2角度位置と、の間で回転可能な回転操作部材120を備える。
【選択図】図2
特許請求の範囲
【請求項1】
車体と、
前記車体上に設けられた運転室と、
前記運転室を昇降させる昇降駆動部と、
前記昇降駆動部により昇降される前記運転室を所定の姿勢に保つリンク機構と、
前記リンク機構を支持する支持体と、
所定の下降規制位置で前記運転室の下降を規制する下降規制機構と
を有する建設機械において、
前記下降規制機構は、
前記支持体に対し回動可能にかつ当該回動方向に垂直な方向に沿って前記リンク機構に近づく及び離れる方向に移動可能なように設けられ、前記リンク機構側に移動して前記運転室の下降を阻止する第1角度位置と、前記リンク機構から離れる側に移動して前記運転室の下降の阻止を解除する第2角度位置と、の間で回転可能な回転操作部材を備える
ことを特徴とする建設機械。
続きを表示(約 1,000 文字)
【請求項2】
請求項1記載の建設機械において、
前記回転操作部材は、
前記支持体に挿入されるように設けられ、前記第1角度位置では前記支持体から前記リンク機構側への突出状態となるとともに、前記第2角度位置では前記支持体からの前記突出状態が解消される突出ピン部と、
前記突出ピン部と一体的に構成されて前記支持体の前記リンク機構とは反対側に設けられ、前記第1角度位置では前記支持体に当接するとともに、前記第2角度位置では前記支持体から離間する当接部と
を有する
ことを特徴とする建設機械。
【請求項3】
請求項2記載の建設機械において、
前記第2角度位置における前記当接部の、前記支持体からの離間状態を保持する離間保持部材をさらに有する
ことを特徴とする建設機械。
【請求項4】
請求項2記載の建設機械において、
前記当接部と係脱可能に構成され、前記第2角度位置において当該当接部と係合して前記回転操作部材の回動を禁止する係合部材をさらに有する
ことを特徴とする建設機械。
【請求項5】
請求項2記載の建設機械において、
前記当接部は、
平面視における長手方向の寸法が短手方向の寸法よりも大きい略紡錘状又は略楕円状の形状を備えるとともに、回動中心よりも前記長手方向の一方側に長孔状の係合孔を備えており、
前記支持体に、前記第1角度位置において前記係合孔と係合する係合突起を設けた
ことを特徴とする建設機械。
【請求項6】
請求項5記載の建設機械において、
前記係合孔の長軸方向と、前記当接部の短手方向とが略一致することを特徴とする建設機械。
【請求項7】
請求項5記載の建設機械において、
前記突出ピン部は、
前記回転操作部材が第1角度位置である場合に略水平方向となる載置面を形成する段付部を備え、
前記載置面は、
前記第1角度位置にて前記支持体の前記リンク機構側において前記リンク機構に下方から当接する
ことを特徴とする建設機械。
【請求項8】
請求項7記載の建設機械において、
前記係合孔の短軸方向と、前記載置面の面方向とが略平行であることを特徴とする建設機械。
発明の詳細な説明
【技術分野】
【0001】
本発明は、運転室を昇降可能な建設機械に関する。
続きを表示(約 1,600 文字)
【背景技術】
【0002】
特許文献1は、キャブを昇降させるリンク機構と、前記リンク機構を支持する支持塔体と、所定の下降規制位置で前記キャブの下降を規制する下降規制機構と、を有する作業機械であって、 前記下降規制機構は、前記支持塔体の前記下降規制位置に対応する位置に設けられる受け部と、前記リンク機構に、前記受け部と係合する係合位置と、前記受け部から離間した非係合位置との間で移動可能に設けられた係合部材と、を有する、作業機械を開示している。
【先行技術文献】
【特許文献】
【0003】
特開2015-101870号公報
【発明の概要】
【発明が解決しようとする課題】
【0004】
しかしながら、特許文献1の技術では、運転室の下降を阻止しロックする際には、係合部材を取り付け位置に移動させて締結用部材で支持塔体に固定し、ロックを解除する際は係合部材を支持塔体から取り外す必要があり、それらの作業が煩雑にならざるを得なかった。
【0005】
本発明は、上記事情に鑑みてなされたものであり、その目的は、取り付け及び取り外し作業の必要なしに、簡単な操作で運転室の下降阻止及びその解除を行える建設機械を提供することにある。
【課題を解決するための手段】
【0006】
上記目的を達成するために、本発明は、車体と、前記車体上に設けられた運転室と、前記運転室を昇降させる昇降駆動部と、前記昇降駆動部により昇降される前記運転室を所定の姿勢に保つリンク機構と、前記リンク機構を支持する支持体と、所定の下降規制位置で前記運転室の下降を規制する下降規制機構とを有する建設機械において、前記下降規制機構は、前記支持体に対し回動可能にかつ当該回動方向に垂直な方向に沿って前記リンク機構に近づく及び離れる方向に移動可能なように設けられ、前記リンク機構側に移動して前記運転室の下降を阻止する第1角度位置と、前記リンク機構から離れる側に移動して前記運転室の下降の阻止を解除する第2角度位置と、の間で回転可能な回転操作部材を備えることを特徴とする。
【発明の効果】
【0007】
本発明によれば、取り付け及び取り外し作業の必要なしに、簡単な操作で運転室の下降阻止及びその解除を行うことができる。
【図面の簡単な説明】
【0008】
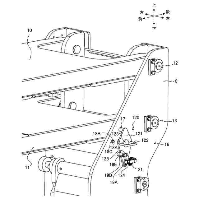
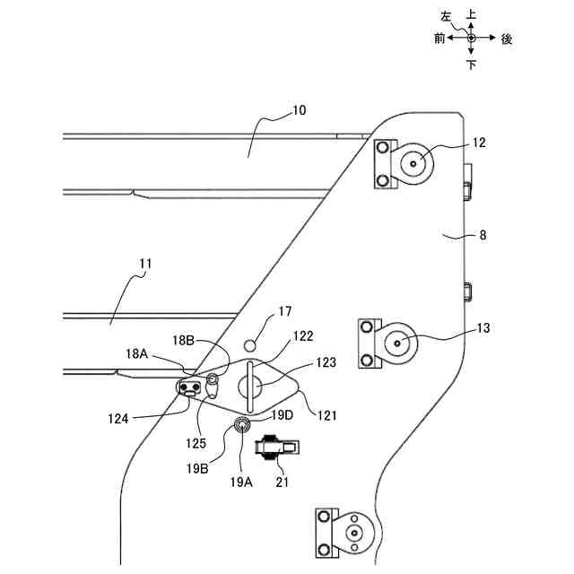
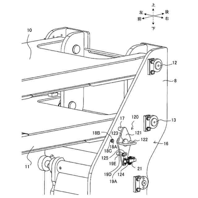
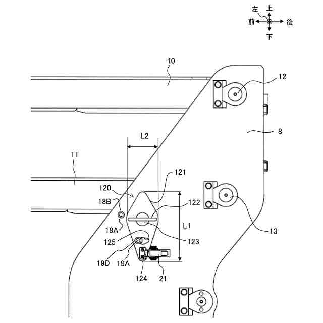
本発明の一実施形態における油圧ショベルの構造を表す斜視図である。
図1中の要部である下降規制機構付近の詳細構造を表す拡大斜視図である。
図1及び図2に示した回転操作部材の全体構造を表す斜視図である。
下降阻止状態にある油圧ショベルの斜視図である。
下降阻止解除状態にある回転操作部材付近の詳細構造を表す左側面図である。
下降阻止解除状態にある回転操作部材付近の詳細構造を表す断面図である。
下降阻止状態にある下降規制機構付近の詳細構造を表す拡大斜視図である。
下降阻止状態にある回転操作部材付近の詳細構造を表す左側面図である。
下降阻止状態にある回転操作部材付近の詳細構造を表す断面図である。
回転操作部材の回転途中状態を表す拡大斜視図である。
回転操作部材の回転途中状態を表す断面図である。
【発明を実施するための形態】
【0009】
以下、本発明の一実施形態を、図面を参照しつつ説明する。
【0010】
<油圧ショベルの概要>
図1に、本実施形態の建設機械の例である油圧ショベル1を示している。なお、以下の説明において、上下方向、前後方向、左右方向は、図1等の各図中に適宜示す矢印方向に対応している。すなわち、図示の「上」「下」「前」「後」「左」「右」は、キャブ5(後述)内に着座したオペレータから見た上下左右前後方向に相当している。
(【0011】以降は省略されています)
この特許をJ-PlatPat(特許庁公式サイト)で参照する
関連特許
日立建機株式会社
建設機械
今日
日立建機株式会社
作業機械
今日
日立建機株式会社
作業機械
1か月前
日立建機株式会社
作業機械
22日前
日立建機株式会社
作業機械
14日前
日立建機株式会社
作業機械
8日前
日立建機株式会社
建設機械
4日前
日立建機株式会社
作業機械
4日前
日立建機株式会社
油圧機器
今日
日立建機株式会社
作業機械
1日前
日立建機株式会社
建設機械
今日
日立建機株式会社
作業機械
今日
日立建機株式会社
作業機械
1日前
日立建機株式会社
作業機械
今日
日立建機株式会社
作業機械
今日
日立建機株式会社
建設機械
今日
日立建機株式会社
作業車両
今日
日立建機株式会社
動力伝達装置
今日
日立建機株式会社
液冷式抵抗器
今日
日立建機株式会社
油圧システム
4日前
日立建機株式会社
電動式作業機械
今日
日立建機株式会社
ダンプトラック
今日
日立建機株式会社
部品需要予測装置
1か月前
日立建機株式会社
分別回収システム
4日前
日立建機株式会社
充電支援システム
1か月前
日立建機株式会社
水素供給システム
今日
日立建機株式会社
建設機械の作業装置
14日前
日立建機株式会社
スプライン連結装置
4日前
日立建機株式会社
減速機及び建設機械
今日
日立建機株式会社
地形情報管理システム
4日前
日立建機株式会社
建設機械の下部走行体
7日前
日立建機株式会社
制御弁装置および作業機械
1か月前
日立建機株式会社
作業機械及び監視システム
今日
日立建機株式会社
作業機械の位置推定システム
14日前
日立建機株式会社
アキシャルピストン式液圧回転機
今日
日立建機株式会社
作業機械および作業機械の制御方法
2日前
続きを見る
他の特許を見る