TOP
|
特許
|
意匠
|
商標
特許ウォッチ
Twitter
他の特許を見る
10個以上の画像は省略されています。
公開番号
2025150681
公報種別
公開特許公報(A)
公開日
2025-10-09
出願番号
2024051696
出願日
2024-03-27
発明の名称
ポンプ装置
出願人
日立建機株式会社
代理人
弁理士法人広和特許事務所
主分類
F04B
53/18 20060101AFI20251002BHJP(液体用容積形機械;液体または圧縮性流体用ポンプ)
要約
【課題】 ギヤ室の潤滑油の温度上昇を抑えることにより、潤滑油の交換サイクルを長くしてメンテナンス性を向上すると共に、潤滑油の温度上昇によるシール部材などの損傷リスクを低減する。
【解決手段】 ギヤケーシング22のギヤ室23には、内部通路58の少なくとも一部が潤滑油32に浸漬した状態で油管路57が設けられている。この油管路57には、ファンポンプ52から吐出された作動油(圧油)が導かれるように構成されている。従って、オイルクーラ13で冷却された作動油を利用することで、冷却ファン14による冷却風に頼ることなく、ギヤ室23の潤滑油32の温度上昇を抑制することができる。
【選択図】 図3
特許請求の範囲
【請求項1】
内部がギヤ室となったギヤケーシングと、
前記ギヤ室に回転可能に設けられた複数の歯車と、
前記複数の歯車間の噛合部を潤滑するために、前記ギヤ室に貯溜された潤滑油と、
前記ギヤケーシングに設けられ、前記歯車と一緒に回転されることにより油圧アクチュエータに向けて作動油を供給する複数の油圧ポンプと、
を備えてなるポンプ装置において、
前記ギヤ室には、少なくとも一部が前記潤滑油に浸漬した状態で油管路が設けられ、
前記油管路には、前記複数の油圧ポンプのいずれかから吐出された作動油が導かれるように構成されていることを特徴とするポンプ装置。
続きを表示(約 160 文字)
【請求項2】
請求項1に記載のポンプ装置において、
前記油管路は、隣り合う前記歯車間の前記噛合部の位置に配置されていることを特徴とするポンプ装置。
【請求項3】
請求項1に記載のポンプ装置において、
前記油管路は、前記歯車の歯先円に沿った円弧部を備えていることを特徴とするポンプ装置。
発明の詳細な説明
【技術分野】
【0001】
本開示は、油圧ショベル、油圧クレーン等の建設機械に搭載され、原動機によって駆動されることにより作動用の圧油を吐出するポンプ装置に関する。
続きを表示(約 2,000 文字)
【背景技術】
【0002】
一般に、油圧ショベル、油圧クレーン等の建設機械は、自走が可能な車体と、この車体に設けられた作業装置と、を含んで構成されている。また、建設機械の車体には、エンジン、電動モータ等の原動機、ポンプ装置等が搭載されている。ポンプ装置は、原動機によって駆動されることにより、車体や作業装置に設けられた各種の油圧アクチュエータに作動油(作動用の圧油)を供給する構成となっている。
【0003】
ポンプ装置は、内部がギヤ室となったギヤケーシングと、ギヤ室に回転可能に設けられ、隣同士が噛合した複数の歯車と、複数の歯車間の噛合部を潤滑するために、ギヤ室に貯溜された潤滑油と、ギヤケーシングに設けられ、歯車と一緒に回転されることにより油圧アクチュエータに向けて作動油を供給する複数の油圧ポンプと、を備えている。
【0004】
また、ギヤケーシングのギヤ室では、複数の歯車によって潤滑油が撹拌されるから、このときの撹拌抵抗で潤滑油の温度(油温)が上昇する。そこで、ポンプ装置には、ギヤ室内に突出する冷却筒をギヤケーシングに設置し、外部の空気を冷却筒内で循環させることで潤滑油を空冷する構成としたものがある(特許文献1)。
【先行技術文献】
【特許文献】
【0005】
特開平7-103317号公報
【発明の概要】
【発明が解決しようとする課題】
【0006】
ところで、特許文献1の発明は、ギヤ室内に突出した冷却筒に空気を流通させることにより、熱を空気に伝えて潤滑油を冷却している。しかし、ポンプ装置が配置されたポンプ室は、冷却装置(冷却ファン)が配置されたエンジン室と隔壁で仕切られている。従って、冷却ファンが発生した冷却風は、ポンプ室に流通し難いから、冷却風を利用して潤滑油を効率よく冷却できず、温度上昇してしまう。これにより、潤滑油の劣化が早まり、潤滑油の交換サイクルが短くなり、メンテナンス性が悪くなるという問題がある。また、潤滑油が過度に上昇し、シール部材などの保証限界温度に到達した場合、当該シール部材などの損傷リスクも高まる。
【0007】
本発明の一実施形態の目的は、ギヤ室の潤滑油の温度上昇を抑えることにより、潤滑油の交換サイクルを長くしてメンテナンス性を向上すると共に、潤滑油の温度上昇によるシール部材などの損傷リスクを低減できるようにしたポンプ装置を提供することにある。
【課題を解決するための手段】
【0008】
本発明の一実施形態は、内部がギヤ室となったギヤケーシングと、前記ギヤ室に回転可能に設けられた複数の歯車と、前記複数の歯車間の噛合部を潤滑するために、前記ギヤ室に貯溜された潤滑油と、前記ギヤケーシングに設けられ、前記歯車と一緒に回転されることにより油圧アクチュエータに向けて作動油を供給する複数の油圧ポンプと、を備えてなるポンプ装置において、前記ギヤ室には、少なくとも一部が前記潤滑油に浸漬した状態で油管路が設けられ、前記油管路には、前記複数の油圧ポンプのいずれかから吐出された作動油が導かれるように構成されている。
【発明の効果】
【0009】
本発明の一実施形態によれば、ギヤ室の潤滑油の温度上昇を抑えることができ、潤滑油の交換サイクルを長くしてメンテナンス性を向上すると共に、潤滑油の温度上昇によるシール部材などの損傷リスクを低減することができる。
【図面の簡単な説明】
【0010】
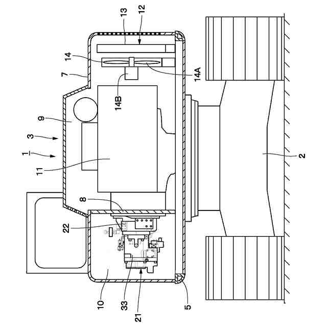
本発明の第1の実施形態によるポンプ装置を備えた油圧ショベルの左側面図である。
油圧ショベルの後部を図1中の矢示II-II方向から見た断面図である。
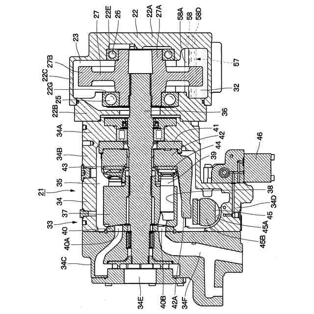
第1の実施形態によるポンプ装置を図5中の矢示III-III方向から見た断面図である。
ポンプ装置を図5中の矢示IV-IV方向から見た断面図である。
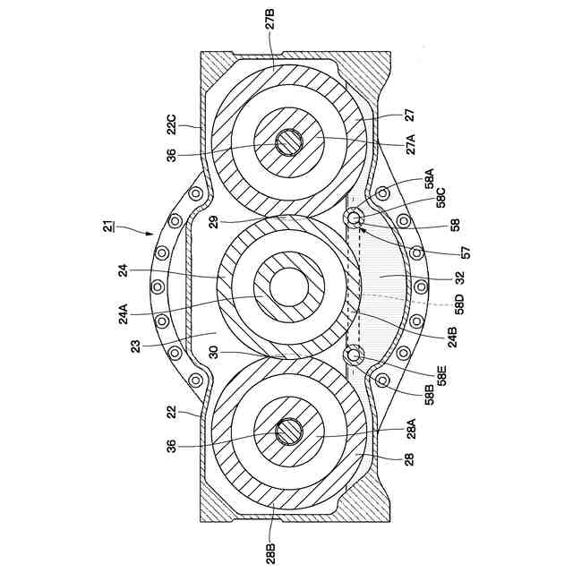
一部を破断した第1の実施形態によるポンプ装置を示す平面図である。
ポンプ装置を図3中の矢示VI-VI方向から見た断面図である。
第1の実施形態によるポンプ装置を含む油圧回路図である。
作動油と潤滑油の温度変化を示す特性線図である。
本発明の第2の実施形態によるポンプ装置を図10中の矢示IX-IX方向から見た断面図である。
図9のポンプ装置をメインポンプの回転中心の位置で破断した断面図である。
ポンプ装置を図9中の矢示XI-XI方向から見た断面図である。
第2の実施形態によるポンプ装置を含む油圧回路図である。
【発明を実施するための形態】
(【0011】以降は省略されています)
この特許をJ-PlatPat(特許庁公式サイト)で参照する
関連特許
日立建機株式会社
作業車両
20日前
日立建機株式会社
作業機械
20日前
日立建機株式会社
作業機械
25日前
日立建機株式会社
作業車両
18日前
日立建機株式会社
作業機械
18日前
日立建機株式会社
建設機械
24日前
日立建機株式会社
作業機械
24日前
日立建機株式会社
作業機械
24日前
日立建機株式会社
油圧機器
19日前
日立建機株式会社
作業機械
24日前
日立建機株式会社
作業機械
20日前
日立建機株式会社
作業機械
18日前
日立建機株式会社
作業機械
20日前
日立建機株式会社
作業機械
11日前
日立建機株式会社
作業車両
20日前
日立建機株式会社
建設機械
24日前
日立建機株式会社
建設機械
20日前
日立建機株式会社
建設機械
20日前
日立建機株式会社
建設機械
24日前
日立建機株式会社
油圧機器
24日前
日立建機株式会社
作業機械
24日前
日立建機株式会社
転圧機械
18日前
日立建機株式会社
作業機械
18日前
日立建機株式会社
建設機械
18日前
日立建機株式会社
変速装置
17日前
日立建機株式会社
作業機械
1か月前
日立建機株式会社
作業車両
13日前
日立建機株式会社
作業機械
1か月前
日立建機株式会社
作業機械
17日前
日立建機株式会社
作業車両
17日前
日立建機株式会社
作業機械
17日前
日立建機株式会社
作業機械
1か月前
日立建機株式会社
作業機械
17日前
日立建機株式会社
建設機械
18日前
日立建機株式会社
作業車両
24日前
日立建機株式会社
作業機械
17日前
続きを見る
他の特許を見る