TOP
|
特許
|
意匠
|
商標
特許ウォッチ
Twitter
他の特許を見る
10個以上の画像は省略されています。
公開番号
2025154687
公報種別
公開特許公報(A)
公開日
2025-10-10
出願番号
2024057826
出願日
2024-03-29
発明の名称
リスク判定装置及びリスク判定システム
出願人
日立建機株式会社
代理人
弁理士法人平木国際特許事務所
主分類
G06Q
50/08 20120101AFI20251002BHJP(計算;計数)
要約
【課題】重機と人の接近などのヒヤリハット事象に対してリスクレベルを判定して現場管理者等に提示し、現場管理者等が現場毎に異なる対応基準に応じて優先度を設定することが可能なリスク判定装置を提供する。
【解決手段】本発明に係るリスク判定装置は、建設機械から受信した建設機械と物体との接近により生じたヒヤリハット事象の情報を含むヒヤリハットデータを保存するヒヤリハットデータテーブルと、過去に生じたヒヤリハット事象に対するフィードバックを記録するフィードバック蓄積部と、建設機械からヒヤリハット事象に関するデータを受信すると、ヒヤリハットデータテーブル及びフィードバック蓄積部を参照して、該ヒヤリハット事象のリスクレベルを判定するリスク判定部と、リスクレベルに関する情報を含み、少なくとも建設機械が使用されている現場の管理者に通知するための通知情報を生成する通知情報生成部と、を有する。
【選択図】図2A
特許請求の範囲
【請求項1】
建設機械の使用時に生じたヒヤリハット事象のリスクを判定するリスク判定装置であって、
前記建設機械から受信した前記建設機械と物体との接近により生じた前記ヒヤリハット事象の情報を含むヒヤリハットデータを保存するヒヤリハットデータテーブルと、
過去に生じた前記ヒヤリハット事象に対するフィードバックを記録するフィードバック蓄積部と、
前記建設機械から前記ヒヤリハット事象に関するデータを受信すると、前記ヒヤリハットデータテーブル及びフィードバック蓄積部を参照して、前記ヒヤリハット事象のリスクレベルを判定するリスク判定部と、
前記リスクレベルに関する情報を含み、少なくとも前記建設機械が使用されている現場の管理者に通知するための通知情報を生成する通知情報生成部と、を有する、
ことを特徴とするリスク判定装置。
続きを表示(約 1,400 文字)
【請求項2】
請求項1に記載のリスク判定装置であって、
前記ヒヤリハットデータテーブルに保存された前記ヒヤリハットデータの前記リスクレベルを更新するリスクレベル更新部をさらに備え、前記リスクレベル更新部は、前記フィードバック蓄積部に、前記通知情報の受信者から受信した少なくとも1つのフィードバックが蓄積されている場合であって、少なくとも1つのフィードバックに、管理者による対応が必要であるというフィードバックが含まれていた場合には前記通知情報に含まれている前記ヒヤリハットデータをリスク高と判定し、前記管理者による対応が不要であるというフィードバックのみが含まれていた場合には前記通知情報に含まれている前記ヒヤリハットデータをリスク低と判定し、前記フィードバックを受信しない場合及び前記通知情報の詳細を確認したという情報のみが含まれていた場合には前記通知情報に含まれている前記ヒヤリハットデータをリスク中と判定する、
ことを特徴とするリスク判定装置。
【請求項3】
請求項2に記載のリスク判定装置であって、
前記リスクレベル更新部は、前記管理者が前記通知情報を受信する前に前記建設機械のオペレータと連絡を取ったという情報を取得した場合には、前記ヒヤリハットデータをリスク高と判定する、
ことを特徴とするリスク判定装置。
【請求項4】
請求項1に記載のリスク判定装置であって、
前記ヒヤリハットデータテーブルに保存された前記ヒヤリハットデータには、前記ヒヤリハット事象が生じた現場を一意に定めるための識別子を含み、
前記リスク判定部は、前記建設機械から前記ヒヤリハット事象に関するデータを受信すると、前記識別子で定められた前記現場ごとに前記ヒヤリハット事象の前記リスクレベルを判定することにより、前記現場ごとに前記ヒヤリハットデータのリスクを管理する、
ことを特徴とするリスク判定装置。
【請求項5】
請求項1に記載のリスク判定装置であって、
前記フィードバック蓄積部には、前記管理者及び前記建設機械のオペレータからのフィードバック情報が含まれる、
ことを特徴とするリスク判定装置。
【請求項6】
請求項1に記載のリスク判定装置であって、
前記通知情報を前記建設機械に通知する重機通知部をさらに備える、
ことを特徴とするリスク判定装置。
【請求項7】
建設機械に生じた前記建設機械と物体との接近により生じたヒヤリハット事象のリスクを判定するリスク判定装置と、
前記建設機械の管理者が有する管理端末と、を備えるリスク判定装置であって、
前記リスク判定装置は、
前記建設機械から受信したヒヤリハットデータを保存するヒヤリハットデータテーブルと、
過去に生じた前記ヒヤリハット事象に対するフィードバックを記録するフィードバック蓄積部と、
前記建設機械から前記ヒヤリハット事象に関するデータを受信すると、前記ヒヤリハットデータテーブル及び前記フィードバック蓄積部を参照して、前記ヒヤリハット事象のリスクレベルを判定するリスク判定部と、
前記リスクレベルに関する情報を含み、前記建設機械が使用されている現場の管理者に通知するための通知情報を生成する通知情報生成部と、を有する
ことを特徴とするリスク判定システム。
発明の詳細な説明
【技術分野】
【0001】
本発明は、施工現場で収集された情報からリスクレベルを判定して提示する装置及びシステムに関する。
続きを表示(約 2,500 文字)
【背景技術】
【0002】
土木施工現場では人と重機が接近した作業があり、他の産業と比較しても重機と人の接触事故のリスクが高い状況にある。これに対し、重機の機能により接触事故を回避する方法以外に、現場での安全教育・対策などを通した現場の安全意識改善を狙った取り組みがなされている。
【0003】
現場での安全教育・対策においては、実際に現場で発生したヒヤリハット事象(危ないことが起こったが災害には至らなかった事象、いわゆる事故未遂)から現場のリスクを確認して対策を行うことが効果的である。一方、土木施工現場では人と重機が接近する作業は日常的に実施されており、対策を実施すべきヒヤリハット事象を効果的に抽出することが重要となる。また、現場の作業者はヒヤリハット事象が発生した直後が当該ヒヤリハット事象を認識しやすいことから、重大なヒヤリハット事象については、発生したタイミングですぐに対応を行い、さらに後日教育などを行うことが重要となる。
【0004】
この分野において、従来技術では特許文献1のように作業内容から予知される危険に対し、具体的な安全対策を含む危険予知情報を現場管理者に提示して適切な安全管理がとれるようにするという方法があった。
【先行技術文献】
【特許文献】
【0005】
特開2003-242202号公報
【発明の概要】
【発明が解決しようとする課題】
【0006】
しかしながら、施工業者によって安全に対する意識が異なっているため、従来技術では現場管理者に提示すべき危険事象を適切に判定することが難しい。
【0007】
本発明は上記事情を鑑みてなされたもので、重機と人の接近などのヒヤリハット事象に対してリスクレベルを判定して現場管理者等に提示し、現場管理者等が現場毎に異なる対応基準に応じて優先度を設定することが可能なリスク判定装置を提供することを目的とする。
【課題を解決するための手段】
【0008】
本発明に係るリスク判定装置は、建設機械から受信した建設機械と物体との接近により生じた前記ヒヤリハット事象の情報を含むヒヤリハットデータを保存するヒヤリハットデータテーブルと、過去に生じたヒヤリハット事象に対するフィードバックを記録するフィードバック蓄積部と、建設機械からヒヤリハット事象に関するデータを受信すると、ヒヤリハットデータテーブル及びフィードバック蓄積部を参照して、該ヒヤリハット事象のリスクレベルを判定するリスク判定部と、リスクレベルに関する情報を含み、少なくとも建設機械が使用されている現場の管理者に通知するための通知情報を生成する通知情報生成部と、を有する。
【発明の効果】
【0009】
本発明によれば、重機と人の接近などのヒヤリハット事象に対してリスクレベルを判定
して現場管理者等に提示するため、現場管理者等は現場毎に異なる対応基準に応じて優先度を設定することが可能になる。したがって、現場管理者は設定された優先度に基づいて適切な対策・安全教育を実施できるようになり、現場の効果的な安全性改善を実施することが可能となる。
本発明に関連する更なる特徴は、本明細書の記述、添付図面から明らかになるものである。また、上記した以外の課題、構成および効果は以下の実施形態の説明により明らかにされる。
【図面の簡単な説明】
【0010】
本発明の実施例1におけるシステム構成を説明するための説明図。
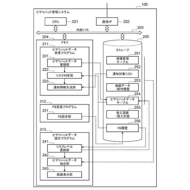
本発明の実施例1におけるリスク判定装置の機能構成図。
本発明の実施例1において使用される建設機械の機能構成図。
本発明の実施例1における、アプリを用いた管理者への通知を説明するための図。
本発明の実施例1における、メールを用いた管理者への通知を説明するための図。
本発明の実施形態における管理者への提示画面を説明するための図であり、図4(a)は統計データを提示する場合、図4(b)は個別データを提示する場合の画面例。
本発明の実施例1における、現場管理テーブルのデータ構造例。
本発明の実施例1における、通知対象リストのデータ構造例。
本発明の実施例1における、ヒヤリハットデータのデータ構造例。
本発明の実施例1における、FB(フィードバック)履歴のデータ構造例。
本発明の実施例1における、リスク判定装置が実行する処理を示すフローチャート。
本発明の実施例1における、リスク判定装置が実行する処理を示すフローチャート。
本発明の実施例1における、リスク判定装置が実行する処理を示すフローチャート。
本発明の実施例1における、重機からデータを受信したときにリスク判定装置が実行する処理を示すフローチャート。
本発明の実施例1における、現場管理者のフィードバックを受信したときにリスク判定装置が実行する処理を示すフローチャート。
本発明の実施例1における、リスクレベル判定に基づき画面を提示する際にリスク判定装置が実行する処理を示すフローチャート。
本発明の実施例2におけるリスク判定装置の機能構成図。
本発明の実施例2において使用される重機の機能構成図。
本発明の実施例2における、FB履歴のデータ構造例。
本発明の実施例2における、リスク判定装置が実行する処理を示すフローチャート。
人及び重機の双方からフィードバックを受けた際の判断方法を説明するための図。
本発明の実施例3におけるリスク判定装置の機能構成図。
本発明の実施例3において使用される建設機械の機能構成図。
本発明の実施例3においてリスク判定装置が実行する処理を示すフローチャート。
【発明を実施するための形態】
(【0011】以降は省略されています)
この特許をJ-PlatPat(特許庁公式サイト)で参照する
関連特許
日立建機株式会社
作業機械
15日前
日立建機株式会社
作業機械
16日前
日立建機株式会社
建設機械
16日前
日立建機株式会社
ダンプトラック
15日前
日立建機株式会社
運搬車両認識システム及び作業機械
1か月前
個人
詐欺保険
1か月前
個人
縁伊達ポイン
1か月前
個人
RFタグシート
26日前
個人
職業自動販売機
8日前
個人
5掛けポイント
15日前
個人
ペルソナ認証方式
23日前
個人
地球保全システム
1か月前
個人
QRコードの彩色
1か月前
個人
自動調理装置
25日前
個人
情報処理装置
18日前
個人
農作物用途分配システム
1か月前
個人
残土処理システム
1か月前
個人
タッチパネル操作指代替具
1か月前
個人
インターネットの利用構造
22日前
個人
知的財産出願支援システム
1か月前
個人
サービス情報提供システム
10日前
個人
携帯端末障害問合せシステム
1か月前
個人
スケジュール調整プログラム
1か月前
株式会社キーエンス
受発注システム
1か月前
個人
食品レシピ生成システム
1か月前
株式会社キーエンス
受発注システム
1か月前
株式会社キーエンス
受発注システム
1か月前
個人
エリアガイドナビAIシステム
23日前
キヤノン株式会社
表示システム
1か月前
株式会社ワコム
電子ペン
17日前
株式会社ケアコム
項目選択装置
18日前
株式会社ケアコム
項目選択装置
18日前
エッグス株式会社
情報処理装置
1か月前
キヤノン株式会社
情報処理装置
2日前
キヤノン株式会社
情報処理装置
2日前
キヤノン株式会社
画像認識装置
2日前
続きを見る
他の特許を見る