TOP
|
特許
|
意匠
|
商標
特許ウォッチ
Twitter
他の特許を見る
公開番号
2025154242
公報種別
公開特許公報(A)
公開日
2025-10-10
出願番号
2024057135
出願日
2024-03-29
発明の名称
鉱山管理装置及び鉱山管理方法
出願人
日立建機株式会社
代理人
弁理士法人開知
主分類
E02F
9/20 20060101AFI20251002BHJP(水工;基礎;土砂の移送)
要約
【課題】鉱山機械の保守を改善可能な態様で鉱山機械のアラート情報を提示できる鉱山管理装置及び鉱山管理方法を提供する。
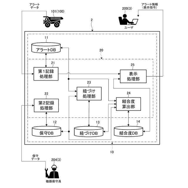
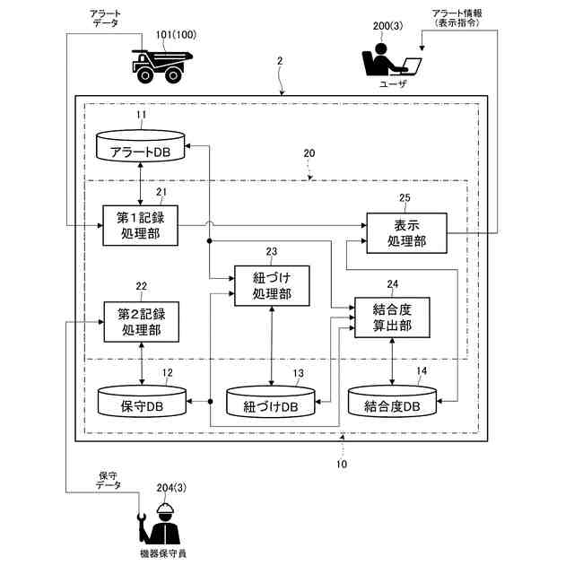
【解決手段】鉱山管理装置2は、鉱山機械101のアラートデータ及び保守データが格納されている記憶装置10と、アラートデータ及び保守データを収集して記憶装置10に記録すると共に処理して端末装置3へ出力する情報処理装置20を備える。情報処理装置20は、鉱山機械101の各保守作業に対してその保守作業前の鉱山機械101の稼働期間中に発出された全てのアラートが関連付けられるようにアラートデータと保守データを紐づけ、紐づけたアラートデータと保守データを用い鉱山機械101のアラートと保守作業との結び付きの度合いを示す指標である結合度を算出し、鉱山機械101のアラートを算出結果の結合度に基づいてアラート情報として端末装置3に表示させる。
【選択図】 図2
特許請求の範囲
【請求項1】
鉱山機械の各アラートに関するデータであるアラートデータが集約されて格納されていると共に、前記鉱山機械に対して実施された各保守作業に関するデータである保守データが集約されて格納されている記憶装置と、
前記鉱山機械の前記アラートデータ及び前記鉱山機械の前記保守データを収集して前記記憶装置に記録すると共に、前記鉱山機械の前記アラートデータ及び前記鉱山機械の前記保守データを処理して表示機能を有する端末装置へ出力する情報処理装置とを備えた鉱山管理装置において、
前記情報処理装置は、
前記鉱山機械の各保守作業に対して、その保守作業と前回の保守作業との間の前記鉱山機械の稼働期間中において発出された全てのアラートが関連付けられるように、前記鉱山機械の前記アラートデータと前記鉱山機械の前記保守データとを紐づけて前記記憶装置に記録する紐づけ処理を行い、
前記鉱山機械のアラートと前記鉱山機械の保守作業との結び付きの度合いを示す指標である結合度を、前記紐づけ処理によって紐づけられている前記アラートデータと前記保守データとを用いて算出する結合度算出処理を行い、
前記鉱山機械のアラートを前記結合度算出処理の算出結果の前記結合度に基づいて前記鉱山機械のアラートに関する表示情報であるアラート情報として表示させる表示指令を前記端末装置へ出力する表示処理を行うように構成されている
ことを特徴とする鉱山管理装置。
続きを表示(約 2,100 文字)
【請求項2】
請求項1に記載の鉱山管理装置において、
前記結合度算出処理は、
前記記憶装置に格納されている前記保守データ及び前記アラートデータに基づき、所定期間中に実施された保守作業のうち、所定の種類のアラートが紐づけられている保守作業における前記所定の種類のアラートの発出総数であるアラート総数を計算し、
前記記憶装置に格納されている前記保守データ及び前記アラートデータに基づき、前記所定期間中に実施された保守作業のうち、前記所定の種類のアラートが紐づけられていると共に所定の部品を対象とする保守作業におけるその作業回数である部品保守回数を計算し、
計算結果のアラート総数に対する計算結果の部品保守回数の割合であるアクション率を前記結合度として算出するものである
ことを特徴とする鉱山管理装置。
【請求項3】
請求項1に記載の鉱山管理装置において、
前記結合度算出処理は、
前記記憶装置に格納されている前記保守データ及び前記アラートデータに基づき、所定期間中に実施された保守作業のうち、所定の種類のアラートが紐づけられている保守作業における前記所定の種類のアラートの発出総数であるアラート総数を計算し、
前記記憶装置に格納されている前記保守データ及び前記アラートデータに基づき、前記所定期間中に実施された保守作業のうちの所定の部品を対象とする保守作業に紐づけられている前記所定の種類のアラートの発出の回数であるアラート回数を計算し、
計算結果のアラート総数に対する計算結果のアラート回数の割合であるヒット率を前記結合度として算出するものである
ことを特徴とする鉱山管理装置。
【請求項4】
請求項1に記載の鉱山管理装置において、
前記結合度算出処理は、
前記記憶装置に格納されている前記保守データ及び前記アラートデータに基づき、前記鉱山機械の各アラートの発出からそのアラートに紐づけられている保守作業の開始までの時間である経過時間を計算し、
計算結果の経過時間のうち、所定の種類のアラートが紐づけられていると共に所定の部品を対象とする所定期間中の保守作業に関する経過時間の集計値を前記結合度として算出するものであり、
前記結合度は、算出結果の集計値が大きくなるほど前記結び付きの度合いが小さくなる一方、算出結果の集計値が小さくなるほど前記結び付きの度合いが大きくなる指標として定義される
ことを特徴とする鉱山管理装置。
【請求項5】
請求項1に記載の鉱山管理装置において、
前記表示処理は、前記結合度算出処理の演算結果である結合度が予め設定された第1判定値よりも大きな値であるアラートのみを前記アラート情報として表示させる表示指令を出力するものである
ことを特徴とする鉱山管理装置。
【請求項6】
請求項2に記載の鉱山管理装置において、
前記表示処理は、
前記結合度算出処理の算出結果であるアクション率を予め設定された第2判定値と比較し、
比較結果に応じたアラート情報を表示させる表示指令を出力するものである
ことを特徴とする鉱山管理装置。
【請求項7】
請求項3に記載の鉱山管理装置において、
前記表示処理は、
前記結合度算出処理の算出結果であるヒット率を予め設定された第3判定値と比較し、
比較結果に応じたアラート情報を表示させる表示指令を出力するものである
ことを特徴とする鉱山管理装置。
【請求項8】
請求項4に記載の鉱山管理装置において、
前記表示処理は、
前記結合度算出処理の算出結果である経過時間の集計値を予め設定された第4判定値と比較し、
比較結果に応じたアラート情報を表示させる表示指令を出力するものである
ことを特徴とする鉱山管理装置。
【請求項9】
請求項1に記載の鉱山管理装置において、
前記表示処理は、前記鉱山機械のアラートのうち予め設定された特定の種類のアラートについて、前記結合度算出処理の算出結果である結合度とは無関係に必ず前記アラート情報として表示させる表示指令を出力するものである
ことを特徴とする鉱山管理装置。
【請求項10】
請求項1に記載の鉱山管理装置において、
前記情報処理装置は、前記鉱山機械の各保守作業の前後における前記鉱山機械の稼働期間中において発出されるアラートの回数が減少する度合いを示す指標であるアラート減少度を算出する減少度算出処理を更に行い、
前記表示処理は、前記結合度算出処理の算出結果である結合度及び前記減少度算出処理の算出結果であるアラート減少度に応じて前記アラート情報を表示させる表示指令を出力するものである
ことを特徴とする鉱山管理装置。
(【請求項11】以降は省略されています)
発明の詳細な説明
【技術分野】
【0001】
本発明は、ダンプトラックやショベルなどの鉱山機械のアラートデータを収集して活用する鉱山管理装置及び鉱山管理方法に関する。
続きを表示(約 2,500 文字)
【背景技術】
【0002】
近年、様々な分野において、各種装置のアラートデータを収集して当該装置の保守を支援する管理システムの導入が進んでいる。このような保守支援のシステムとして、プラント分野においてプラント機器の点検作業を支援する保全点検システム(特許文献1を参照)やIT分野においてネットワーク設備の故障時等に大量に発生する装置アラーム(警報情報)から保守者の確認不要なアラームを除去するアラーム制御装置(特許文献2を参照)などが知られている。
【0003】
特許文献1に記載の保全点検システムは、点検作業前におけるプラント機器の健全度を考慮した点検を行えるように支援するものであり、プラント機器から収集したプラント信号の計測値が異常判定条件に合致するかを判定し、異常判定となった異常プラント信号の機器を点検要と判定した場合に当該機器を点検対象として自動で登録している。具体的には、当該システムは、プラント信号(計測値)が注意閾値を越えた回数を計測し、注意閾値を越えた回数が増加傾向である(異常)と判定した場合に、当該プラント信号の機器を点検対象機器に自動で追加している。
【0004】
特許文献2に記載のアラーム制御装置は、ネットワーク設備の障害発生時に発出される膨大な装置アラームに対して、保守者の稼働抑制と障害対応業務の迅速化を図るための技術である。当該アラーム制御装置は、ネットワーク設備の故障時等にネットワークエレメント装置(IT機器)から発出される多数の装置アラームのうち、装置アラームに対応する判断条件(例えば、同一アラームの発生回数)を用いて保守者確認の要否を判定し、保守者確認不要なアラームを除去する一方、保守者確認が必要なアラームを端末(保守者)へ通知する。
【先行技術文献】
【特許文献】
【0005】
特開2015-106391号公報
特開2020-135345号公報
【発明の概要】
【発明が解決しようとする課題】
【0006】
特許文献1に記載の技術においては、プラント機器の健全度(異常判定)に基づいて保守作業(当該機器の点検)が自動的に追加されてしまう。しかし、特許文献1は、プラント機器の健全度を示す異常判定が実際に有用であったかを評価する方策について言及していない。すなわち、異常判定のプラント機器に対して保守作業(点検)を実施しても、問題が発見されない場合が想定される。例えば、異常判定条件の設定の誤りなどによってプラント機器の健全度を見誤る懸念がある。この場合、無駄な点検(保守作業)が増えてしまい、保守作業の効率が低下する。このように、プラント機器の健全度(異常判定)に基づく保守作業の追加が効率的な保守に結び付くか不明である。
【0007】
また、ダンプトラックやショベルなどの鉱山機械を管理する鉱山管理装置に対して特許文献2に記載の技術をそのまま適用する場合を考える。特許文献2に記載の技術は、IT機器から多数発出されるアラーム(アラート)のうち、予め設定された判断条件を基に保守者確認不要なアラームを除去するものである。IT機器と比べると、使用環境が過酷かつ稼働状態も多岐に渡る鉱山機械では、各部品の状態が大きく異なっている。このため、特許文献2に記載の技術のように予め設定された判断条件を用いてアラームを除去してしまうと、保守が必要なアラームを見逃す懸念がある。
【0008】
また、鉱山機械では、故障発生時の保守作業に加えて、定期的な保守作業(予防保全作業)が実施される。一方、IT機器では、一般的に、定期点検の保守が想定されておらず、故障発生時のみに保守が実施される。このため、IT機器のアラーム(アラート)は、ネットワークの障害発生時の保守作業との関連性しか見出すことができない。したがって、ネットワーク設備(IT機器)を対象とする特許文献2に記載の技術を定期的な保守が実施される鉱山機械を対象とする管理装置に適用しても、鉱山機械の保守の改善のために活用することは難しい。
【0009】
本発明は、上記の問題点を解消するためになされたものであり、その目的は、鉱山機械の保守の適切な実施を図ることが可能な鉱山機械のアラートに関する表示情報(アラート情報)を提示することができる鉱山管理装置及び鉱山管理方法を提供することである。
【課題を解決するための手段】
【0010】
本願は、上記課題を解決する手段を複数含んでいる。本願の解決手段の一例は、鉱山機械の各アラートに関するデータであるアラートデータが集約されて格納されていると共に、前記鉱山機械に対して実施された各保守作業に関するデータである保守データが集約されて格納されている記憶装置と、前記鉱山機械の前記アラートデータ及び前記鉱山機械の前記保守データを収集して前記記憶装置に記録すると共に、前記鉱山機械の前記アラートデータ及び前記鉱山機械の前記保守データを処理して表示機能を有する端末装置へ出力する情報処理装置とを備えた鉱山管理装置において、前記情報処理装置は、前記鉱山機械の各保守作業に対して、その保守作業と前回の保守作業との間の前記鉱山機械の稼働期間中において発出された全てのアラートが関連付けられるように、前記鉱山機械の前記アラートデータと前記鉱山機械の前記保守データとを紐づけて前記記憶装置に記録する紐づけ処理を行い、前記鉱山機械のアラートと前記鉱山機械の保守作業との結び付きの度合いを示す指標である結合度を、前記紐づけ処理によって紐づけられている前記アラートデータと前記保守データとを用いて算出する結合度算出処理を行い、前記鉱山機械のアラートを前記結合度算出処理の算出結果の前記結合度に基づいて前記鉱山機械のアラートに関する表示情報であるアラート情報として表示させる表示指令を前記端末装置へ出力する表示処理を行うように構成されている。
【発明の効果】
(【0011】以降は省略されています)
この特許をJ-PlatPat(特許庁公式サイト)で参照する
関連特許
日立建機株式会社
作業機械
19日前
日立建機株式会社
ダンプトラック
19日前
個人
バケット
27日前
個人
建物の不同沈下の修正方法
1か月前
鹿島建設株式会社
接続方法
7日前
株式会社大林組
操縦装置
1か月前
千代田工営株式会社
回転貫入杭
1か月前
株式会社富田製作所
継手部構造
27日前
株式会社郷土開発
傾斜地の切土工法
6日前
ヤンマーホールディングス株式会社
作業機械
1か月前
日立建機株式会社
作業機械
19日前
ヤンマーホールディングス株式会社
作業機械
1か月前
日立建機株式会社
作業機械
1か月前
株式会社クボタ
作業機
6日前
日立建機株式会社
建設機械
20日前
FKS株式会社
擁壁及び擁壁の築造方法
29日前
株式会社次世代一次産業実践所
登山道の施工装置
1か月前
株式会社三誠
建物の免震構造
1か月前
山形新興株式会社
建築物の基礎及び基礎成形型
1か月前
日本車輌製造株式会社
杭打機の制御システム
1か月前
ナブテスコ株式会社
ドーザブレード駆動機構
19日前
個人
アンカーボルト支持装置
1か月前
日本車輌製造株式会社
杭打機の表示システム
22日前
株式会社大林組
評価支援装置及び評価支援方法
28日前
株式会社大林組
施工支援装置及び施工支援方法
29日前
日本車輌製造株式会社
建設機械の電源システム
1か月前
株式会社大林組
施工支援装置及び施工支援方法
29日前
株式会社大林組
掘削支援装置及び掘削支援方法
今日
株式会社大林組
施工支援装置及び施工支援方法
29日前
株式会社大林組
免震構造及び免震構造の施工方法
22日前
個人
保護カバー及び保護カバーの取付方法
22日前
ヤンマーホールディングス株式会社
作業機械
6日前
大成建設株式会社
推定方法
1か月前
北海道電力株式会社
滞留水への酸素供給方法
1か月前
ヤンマーホールディングス株式会社
作業機械
6日前
個人
真空バケット浚渫工法と真空バケット及び真空バケット浚渫船
1か月前
続きを見る
他の特許を見る