TOP
|
特許
|
意匠
|
商標
特許ウォッチ
Twitter
他の特許を見る
公開番号
2025176895
公報種別
公開特許公報(A)
公開日
2025-12-05
出願番号
2024083275
出願日
2024-05-22
発明の名称
地盤改良装置及び地盤改良工法
出願人
エポコラム機工株式会社
代理人
個人
主分類
E02D
3/12 20060101AFI20251128BHJP(水工;基礎;土砂の移送)
要約
【課題】地盤改良工法の施工途中において地盤改良装置に既設された撹拌装置を他の撹拌装置や掘削装置に容易に変更できるようにすること。
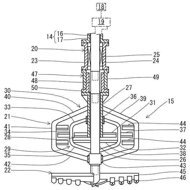
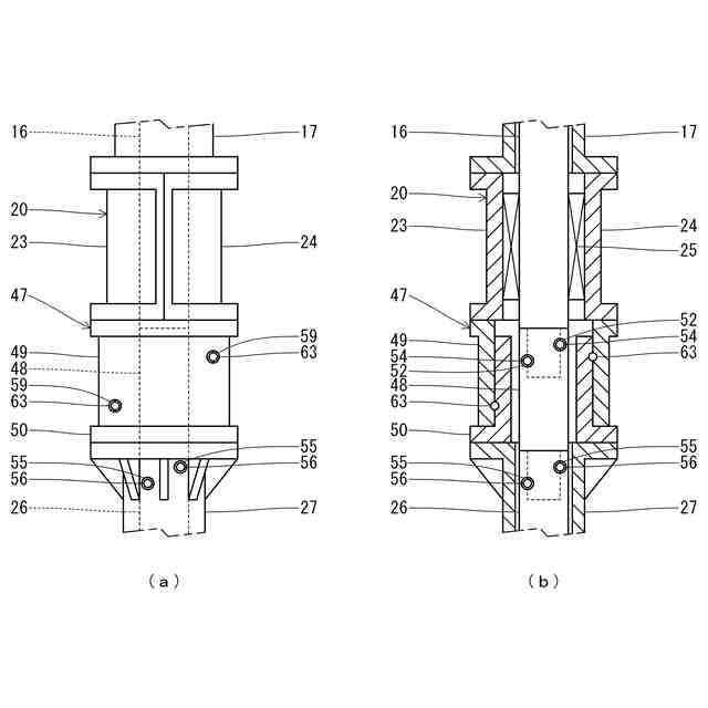
【解決手段】本発明では、内側軸(16)の外側に中空状の外側軸(17)を二重管状に設けた回転軸(14)に撹拌装置(15)を連動連結して、地盤(2)内で土砂と地盤改良材とを撹拌・混合することで地盤(2)の改良を行う地盤改良装置(1)及び地盤改良工法において、回転軸(14)と撹拌装置(15)とを連結アダプター(47)を介して連動連結して、連結アダプター(47)を介して既設されている撹拌装置(15)を他の撹拌装置(15’)又は掘削装置(70)に交換可能とすることにした。
【選択図】図2
特許請求の範囲
【請求項1】
内側軸の外側に中空状の外側軸を二重管状に設けた回転軸に撹拌装置を連動連結して、地盤内で土砂と地盤改良材とを撹拌・混合することで地盤の改良を行う地盤改良装置において、
回転軸と撹拌装置とを連結アダプターを介して連動連結して、連結アダプターを介して既設されている撹拌装置を他の撹拌装置又は掘削装置に交換可能としたことを特徴とする地盤改良装置。
続きを表示(約 990 文字)
【請求項2】
前記連結アダプターは、回転軸の内側軸と外側軸の間から土砂や地盤改良材が流入するのを阻止するためのシールロッドと撹拌装置との間に設けられていることを特徴とする請求項1に記載の地盤改良装置。
【請求項3】
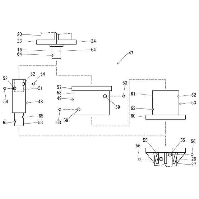
前記連結アダプターは、回転軸の内側軸と撹拌装置の内側撹拌翼とを着脱自在に連動連結させる内側軸連結体と、内側軸連結体の外側に中空状に設けられ回転軸の外側軸に連動連結される外側軸連結体と、内側軸連結体の外側に中空状に設けられ撹拌装置の外側撹拌翼に連動連結される外側撹拌翼連結体とを有し、外側軸連結体と外側撹拌翼連結体を着脱自在に連結可能としたことを特徴とする請求項1又は請求項2に記載の地盤改良装置。
【請求項4】
内側軸の外側に中空状の外側軸を二重管状に設けた回転軸に撹拌装置を連動連結して、地盤内で土砂と地盤改良材とを撹拌・混合することで地盤の改良を行う地盤改良工法において、
回転軸と撹拌装置とを連結アダプターを介して連動連結し、連結アダプターを介して既設されている撹拌装置を他の撹拌装置又は掘削装置に交換することを特徴とする地盤改良工法。
【請求項5】
前記連結アダプターは、回転軸の内側軸と撹拌装置の内側撹拌翼とを着脱自在に連動連結させる内側軸連結体と、内側軸連結体の外側に中空状に設けられ回転軸の外側軸に連動連結される外側軸連結体と、内側軸連結体の外側に中空状に設けられ撹拌装置の外側撹拌翼に連動連結される外側撹拌翼連結体とを有し、外側軸連結体と外側撹拌翼連結体を着脱自在に連結可能とし、
連結アダプターの内側軸連結体を既設の撹拌装置の内側撹拌翼から離脱させるとともに、連結アダプターの外側軸連結体を既設の撹拌装置に連動連結された外側撹拌翼連結体から離脱させることで、回転軸から既設の撹拌装置を取外し、
その後、連結アダプターの内側軸連結体を他の撹拌装置又は掘削装置に連動連結させるとともに、連結アダプターの外側軸連結体を他の撹拌装置又は掘削装置に連動連結された外側撹拌翼連結体に連結させることで、回転軸に他の撹拌装置又は掘削装置を取付けて、
連結アダプターを介して既設されている撹拌装置を他の撹拌装置又は掘削装置に交換することを特徴とする請求項4に記載の地盤改良工法。
発明の詳細な説明
【技術分野】
【0001】
本発明は、内側軸の外側に中空状の外側軸を二重管状に設けた回転軸に撹拌装置を連動連結して、地盤内で土砂と地盤改良材とを撹拌・混合することで地盤の改良を行う地盤改良装置及び地盤改良工法に関するものである。
続きを表示(約 1,300 文字)
【背景技術】
【0002】
従来、軟弱地盤の強化や汚染地盤の浄化などを目的として地盤の改良が行われている。
【0003】
この地盤改良において用いられる地盤改良装置としては、内側軸の外側に中空状の外側軸を二重管状に設けた回転軸に、内側軸に連動連結される掘削体と内側撹拌翼と外側軸に連動連結される外側撹拌翼とが設けられた撹拌装置を接続した構成のものが用いられている。
【0004】
そして、地盤改良装置を用いた地盤改良工法では、掘削装置を用いて地盤を掘削するとともに掘削した地盤に地盤改良材(固化剤や浄化剤など)を吐出し、地盤内で地盤改良材と土砂とを撹拌装置で撹拌・混合することによって、地盤内に改良体を造成している(たとえば、特許文献1参照。)。
【先行技術文献】
【特許文献】
【0005】
特開2021-161843号公報
【発明の概要】
【発明が解決しようとする課題】
【0006】
上記地盤改良工法を建築物等の構造物基礎の形成に用いる場合等においては、構造物の各柱にかかる軸力に応じて基礎形状が決定され、この基礎形状に応じて改良体を地盤内に造成することになる。この改良体として複数種類の直径のものを用いた場合には、各基礎形状に応じた無駄の少ない改良体の配置が可能となるが、改良体として1種類の直径のものを用いた場合には、施工に要するコストが増大してしまう。
【0007】
そのため、従来の地盤改良工法では、内側軸及び外側軸からなる二重管式の回転軸に装着した所定の直径を有する撹拌装置を用いて地盤改良を行い、その後、回転軸に既設した撹拌装置を直径が異なる他の撹拌装置に交換し、交換した撹拌装置を用いて地盤改良を行うようにしており、これにより、撹拌装置の外側撹拌翼の外径を変更して、地盤内での改良範囲(地盤改良材と土砂とを撹拌・混合する範囲)を変更するようにしている。
【0008】
特に、単管式の回転軸を有する地盤改良装置では単管の回転軸と撹拌装置との交換時に連結ピンの脱着で行うことができるが、上記の二重管式の回転軸を有する地盤改良装置では内側軸と外側軸の両方を同時に着脱しなければならず、撹拌装置の交換作業が煩雑であり多大な時間や労力を要していた。
【0009】
そこで、本発明では、二重管式の回転軸を有する地盤改良装置を用いた地盤改良工法の施工途中において地盤改良装置に既設された撹拌装置を他の撹拌装置や掘削装置に容易に変更することができるようにした。
【課題を解決するための手段】
【0010】
請求項1に係る本発明では、内側軸の外側に中空状の外側軸を二重管状に設けた回転軸に撹拌装置を連動連結して、地盤内で土砂と地盤改良材とを撹拌・混合することで地盤の改良を行う地盤改良装置において、回転軸と撹拌装置とを連結アダプターを介して連動連結して、連結アダプターを介して既設されている撹拌装置を他の撹拌装置又は掘削装置に交換可能とすることにした。
(【0011】以降は省略されています)
この特許をJ-PlatPat(特許庁公式サイト)で参照する
関連特許
エポコラム機工株式会社
地盤改良装置及び地盤改良工法
今日
個人
バケット
1か月前
個人
建物の不同沈下の修正方法
1か月前
鹿島建設株式会社
接続方法
16日前
株式会社富田製作所
継手部構造
1か月前
株式会社大林組
操縦装置
1か月前
千代田工営株式会社
回転貫入杭
1か月前
株式会社郷土開発
傾斜地の切土工法
15日前
ウエダ産業株式会社
アタッチメント
7日前
日立建機株式会社
作業機械
28日前
日立建機株式会社
建設機械
2日前
ヤンマーホールディングス株式会社
作業機械
1か月前
ヤンマーホールディングス株式会社
作業機械
1か月前
日立建機株式会社
建設機械
29日前
日立建機株式会社
作業機械
1か月前
エポコラム機工株式会社
地盤改良装置
今日
株式会社クボタ
作業機
15日前
日本車輌製造株式会社
建設機械
今日
FKS株式会社
擁壁及び擁壁の築造方法
1か月前
株式会社三誠
建物の免震構造
1か月前
株式会社次世代一次産業実践所
登山道の施工装置
1か月前
山形新興株式会社
建築物の基礎及び基礎成形型
1か月前
日本車輌製造株式会社
杭打機の制御システム
1か月前
個人
アンカーボルト支持装置
1か月前
日本車輌製造株式会社
杭打機の表示システム
1か月前
ナブテスコ株式会社
ドーザブレード駆動機構
28日前
株式会社大林組
掘削支援装置及び掘削支援方法
9日前
株式会社大林組
施工支援装置及び施工支援方法
1か月前
株式会社大林組
施工支援装置及び施工支援方法
1か月前
株式会社大林組
施工支援装置及び施工支援方法
1か月前
日本車輌製造株式会社
建設機械の電源システム
1か月前
株式会社大林組
評価支援装置及び評価支援方法
1か月前
株式会社大林組
免震構造及び免震構造の施工方法
1か月前
個人
保護カバー及び保護カバーの取付方法
1か月前
エポコラム機工株式会社
地盤改良装置及び地盤改良工法
今日
エポコラム機工株式会社
地盤改良装置及び地盤改良工法
今日
続きを見る
他の特許を見る