TOP
|
特許
|
意匠
|
商標
特許ウォッチ
Twitter
他の特許を見る
10個以上の画像は省略されています。
公開番号
2025175830
公報種別
公開特許公報(A)
公開日
2025-12-03
出願番号
2024082113
出願日
2024-05-20
発明の名称
建設機械
出願人
コベルコ建機株式会社
代理人
弁理士法人三協国際特許事務所
主分類
E02F
3/84 20060101AFI20251126BHJP(水工;基礎;土砂の移送)
要約
【課題】燃料電池装置から生成される水が滞留することなく貯留することのできる建設機械を提供する。
【解決手段】上部旋回体2に搭載された燃料電池装置42の装置排水口43から排出された排水は、上部旋回体2の下方に位置する下部走行体1に配置された下部側タンク80で受けられるため、排水が上部旋回体2側で滞留することが抑制される。また、上部旋回体2の下部走行体1に対する相対角度θが所定範囲(-α~+α)にあるとき、切替弁36が許容状態に切り替えられることで、排水管30の排出口32から落下する排水を下部側タンク80によって受けることができる。
【選択図】図6
特許請求の範囲
【請求項1】
下部走行体と、
前記下部走行体に対して旋回可能に支持された上部旋回体と、
前記上部旋回体に搭載された燃料電池装置と、
前記燃料電池装置に形成される装置排水口に接続される排水管と、
前記下部走行体に配置され、前記排水管の出口から排出される水を受ける貯留部と、
前記排水管からの排水を許容する許容状態と、前記排水管からの排水を阻止する阻止状態と、を切り替える切替弁と、
前記切替弁を制御するコントローラと、を備え、
前記コントローラは、前記上部旋回体の前記下部走行体に対する相対角度が所定範囲にあるとき、前記切替弁を前記許容状態に切り替え、
前記所定範囲は、前記排水管の出口から排出された水を前記貯留部で受けることができる角度範囲である、建設機械。
続きを表示(約 630 文字)
【請求項2】
前記上部旋回体の旋回角速度を検出するセンサを備え、
前記コントローラは、前記相対角度が前記所定範囲内であって、かつ、前記旋回角速度が所定の速度閾値以下である場合、前記許容状態に切り替える、請求項1に記載の建設機械。
【請求項3】
前記排水管は、その経路上に、前記排水管を流れる水を一時的に貯留可能な第2の貯留部を備えている、請求項1または2に記載の建設機械。
【請求項4】
前記第2の貯留部に貯留される水の貯留量を検出するセンサを備え、
前記コントローラは、前記貯留量が所定の貯留量閾値以上になった場合、前記上部旋回体を前記相対角度が前記所定範囲となるまで旋回させる、または、前記相対角度が前記所定範囲となるまで前記上部旋回体を旋回させるよう操縦者に報知する、請求項3に記載の建設機械。
【請求項5】
前記貯留部には、前記貯留部内に貯留された水を前記貯留部外に排出するための開閉可能な排水栓が取り付けられている、請求項1または2に記載の建設機械。
【請求項6】
前記貯留部は、前記下部走行体に対して着脱可能とされている、請求項1または2に記載の建設機械。
【請求項7】
前記貯留部は、上部に開口を有し、
前記開口は、前記相対角度が前記所定範囲にあるとき、前記排水管の出口に対して鉛直下方に位置する、請求項1または2に記載の建設機械。
発明の詳細な説明
【技術分野】
【0001】
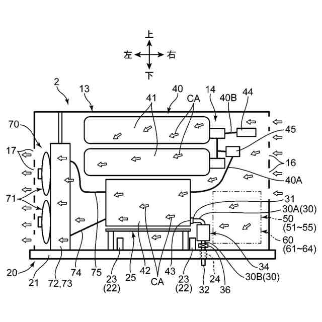
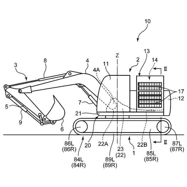
本開示は、燃料電池装置を動力源として駆動する建設機械に関する。
続きを表示(約 2,000 文字)
【背景技術】
【0002】
燃料電池装置を動力源として駆動する機械が提案されている。特許文献1、2に記載の機械がその一例である。特許文献1、2に記載の機械は、燃料電池装置の発電に伴って生成された水を貯留する貯留部(タンク)を備えている。
【先行技術文献】
【特許文献】
【0003】
特開2014-154283号公報
特開2007-242434号公報
【発明の概要】
【発明が解決しようとする課題】
【0004】
ところで、燃料電池装置で生成される水を駐留する貯留部が燃料電池装置の近くに配置されると、燃料電池装置と貯留部とを繋ぐ配管内で水が滞留した場合、燃料電池装置で生成された水の排水の妨げとなり、燃料電池装置の運転効率の低下を招いてしまう。特に、低温時には、滞留した水が配管内で凍結する虞もあり、燃料電池装置の運転効率のさらなる低下を招く虞がある。
【0005】
本開示は、上記課題を解消するために為されたものであり、その目的は、燃料電池装置で生成される水が滞留することなく貯留部に貯留することのできる建設機械を提供することにある。
【課題を解決するための手段】
【0006】
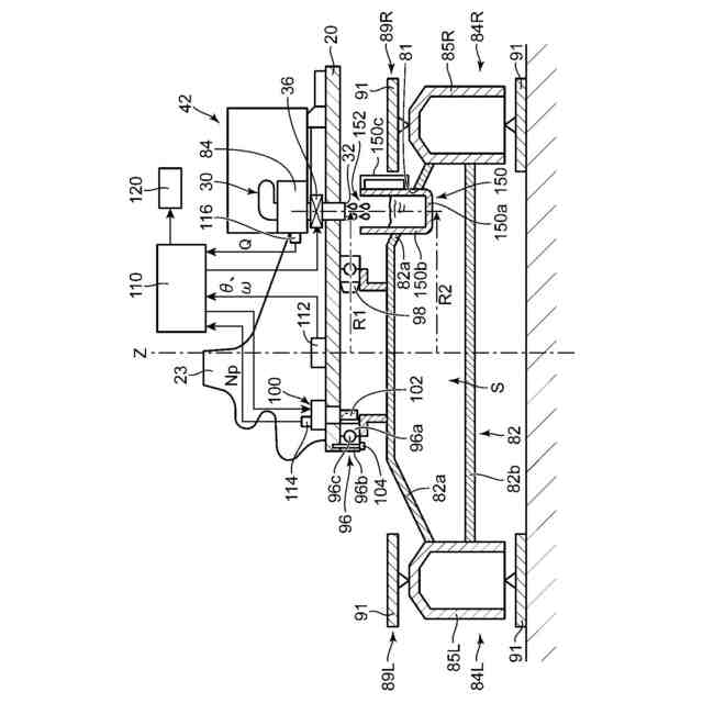
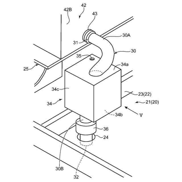
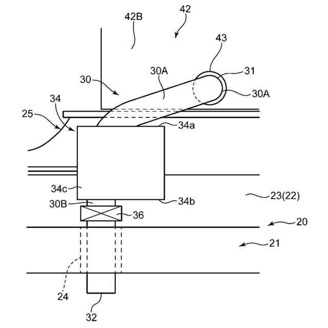
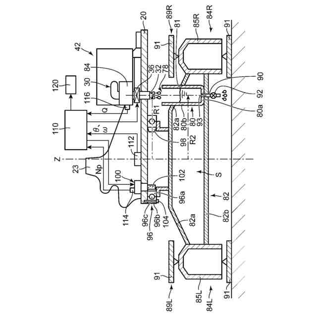
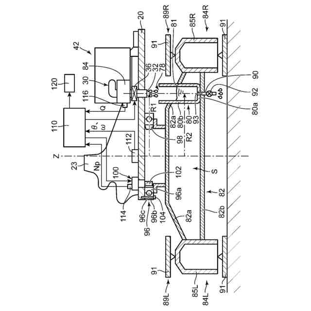
第1の態様に係る建設機械は、下部走行体と、前記下部走行体に対して旋回可能に支持された上部旋回体と、前記上部旋回体に搭載された燃料電池装置と、前記燃料電池装置に形成される装置排水口に接続される排水管と、前記下部走行体に配置され、前記排水管の出口から排出される水を受ける貯留部と、前記排水管からの排水を許容する許容状態と前記排水管からの排水を阻止する阻止状態とを切り替える切替弁と、前記切替弁を制御するコントローラと、を備え、前記コントローラは、前記上部旋回体の前記下部走行体に対する相対角度が所定範囲にあるとき、前記切替弁を前記許容状態に切り替え、記所定範囲は、前記排水管の出口から排出された水を前記貯留部で受けることができる角度範囲である。
【0007】
第1の態様に係る建設機械では、燃料電池装置で生成された水を、燃料電池装置から離れた位置にある下部走行体に配置された貯留部に貯留することができる。具体的には、上部旋回体に搭載された燃料電池装置の排水口から排出された水は、上部旋回体の下方に位置する下部走行体に配置された貯留部で受けられるため、水が上部旋回体で滞留することが抑制される。また、上部旋回体の下部走行体に対する相対角度が所定範囲にあるとき、切替弁が許容状態に切り替えられることで、排水管の出口から排出された水を貯留部によって受けることができる。これにより、貯留部を小型化することが可能になる。
【0008】
第2の態様に係る建設機械は、第1の態様に係る建設機械においてさらに次の特徴を備えることが好ましい。すなわち、第2の態様に係る建設機械は、前記上部旋回体の旋回角速度を検出するセンサを備え、前記コントローラは、前記相対角度が前記所定範囲内であって、かつ、前記旋回角速度が所定の速度閾値以下である場合、前記許容状態に切り替える。旋回角速度が速いと、相対角度が所定範囲内にあっても排水管の出口から排出される水が遠心力によって外部に飛び散り、貯留部で受けることが困難になる。これに対して、第2の態様によれば、旋回角速度が所定の速度閾値以下である状態に限って許容状態に切り替えることで、水が外部に飛び散ることなく貯留部で受けることができる。
【0009】
第3の態様に係る建設機械は、第1または第2の態様に係る建設機械においてさらに次の特徴を備えることが好ましい。すなわち、第3の態様に係る建設機械では、前記排水管は、その経路上に、前記排水管を流れる水を一時的に貯留可能な第2の貯留部を備えている。第3の態様によれば、排水管を流れる水を第2の貯留部で一時的に貯留することで、切替弁が阻止状態に切り替えられても、排水管を流れる水が燃料電池装置に向かって流れることを防止できる。
【0010】
第4の態様に係る建設機械は、第3の態様に係る建設機械においてさらに次の特徴を備えることが好ましい。すなわち、第4の態様に係る建設機械は、前記第2の貯留部に貯留される水の貯留量を検出するセンサを備え、前記コントローラは、前記貯留量が所定の貯留量閾値以上になった場合、前記上部旋回体を前記相対角度が前記所定範囲となるまで旋回させる、または、前記相対角度が前記所定範囲となるまで前記上部旋回体を旋回させるよう操縦者に報知する。第4の態様によれば、第2の貯留部に貯留される水の貯留量が許容量を超える虞がある場合には、予め上部旋回体を旋回させて第2の貯留部に貯留される水を排出することができる。
(【0011】以降は省略されています)
この特許をJ-PlatPat(特許庁公式サイト)で参照する
関連特許
個人
バケット
1か月前
個人
建物の不同沈下の修正方法
1か月前
鹿島建設株式会社
接続方法
16日前
株式会社富田製作所
継手部構造
1か月前
株式会社大林組
操縦装置
1か月前
千代田工営株式会社
回転貫入杭
1か月前
株式会社郷土開発
傾斜地の切土工法
15日前
ウエダ産業株式会社
アタッチメント
7日前
日立建機株式会社
作業機械
28日前
日立建機株式会社
建設機械
2日前
ヤンマーホールディングス株式会社
作業機械
1か月前
ヤンマーホールディングス株式会社
作業機械
1か月前
日立建機株式会社
建設機械
29日前
日立建機株式会社
作業機械
1か月前
エポコラム機工株式会社
地盤改良装置
今日
株式会社クボタ
作業機
15日前
日本車輌製造株式会社
建設機械
今日
FKS株式会社
擁壁及び擁壁の築造方法
1か月前
株式会社三誠
建物の免震構造
1か月前
株式会社次世代一次産業実践所
登山道の施工装置
1か月前
山形新興株式会社
建築物の基礎及び基礎成形型
1か月前
日本車輌製造株式会社
杭打機の制御システム
1か月前
個人
アンカーボルト支持装置
1か月前
日本車輌製造株式会社
杭打機の表示システム
1か月前
ナブテスコ株式会社
ドーザブレード駆動機構
28日前
株式会社大林組
掘削支援装置及び掘削支援方法
9日前
株式会社大林組
施工支援装置及び施工支援方法
1か月前
株式会社大林組
施工支援装置及び施工支援方法
1か月前
株式会社大林組
施工支援装置及び施工支援方法
1か月前
日本車輌製造株式会社
建設機械の電源システム
1か月前
株式会社大林組
評価支援装置及び評価支援方法
1か月前
株式会社大林組
免震構造及び免震構造の施工方法
1か月前
個人
保護カバー及び保護カバーの取付方法
1か月前
エポコラム機工株式会社
地盤改良装置及び地盤改良工法
今日
エポコラム機工株式会社
地盤改良装置及び地盤改良工法
今日
大成建設株式会社
推定方法
1か月前
続きを見る
他の特許を見る