TOP
|
特許
|
意匠
|
商標
特許ウォッチ
Twitter
他の特許を見る
10個以上の画像は省略されています。
公開番号
2025174387
公報種別
公開特許公報(A)
公開日
2025-11-28
出願番号
2024080745
出願日
2024-05-17
発明の名称
基礎構造および構築方法
出願人
鹿島建設株式会社
代理人
個人
,
個人
,
個人
,
個人
主分類
E02D
5/34 20060101AFI20251120BHJP(水工;基礎;土砂の移送)
要約
【課題】鉄筋コンクリートの使用量を低減させることができる基礎構造および構築方法を提供する。
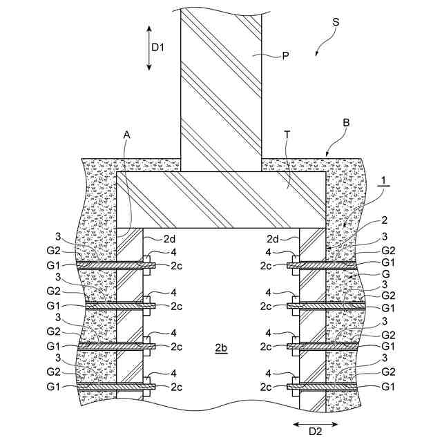
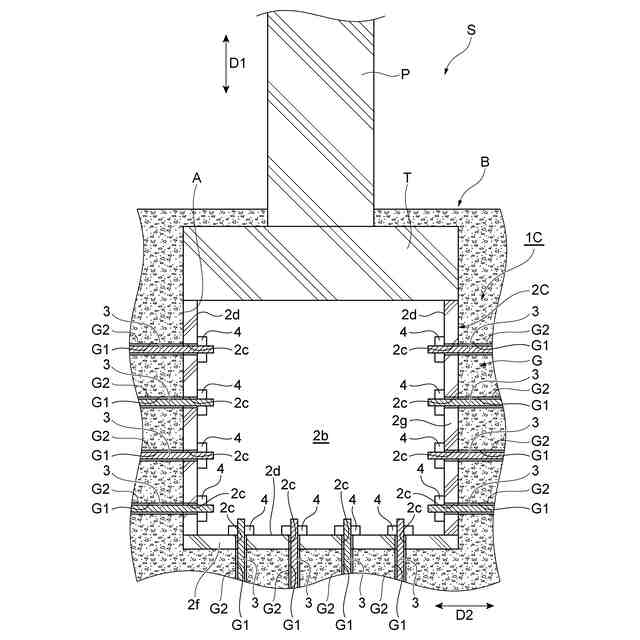
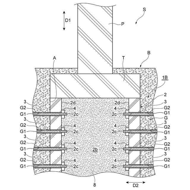
【解決手段】一実施形態に係る基礎構造は、コンクリート躯体Sの基礎Bを構成する基礎構造1である。基礎構造1は、地盤Gに構築された鉄筋コンクリート2と、鉄筋コンクリート2を貫通するとともに鉄筋コンクリート2から地盤Gに延び出しており、鉄筋コンクリート2と一体化する複数の棒状部材3と、鉄筋コンクリート2の地盤Gとは反対側を向く面2dにおいて複数の棒状部材3のそれぞれを鉄筋コンクリート2に定着させる複数の定着体4と、を備える。複数の定着体4に定着された棒状部材3を介して鉄筋コンクリート2と地盤Gが接する面に圧縮力を付与することによって鉄筋コンクリート2と地盤Gが接する面に周面摩擦力が付与されている。
【選択図】図1
特許請求の範囲
【請求項1】
コンクリート躯体の基礎を構成する基礎構造であって、
地盤に構築された鉄筋コンクリートと、
前記鉄筋コンクリートを貫通するとともに前記鉄筋コンクリートから前記地盤に延び出しており、前記鉄筋コンクリートと一体化する複数の棒状部材と、
前記鉄筋コンクリートの前記地盤とは反対側を向く面において複数の前記棒状部材のそれぞれを前記鉄筋コンクリートに定着させる複数の定着体と、
を備え、
複数の前記定着体に定着された前記棒状部材を介して前記鉄筋コンクリートと前記地盤が接する面に圧縮力を付与することによって前記鉄筋コンクリートと前記地盤が接する面に周面摩擦力が付与されている、
基礎構造。
続きを表示(約 900 文字)
【請求項2】
複数の前記棒状部材は、ロックボルトおよびグラウンドアンカーの少なくともいずれかである、
請求項1に記載の基礎構造。
【請求項3】
前記鉄筋コンクリートは、複数の前記定着体が配置される内部空間が形成された筒状を呈する、
請求項1または請求項2に記載の基礎構造。
【請求項4】
前記鉄筋コンクリートは、前記内部空間を鉛直下方から覆う底版部を備える、
請求項3に記載の基礎構造。
【請求項5】
コンクリート躯体の基礎を構築する構築方法であって、
地盤に鉄筋コンクリートを構築する工程と、
前記鉄筋コンクリートに複数の棒状部材を貫通させるとともに、前記鉄筋コンクリートから前記地盤に延び出すように複数の前記棒状部材を配置する工程と、
前記鉄筋コンクリートの前記地盤とは反対側を向く面において定着体が前記鉄筋コンクリートに複数の前記棒状部材のそれぞれを定着させることにより、前記鉄筋コンクリートに複数の前記棒状部材を一体化させるとともに、前記鉄筋コンクリートと前記地盤が接する面に圧縮力を付与して前記鉄筋コンクリートと前記地盤が接する面に周面摩擦力を付与する工程と、
を備える構築方法。
【請求項6】
前記鉄筋コンクリートを構築する工程の前に、複数の鉄筋コンクリートブロックを作製する工程を備え、
前記鉄筋コンクリートを構築する工程は、
複数の前記鉄筋コンクリートブロックを並べる工程と、
複数の前記鉄筋コンクリートブロックの間に間詰材を充填する工程と、
を含む、
請求項5に記載の構築方法。
【請求項7】
前記鉄筋コンクリートは、複数の前記定着体が配置される内部空間が形成される筒状を呈し、
前記鉄筋コンクリートブロックを並べる工程では、複数の前記鉄筋コンクリートブロックが前記鉄筋コンクリートの周方向に沿って並ぶように複数の前記鉄筋コンクリートブロックを配置する、
請求項6に記載の構築方法。
発明の詳細な説明
【技術分野】
【0001】
本開示は、コンクリート躯体の基礎を構成する基礎構造、および基礎の構築方法に関する。
続きを表示(約 2,000 文字)
【背景技術】
【0002】
特許文献1には、深礎杭およびその施工方法が記載されている。この施工方法では、地盤内を人手で掘削しつつ掘削面に吹付けコンクリートを設けて、ロックボルトを順次設ける。ロックボルトの先端部は定着部とする。そして、掘削された部分に異形鉄筋、および先端がフック状の鉄筋を配置し、機械継手によって異形鉄筋をロックボルトに接合する。その後、掘削された部分にコンクリートを打設して深礎杭を構築し、深礎杭の上部に橋脚を構築する。
【先行技術文献】
【特許文献】
【0003】
特許第3403065号公報
【発明の概要】
【発明が解決しようとする課題】
【0004】
ところで、特に近年温室効果ガスの排出量を低減させることが求められており、建設産業でも二酸化炭素の排出量の低減が求められている。建設産業では、基礎の構築時、および基礎の補修または補強時に用いられる材料の製造に起因して、多くの二酸化炭素が排出されているという現状がある。よって、二酸化炭素の排出量を減らすためには、基礎構造に用いられる材料の使用量を低減させることが有効である。
【0005】
しかしながら、前述した深礎杭のような基礎構造では、地震などの外力に対する基礎構造の抵抗性を高めるために大量の鉄筋コンクリートが用いられる場合がある。例えば、鉄筋コンクリートの製造時には二酸化炭素が排出され、特にセメントの製造時には高熱を要するため大量の二酸化炭素が排出される。したがって、鉄筋コンクリートの使用量を低減させることが求められる。
【0006】
本開示は、鉄筋コンクリートの使用量を低減させることができる基礎構造および構築方法を提供することを目的とする。
【課題を解決するための手段】
【0007】
(1)本開示に係る基礎構造は、コンクリート躯体の基礎を構成する基礎構造である。基礎構造は、地盤に構築された鉄筋コンクリートと、鉄筋コンクリートを貫通するとともに鉄筋コンクリートから地盤に延び出しており、鉄筋コンクリートと一体化する複数の棒状部材と、鉄筋コンクリートの地盤とは反対側を向く面において複数の棒状部材のそれぞれを鉄筋コンクリートに定着させる複数の定着体と、を備える。複数の定着体に定着された棒状部材を介して鉄筋コンクリートと地盤が接する面に圧縮力を付与することによって鉄筋コンクリートと地盤が接する面に周面摩擦力が付与されている。
【0008】
この基礎構造では、鉄筋コンクリートと、複数の棒状部材と、複数の定着体とを備える。鉄筋コンクリートは地盤に構築されており、複数の棒状部材は鉄筋コンクリートを貫通するとともに鉄筋コンクリートから地盤に延び出している。複数の定着体のそれぞれは複数の棒状部材のそれぞれを鉄筋コンクリートに定着させ、複数の棒状部材は鉄筋コンクリートと一体化する。複数の定着体に定着された棒状部材を介して、鉄筋コンクリートと地盤が接する面に圧縮力を付与することによって、地盤と鉄筋コンクリートが接する面に周面摩擦力が付与されている。よって、鉄筋コンクリートを小さくして地震などの外力に対する基礎構造の抵抗性を高めることができるので、鉄筋コンクリートの使用量を低減させることができる。地盤と鉄筋コンクリートが接する面において周面摩擦力が付与されていることにより、地震などの外力に対して基礎構造が効果的に抵抗できるようになるため、例えば鉄筋コンクリートの断面を縮減することが可能となり、鉄筋およびコンクリートの使用量を減らすことができる。したがって、二酸化炭素の排出量を低減させることができる。
【0009】
(2)上記(1)において、複数の棒状部材は、ロックボルトおよびグラウンドアンカーの少なくともいずれかであってもよい。この場合、棒状部材としてロックボルトを用いることができる。また、棒状部材がグラウンドアンカーである場合、グラウンドアンカーに緊張力を導入することにより,地盤と鉄筋コンクリートが接する面に大きな圧縮力を作用させることができる。よって、地盤と鉄筋コンクリートが接する面における摩擦力は、当該面に作用する圧縮力に比例することから、地盤に対する鉄筋コンクリートの周面摩擦力をさらに高めることができ、鉄筋コンクリートの使用量をさらに低減させることができる。
【0010】
(3)上記(1)または(2)において、鉄筋コンクリートは、複数の定着体が配置される内部空間が形成された筒状を呈してもよい。この場合、鉄筋コンクリートを中空とすることができるので、鉄筋コンクリートが中実である場合と比較して鉄筋コンクリートの使用量を低減させることができる。
(【0011】以降は省略されています)
この特許をJ-PlatPat(特許庁公式サイト)で参照する
関連特許
鹿島建設株式会社
構築方法
23日前
鹿島建設株式会社
解体方法
1か月前
鹿島建設株式会社
接続方法
9日前
鹿島建設株式会社
接合構造
1か月前
鹿島建設株式会社
制震架構
1か月前
鹿島建設株式会社
過重力施設
1か月前
鹿島建設株式会社
塔状構造物
8日前
鹿島建設株式会社
空調システム
1か月前
鹿島建設株式会社
床版架設方法
1か月前
鹿島建設株式会社
柱建て込み方法
2か月前
鹿島建設株式会社
シールド掘進機
1か月前
鹿島建設株式会社
壁高欄の施工方法
1日前
鹿島建設株式会社
基礎構造および構築方法
今日
鹿島建設株式会社
接続方法および接続構造
1か月前
鹿島建設株式会社
橋、および橋の製造方法
1か月前
鹿島建設株式会社
運搬台車および運搬方法
2か月前
鹿島建設株式会社
ワイヤレス給電システム
2か月前
鹿島建設株式会社
接続方法および接続構造
2か月前
鹿島建設株式会社
作業サイクル分析システム
1か月前
鹿島建設株式会社
壁体の構築方法およびタンク
1か月前
鹿島建設株式会社
コンクリート構造物構築方法
22日前
鹿島建設株式会社
コンクリートの充填監視方法
今日
鹿島建設株式会社
鋼管柱の接合方法、及び鋼管柱
1か月前
鹿島建設株式会社
品質評価装置および品質評価方法
1か月前
鹿島建設株式会社
水処理システムおよび水処理方法
2か月前
鹿島建設株式会社
水硬性硬化体の炭酸化養生システム
1か月前
鹿島建設株式会社
盛土評価システムおよび盛土評価方法
1か月前
鹿島建設株式会社
生態系環境改善部材及び生態系環境改善構造
21日前
鹿島建設株式会社
作業計画支援方法及び作業計画支援プログラム
今日
鹿島建設株式会社
二酸化炭素の回収方法、二酸化炭素回収システム
22日前
鹿島道路株式会社
コンクリート舗装の養生方法
1か月前
鹿島道路株式会社
コンクリート舗装の養生方法
1か月前
鹿島道路株式会社
アスファルト混合物の製造方法
1か月前
鹿島建設株式会社
環境音モニタ装置、環境音モニタ方法及びプログラム
1か月前
ゼネラルヒートポンプ工業株式会社
ヒートポンプシステム
1か月前
ケイミューシポレックス株式会社
軽量気泡コンクリートの製造方法
1か月前
続きを見る
他の特許を見る