TOP
|
特許
|
意匠
|
商標
特許ウォッチ
Twitter
他の特許を見る
10個以上の画像は省略されています。
公開番号
2025148688
公報種別
公開特許公報(A)
公開日
2025-10-08
出願番号
2024048939
出願日
2024-03-26
発明の名称
コンクリート舗装の養生方法
出願人
鹿島道路株式会社
,
鹿島建設株式会社
代理人
弁理士法人高橋特許事務所
主分類
C04B
40/02 20060101AFI20251001BHJP(セメント;コンクリート;人造石;セラミックス;耐火物)
要約
【課題】コンクリート舗装の施工現場で炭酸化(中性化)を進行することが出来るコンクリート舗装の養生方法の提供。
【解決手段】本発明のコンクリート舗装の養生方法は、コンクリート舗装(1)の内部(2A~2C)及び/又は表面(上面1A及び/又は側面1B)から炭酸化養生を行う工程を有し、前記炭酸化養生を行う工程では、コンクリート舗装(1)の施工現場における二酸化炭素濃度を計測する工程と、前記施工現場に二酸化炭素ガスを供給する二酸化炭素ガス供給工程と、前記二酸化炭素濃度を計測する工程で計測された二酸化炭素濃度により、前記二酸化炭素ガス供給工程で供給される二酸化炭素ガスにおける二酸化炭素濃度を制御する(例えば0.5%~80%の適正範囲に維持する)工程を有することを特徴としている。
【選択図】図1
特許請求の範囲
【請求項1】
コンクリート舗装の内部及び/又は表面から炭酸化養生を行う工程を有し、
前記炭酸化養生を行う工程では、
コンクリート舗装の施工現場における二酸化炭素濃度を計測する工程と、
前記施工現場に二酸化炭素ガスを供給する二酸化炭素ガス供給工程と、
前記二酸化炭素濃度を計測する工程で計測された二酸化炭素濃度により、前記二酸化炭素ガス供給工程で供給される二酸化炭素ガスにおける二酸化炭素濃度を制御する工程を有することを特徴とするコンクリート舗装の養生方法。
続きを表示(約 720 文字)
【請求項2】
コンクリート舗装内には管壁に複数の貫通口が形成された有孔配管が埋設されており、
二酸化炭素ガス供給工程では、前記有孔配管及び前記有孔配管に接続された二酸化炭素供給配管を介して二酸化炭素ガスがコンクリート舗装内部に供給され、以て、コンクリート舗装を内部から炭酸化養生する請求項1のコンクリート舗装の養生方法。
【請求項3】
コンクリート舗装の施工現場は被覆材により包囲された空間であり、
二酸化炭素供給配管を介して二酸化炭素ガスが前記被覆材により包囲された空間内部に供給され、以て、コンクリート舗装の上面及び/又は側面から炭酸化養生を行う請求項1のコンクリート舗装の養生方法。
【請求項4】
コンクリート舗装の施工現場の雰囲気における温度及び/又は湿度を計測する工程と、
計測された温度/及び湿度に基づいて前記施工現場に供給される二酸化炭素供給装置によって所定のCO
2
濃度となった気体における温度及び/又は湿度を制御する工程を含む請求項1~3の何れか1項のコンクリート舗装の養生方法。
【請求項5】
コンクリート舗装の施工現場における二酸化炭素濃度を計測する二酸化炭素濃度計測装置と、
コンクリート舗装の施工現場に二酸化炭素ガスを供給する二酸化炭素供給系統と、
前記二酸化炭素濃度計測装置で計測された二酸化炭素濃度により、前記二酸化炭素ガス供給系統を介して供給される二酸化炭素ガスにおける二酸化炭素濃度を制御する機能を有する制御装置を含むことを特徴とするコンクリート舗装の炭酸化養生を実行するシステム。
発明の詳細な説明
【技術分野】
【0001】
本発明は、道路や空港などの舗装の分野で用いられるコンクリート舗装について、施工現場で炭酸化(中性化)を進行する炭酸化養生の技術に関する。
続きを表示(約 2,800 文字)
【背景技術】
【0002】
結合材で粒子状材料を結合し一体化したコンクリートでは、セメントコンクリートはセメントペーストを結合材としており、セメントの水和反応により硬化体を構築する性質を有している。
ここで、コンクリート中の水酸化カルシウム(Ca(OH)
2
)やケイ酸カルシウム水和物(C-S-H)と空気中の二酸化炭素(CO
2
)が反応し炭酸カルシウム(CaCO
3
)が生成されることにより、コンクリートのアルカリ性が低下する炭酸化(或いは中性化)と呼ばれる現象が存在する。
炭酸化が鉄筋コンクリートにおける鉄筋埋設箇所近傍まで進行すると、錆による鉄筋の膨張に起因してひび割れが生じ、コンクリートが破損に至る原因となってしまう。その一方で、炭酸化することによりコンクリートが二酸化炭素を吸収して固定化するというメリットが存在する。二酸化炭素排出量低減が必要な近年においては、コンクリート中に二酸化炭素を吸収して固定化する意義は大変に大きい。
また、炭酸化することでコンクリートが緻密化して、コンクリート内部への水の浸透を抑制し、コンクリートの高耐久化が実現できる。
【0003】
炭酸化による上述したメリットを積極的に活用して、十分なCO
2
排出量削減効果を得ることができるコンクリートの製造方法が従来技術で適用されている(例えば、特許文献1参照)。
係る従来技術は有用であるが、道路や空港などのコンクリート舗装について適用することは意図されていない。
そして、道路や空港などの舗装で用いられるコンクリート舗装を施工現場において積極的に炭酸化(中性化)を進行して、二酸化炭素吸収量を増加する技術については、従来、提案されていなかった。
【先行技術文献】
【特許文献】
【0004】
特開2014-51422号公報
【発明の概要】
【発明が解決しようとする課題】
【0005】
本発明は上述した従来技術の問題点に鑑みて提案されたものであり、道路や空港などの舗装で用いられるコンクリート舗装について、施工現場において積極的に炭酸化(中性化)を進行するコンクリート舗装の養生方法の提供を目的としている。
【課題を解決するための手段】
【0006】
本発明のコンクリート舗装の養生方法は、
コンクリート舗装(1)の内部(2A~2C)及び/又は表面(上面1A及び/又は側面1B)から炭酸化養生を行う工程を有し、
前記炭酸化養生を行う工程では、
コンクリート舗装(1)の施工現場における二酸化炭素濃度を計測する工程と、
前記施工現場に二酸化炭素ガスを供給する二酸化炭素ガス供給工程と、
前記二酸化炭素濃度を計測する工程で計測された二酸化炭素濃度により、前記二酸化炭素ガス供給工程で供給される二酸化炭素ガスにおける二酸化炭素濃度を制御する(例えば0.5%~80%の適正範囲に維持する)工程を有することを特徴としている。
ここで、前記制御工程は、情報処理機器(各種コンピュータを含む)により実行することが可能であるが、作業員により実行することも可能である。
【0007】
本発明において、
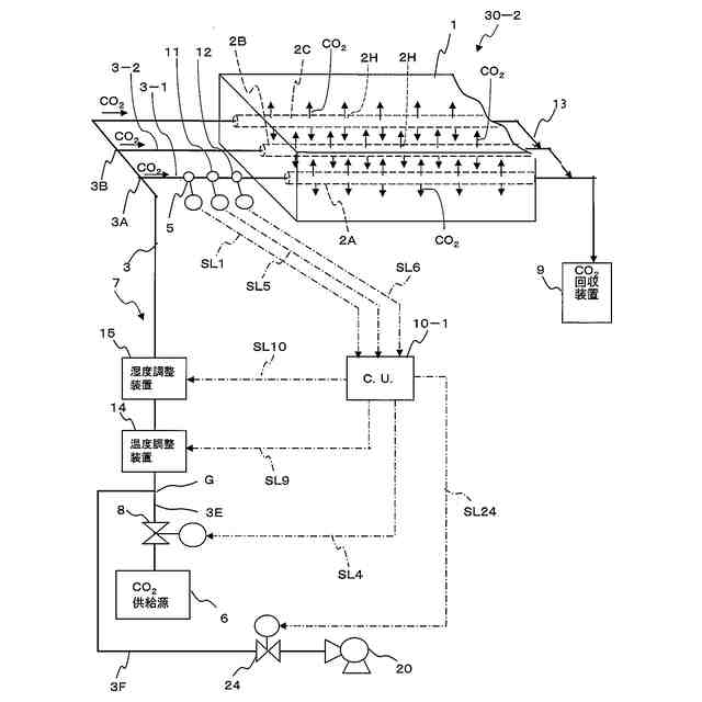
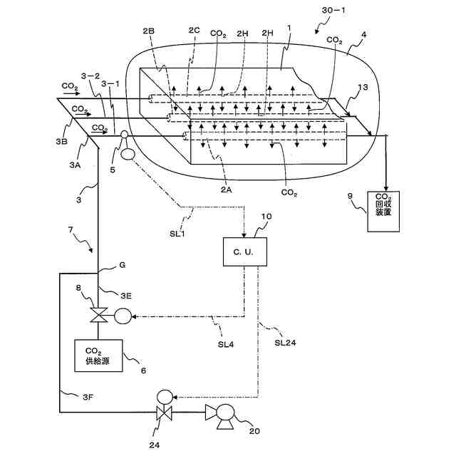
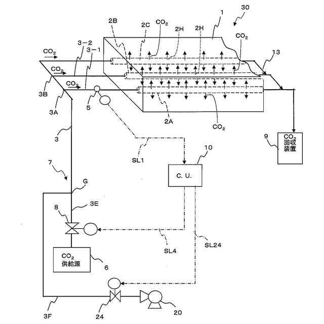
コンクリート舗装(1)内には管壁に複数の貫通口(2H)が形成された有孔配管(2)が埋設されており、
二酸化炭素ガス供給工程では、前記有孔配管(2)及び前記有孔配管(2)に接続された二酸化炭素供給配管(3)を介して二酸化炭素ガスがコンクリート舗装(1)内部に供給され、以て、コンクリート舗装(1)を内部から炭酸化養生するのが好ましい。
或いは本発明において、コンクリート舗装(1)の施工現場は被覆材(4:カバー)により包囲された空間であり、
二酸化炭素供給配管(3)を介して二酸化炭素ガスが前記被覆材(4)により包囲された空間内部に供給され、以て、コンクリート舗装(1)の上面(1A)及び/又は側面(1B)から炭酸化養生を行うのが好ましい。
【0008】
そして本発明において、
コンクリート舗装(1)の施工現場の雰囲気における温度及び/又は湿度を計測する工程と、
計測された温度/及び湿度に基づいて前記施工現場に供給されるCO
2
供給装置によって所定のCO
2
濃度となった気体(本明細書では「所定濃度二酸化炭素ガス」或いは「所定濃度CO
2
ガス」と記載する場合がある)における温度及び/又は湿度を制御する工程を含むのが好ましい。
【0009】
本発明のコンクリート舗装(1)の炭酸化養生を実行するシステム(30)では、
コンクリート舗装(1)の施工現場における二酸化炭素濃度を計測する二酸化炭素濃度計測装置(5:CO
2
濃度センサ)と、
コンクリート舗装(1)の施工現場に二酸化炭素ガスを供給する二酸化炭素供給系統(7:二酸化炭素供給源6及び二酸化炭素供給配管3)と、
前記二酸化炭素濃度計測装置(5)で計測された二酸化炭素濃度により、前記二酸化炭素ガス供給系統(7)を介して供給される二酸化炭素ガスにおける二酸化炭素濃度を制御する(例えば0.5%~80%の適正範囲に維持する)機能を有する制御装置(10:コントロールユニット)を含むことを特徴としている。
但し本発明において、制御装置(10)に代えて、作業員が二酸化炭素濃度を制御することが可能である。
【発明の効果】
【0010】
上述の構成を具備する本発明によれば、コンクリート舗装(1)が施工現場で効率良く炭酸化され緻密化されるので、曲げ耐力の向上と路面性状の確保を両立することが出来る。
そして本発明によれば、炭酸化養生をするべきコンクリート舗装(1)が存在する雰囲気において、CO
2
濃度を適正な範囲(例えば0.5%~80%の範囲)に保つことが出来るので、炭酸化が効率良く行われる。
また本発明によれば、炭酸化養生をするべきコンクリート舗装(1)の施工現場における実情に対応して、コンクリート舗装(1)の内部から炭酸化養生を行うことも出来るし、及び/又は、コンクリート舗装(1)の表面(上面1A及び/又は側面1B)から炭酸化養生を行うことも出来る。そのため、施工現場に対応した最良の態様でコンクリート舗装(1)の炭酸化養生を実行することが出来る。
(【0011】以降は省略されています)
この特許をJ-PlatPat(特許庁公式サイト)で参照する
関連特許
鹿島道路株式会社
コンクリート舗装の養生方法
今日
鹿島道路株式会社
コンクリート舗装の養生方法
今日
アオイ化学工業株式会社
道路用緊急補修材
5か月前
株式会社トクヤマ
水硬性組成物
3か月前
株式会社トクヤマ
水硬性組成物
13日前
株式会社トクヤマ
窒化ケイ素基板
27日前
東ソー株式会社
焼結体の製造方法
4か月前
株式会社トクヤマ
窒化ケイ素基板
1か月前
株式会社トクヤマ
窒化ケイ素基板
6日前
太平洋マテリアル株式会社
膨張材
5日前
東ソー株式会社
焼結体の製造方法
4か月前
太平洋マテリアル株式会社
裏込め材
今日
花王株式会社
空洞充填材
3か月前
有限会社林製作所
無機質成形体
2か月前
太平洋マテリアル株式会社
樹脂モルタル
19日前
太平洋マテリアル株式会社
樹脂モルタル
19日前
日本電気硝子株式会社
光学部材の製造方法
5日前
愛媛県
釉薬組成物
2か月前
株式会社トクヤマ
窒化ケイ素基板の製造方法
3か月前
花王株式会社
水硬性組成物用添加剤
3か月前
花王株式会社
水硬性組成物用添加剤
3か月前
デンカ株式会社
グラウト材料
2か月前
花王株式会社
水硬性組成物用混和剤
4か月前
太平洋セメント株式会社
固化材
3か月前
TOTO株式会社
複合材料
20日前
黒崎播磨株式会社
断熱材
3か月前
琉球セメント株式会社
処理設備、および処理方法
3か月前
太平洋マテリアル株式会社
モルタル組成物及びモルタル
3か月前
太平洋マテリアル株式会社
グラウト組成物及びグラウト
3か月前
品川リフラクトリーズ株式会社
耐火物
1か月前
花王株式会社
水硬性組成物用表面美観向上剤
今日
花王株式会社
水硬性組成物用表面美観向上剤
今日
TDK株式会社
電子部品
9日前
TDK株式会社
電子部品
9日前
ケイミュー株式会社
着色粒状物
3か月前
株式会社プロテリアル
生体セラミックスおよびその製造方法
28日前
続きを見る
他の特許を見る