TOP
|
特許
|
意匠
|
商標
特許ウォッチ
Twitter
他の特許を見る
10個以上の画像は省略されています。
公開番号
2025165914
公報種別
公開特許公報(A)
公開日
2025-11-05
出願番号
2025071030
出願日
2025-04-23
発明の名称
焼結体
出願人
東ソー株式会社
代理人
主分類
C04B
35/488 20060101AFI20251028BHJP(セメント;コンクリート;人造石;セラミックス;耐火物)
要約
【課題】 厚み0.5mm以下の薄型形状においても高い耐衝撃性を有し、なおかつ、下地となる部材が透けない高い遮光性を有するジルコニア焼結体を提供する。
【解決手段】 安定化元素、ニオブ、マンガン及びアルミナを含むジルコニア焼結体であって、正方晶ジルコニアの(111)面に帰属されるXRDのピークから算出される結晶子径が25nm以上100nm以下であるジルコニア焼結体。
【選択図】図1
特許請求の範囲
【請求項1】
安定化元素、ニオブ、マンガン及びアルミナを含むジルコニア焼結体であって、正方晶ジルコニアの(111)面に帰属されるXRDのピークから算出される結晶子径が25nm以上100nm以下であるジルコニア焼結体。
続きを表示(約 890 文字)
【請求項2】
安定化元素がカルシウム、イットリウム、ランタン、ネオジム、ガドリニウム、エルビウム及びイッテルビウムの群より選ばれる1以上を含み、安定化剤の含有量が2.0mol%以上5.5mol%以下である請求項1に記載のジルコニア焼結体。
【請求項3】
ニオブの含有量が0.1質量%以上3.0質量%以下である請求項1又は2に記載のジルコニア焼結体。
【請求項4】
マンガンの含有量が0.5質量%以上2.0質量%以下である請求項1又は2に記載のジルコニア焼結体。
【請求項5】
アルミナの含有量が0質量%超30質量%以下である請求項1又は2に記載のジルコニア焼結体。
【請求項6】
正方晶ジルコニアの(400)面に帰属されるピークトップの2θからの、正方晶ジルコニアの(004)面に帰属されるピークトップの2θの差が1.55°以上である請求項1又は2に記載のジルコニア焼結体。
【請求項7】
明度L
*
が40以上65以下である請求項1又は2に記載のジルコニア焼結体。
【請求項8】
厚み0.5mmにおける全光線透過率が0.1%以下である、請求項1又は2に記載のジルコニア焼結体。
【請求項9】
安定化元素、ニオブ、マンガン及びアルミナを含むジルコニア粉末であって、前記安定化元素の含有量が2.0mol%以上5.5mol%以下であり、ニオブの含有量が0.1質量%以上3.0質量%以下であり、マンガンの含有量が0.5質量%以上2.0質量%以下であり、アルミナの含有量が0質量%超30質量%以下であり、なおかつ、粉末の累積粒度分布における10%粒子径が0.15μm以上0.5μm以下、かつ、90%粒子径が0.5μm以上1.5μm以下であるジルコニア粉末。
【請求項10】
BET比表面積が8.0m
2
/g以上12m
2
/g以下である請求項9に記載のジルコニア粉末。
(【請求項11】以降は省略されています)
発明の詳細な説明
【技術分野】
【0001】
本開示は、焼結体に関し、特に、耐衝撃性及び遮光性を有し、主としてジルコニアからなる焼結体に関する。
続きを表示(約 3,300 文字)
【背景技術】
【0002】
ジルコニアをマトリックスとする焼結体(ジルコニア焼結体)は、高強度及び高靭性であるほか、高い審美性を有する。そのため、時計、携帯電子機器などの外装部材をはじめとした装飾用途への展開が検討されている。特に、ジルコニア焼結体をスマートフォンやスマートウォッチ等のモバイル端末やウェアラブル端末に使用する場合、軽量化のため薄型形状とすることが要求される。そのため、薄型形状においても割れが生じない高強度及び耐衝撃性が求められている。
【0003】
薄型形状で耐衝撃性を有する材料として、ジルコニア焼結体を合成樹脂や繊維強化プラスチックなどと積層することにより複合した複合材料(積層材料)が提案されている。例えば、特許文献1ではジルコニアマトリックスと高分子材料を複合した複合プレートが報告されている。該複合プレートは厚みが1mm未満であり、かつ、該複合プレートに20gの鋼球を落とした際にプレートに亀裂が生じ破壊された際の高さが40cm以上と、高い耐衝撃性を示すことが報告されている。
【先行技術文献】
【特許文献】
【0004】
特開2014-54780号公報
特開2020-180048号公報
【発明の概要】
【発明が解決しようとする課題】
【0005】
特許文献1の複合プレートはジルコニアをマトリックスとするセラミックス部材と樹脂材料等を積層させて製造する必要があるため製造プロセスが複雑化してしまう。そのため、ジルコニア焼結体のみで薄型形状でも高い耐衝撃性を有する材料が求められる。また、ジルコニア焼結体のみで薄型の外装部材を作製する場合、ジルコニアの透光性によって、下地となる部材が外装部材の上から透けて視認され、意匠性を損なう。特許文献2では、歯科用ジルコニア焼結体の透光性を調節するために、遮光材としてアルミナやチタニアを含有させることが開示されている。しかしながら、このようなジルコニア焼結体は、厚み0.5mm以下の形状(薄型形状)とすると下地が透けるものであった。さらに、アルミナは低靱性であるため、アルミナの含有量の増加に伴い、ジルコニア焼結体の破壊靱性値が低くなり、その結果、耐衝撃性が低下してしまう。
【0006】
本開示は、厚み0.5mm以下の薄型形状においても高い耐衝撃性を有し、なおかつ、下地となる部材が透けない遮光性を有するジルコニア焼結体を提供する。
【課題を解決するための手段】
【0007】
すなわち、本発明は特許請求の範囲のとおりであり、また、本開示の要旨は以下のとおりである。
[1] 安定化元素、ニオブ、マンガン及びアルミナを含むジルコニア焼結体であって、正方晶ジルコニアの(111)面に帰属されるXRDのピークから算出される結晶子径が25nm以上100nm以下であるジルコニア焼結体。
[2] 前記安定化元素がカルシウム、イットリウム、ランタン、ネオジム、ガドリニウム、エルビウム及びイッテルビウムの群より選ばれる1以上を含み、安定化元素の含有量が2.0mol%以上5.5mol%以下である[1]に記載のジルコニア焼結体。
[3] ニオブの含有量が0.1質量%以上3.0質量%以下である[1]又は[2]に記載のジルコニア焼結体。
[4] マンガンの含有量が0.5質量%以上2.0質量%以下である[1]乃至[3]のいずれかひとつに記載のジルコニア焼結体。
[5] アルミナの含有量が0質量%超30質量%以下である[1]乃至[4]のいずれかひとつに記載のジルコニア焼結体。
[6] 正方晶ジルコニアの(400)面に帰属されるピークトップの2θからの、正方晶ジルコニアの(004)面に帰属されるピークトップの2θの差が1.55°以上である[1]乃至[5]のいずれかひとつに記載のジルコニア焼結体。
[7] 明度L
*
が40以上65以下である[1]乃至[6]のいずれかひとつに記載のジルコニア焼結体。
[8] 厚み0.5mmにおける全光線透過率が0.1%以下である、[1]乃至[7]のいずれかひとつに記載のジルコニア焼結体。
[9] 安定化元素、ニオブ、マンガン及びアルミナを含むジルコニア粉末であって、前記安定化元素の含有量が2.0mol%以上5.5mol%以下であり、ニオブの含有量が0.1質量%以上3.0質量%以下であり、マンガンの含有量が0.5質量%以上2.0質量%以下であり、アルミナの含有量が0質量%超30質量%以下であり、なおかつ、粉末の累積粒度分布における10%粒子径が0.15μm以上0.5μm以下、かつ、90%粒子径が0.5μm以上1.5μm以下であるジルコニア粉末。
[10] BET比表面積が8.0m
2
/g以上12m
2
/g以下である[9]に記載のジルコニア粉末。
[11] [1]乃至[8]のいずれかひとつに記載のジルコニア焼結体を含む部材。
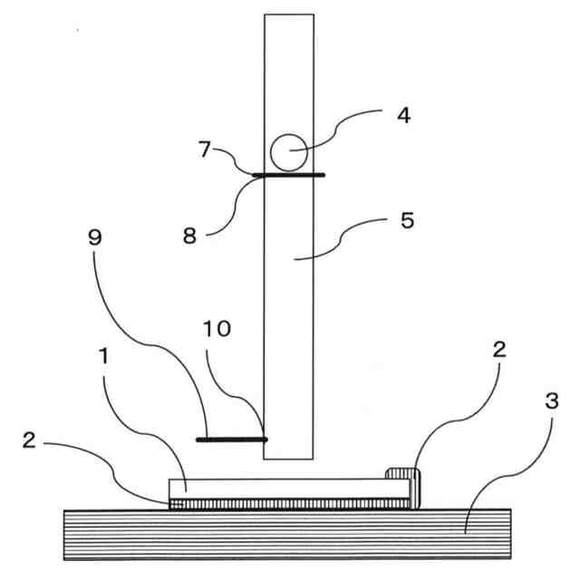
【図面の簡単な説明】
【0008】
落球試験装置の模式図
落球試験用サンプルの模式図
落球試験の様子を示す模式図
【発明を実施するための形態】
【0009】
以下、本開示の実施形態の一例を示して説明する。本開示には、本明細書で開示した各構成及びパラメータの任意の組合せを含むものとし、また、本明細書で開示した値の上限及び下限の任意の組合せの範囲も本開示に含まれるものとする。
(焼結体)
本実施形態は、安定化元素を含有するジルコニア、ニオブ、マンガン及びアルミナを含むジルコニア焼結体であって、正方晶ジルコニアの(111)面に帰属されるXRDのピークから算出される結晶子径が25以上100nm以下であるジルコニア焼結体(以下、「本実施形態の焼結体」ともいう。)、である。さらに、本実施形態の焼結体は、ニオブ、マンガン及びアルミニウムを含み、正方晶ジルコニアの(111)面に帰属されるXRDのピークから算出される結晶子径が25以上100nm以下である、安定化元素含有ジルコニア焼結体、である。従来知られているジルコニア焼結体への添加元素において、ニオブ、マンガン及びアルミナの組合せを含む添加成分を含有し、なおかつ、このような構成を満たすことにより、高い耐衝撃性を有した上で、下地材が透けない遮蔽性を有するジルコニア焼結体となる。
【0010】
本実施形態の焼結体は、安定化元素を含有するジルコニアを含む焼結体であり、安定化元素を含有するジルコニアを主相とする焼結体、更には焼結体を構成する成分において、ジルコニアが占める割合(特に、質量割合)が最も多い焼結体であり、いわゆるジルコニア焼結体、である。安定化元素は、ジルコニアを安定化する機能を有する元素であり、本実施形態の焼結体が含有する安定化元素は、カルシウム(Ca)、マグネシウム(Mg)、スカンジウム(Sc)、ランタン(La)、イットリウム(Y)、ネオジム(Nd)、セリウム(Ce)、ガドリニウム(Gd)、エルビウム(Er)及びイッテルビウム(Yb)の群より選ばれる1以上、カルシウム、イットリウム、ランタン、ネオジム、ガドリニウム、エルビウム及びイッテルビウムの群より選ばれる1以上、イットリウム、ランタン、ネオジム、ガドリニウム及びエルビウムの群より選ばれる1以上、イットリウム、ランタン、及びネオジムより選ばれる1以上、イットリウム及びネオジムの群より選ばれる1以上、イットリウム及びランタンの群より選ばれる1以上、イットリウム及びエルビウムの群より選ばれる1以上、又は、イットリウムであることが好ましい。
(【0011】以降は省略されています)
この特許をJ-PlatPat(特許庁公式サイト)で参照する
関連特許
東ソー株式会社
焼結体
24日前
東ソー株式会社
焼結体
24日前
東ソー株式会社
絶縁電線
1か月前
東ソー株式会社
ペレット
1か月前
東ソー株式会社
乳酸吸着材
1か月前
東ソー株式会社
自動分析装置
1か月前
東ソー株式会社
免疫学的測定法
1か月前
東ソー株式会社
印刷インキ組成物
1か月前
東ソー株式会社
焼結体の製造方法
1か月前
東ソー株式会社
ゴム用接着性改質剤
1か月前
東ソー株式会社
ウェアラブルセンサ
2か月前
東ソー株式会社
プラスチゾル組成物
22日前
東ソー株式会社
土木用注入薬液組成物
2か月前
東ソー株式会社
エチレン系重合用触媒
25日前
東ソー株式会社
タンパク質の発現方法
2か月前
東ソー株式会社
樹脂組成物および蓋材
2か月前
東ソー株式会社
樹脂組成物および蓋材
2か月前
東ソー株式会社
細胞培養基材の製造方法
1か月前
東ソー株式会社
芳香族化合物の製造方法
2か月前
東ソー株式会社
アルカリ金属の除去方法
1か月前
東ソー株式会社
細胞培養基材の製造方法
1か月前
東ソー株式会社
pH応答性マイクロキャリア
2か月前
東ソー株式会社
温度応答性ビーズの製造方法
2か月前
東ソー株式会社
CHA型ゼオライトの製造方法
1か月前
東ソー株式会社
酸素還元電極及びその製造方法
1か月前
東ソー株式会社
クロロプレンラテックス組成物
1日前
東ソー株式会社
CHA型ゼオライトの製造方法
1か月前
東ソー株式会社
ポリアリーレンスルフィド組成物
1か月前
東ソー株式会社
廃プラスチックのリサイクル方法
1か月前
東ソー株式会社
細胞培養基材、及び細胞培養キット
1か月前
東ソー株式会社
分離剤を充填したカラムの製造方法
1か月前
東ソー株式会社
押出成形用ゴム組成物及び加硫ゴム
1か月前
東ソー株式会社
バイオマス由来の塩素化ポリエチレン
1か月前
東ソー株式会社
ポリアリーレンスルフィド樹脂組成物
1か月前
東ソー株式会社
メチレンジアニリン化合物の製造方法
1か月前
東ソー株式会社
6-ヒドロキシヘキサン酸の製造方法
1か月前
続きを見る
他の特許を見る