TOP
|
特許
|
意匠
|
商標
特許ウォッチ
Twitter
他の特許を見る
公開番号
2025158462
公報種別
公開特許公報(A)
公開日
2025-10-17
出願番号
2024061020
出願日
2024-04-04
発明の名称
細胞培養基材の製造方法
出願人
東ソー株式会社
,
シーエステック株式会社
代理人
個人
,
個人
,
個人
,
個人
主分類
C12M
1/00 20060101AFI20251009BHJP(生化学;ビール;酒精;ぶどう酒;酢;微生物学;酵素学;突然変異または遺伝子工学)
要約
【課題】マスク不要でパターン形成が可能であり、かつ接着状態で細胞培養可能な細胞培養基材の製造方法を提供すること。
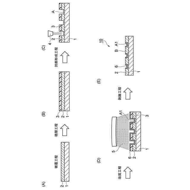
【解決手段】細胞培養基材の製造方法であり、基材の表面の少なくとも一部を、親水性高分子を含有する組成物で被覆し、親水性高分子を含有する層を形成する被覆工程、親水性高分子を含有する層上に保護フィルムを積層する積層工程、保護フィルムの表面の一部にレーザーを照射して、熱加工により凹部を形成する凹部形成工程、保護フィルム及び凹部の表面に表面改質処理を行う改質工程、改質工程の後、保護フィルムを、親水性高分子を含有する層から剥離する工程を含む、製造方法。
【選択図】図1
特許請求の範囲
【請求項1】
細胞培養基材の製造方法であり、
基材の表面の少なくとも一部を、親水性高分子を含有する組成物で被覆し、前記親水性高分子を含有する層を形成する被覆工程、
前記親水性高分子を含有する層上に保護フィルムを積層する積層工程、
前記保護フィルムの表面の一部にレーザーを照射して、熱加工により凹部を形成する凹部形成工程、
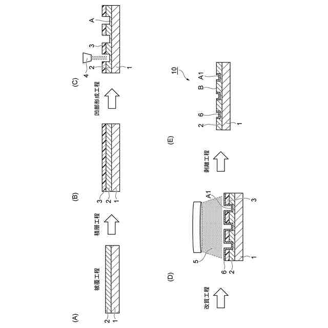
前記凹部形成工程の後、前記保護フィルム及び前記凹部の表面に表面改質処理を行う改質工程、
前記改質工程の後、前記保護フィルムを、前記親水性高分子を含有する層から剥離する剥離工程を含む、製造方法。
続きを表示(約 320 文字)
【請求項2】
前記細胞培養基材が、
基材と、前記基材の表面の少なくとも一部を被覆する親水性高分子を含有する層と、を備え、
下記(A)領域及び下記(B)領域を有し、
(A)細胞接着性及び細胞増殖性を有する領域
(B)前記(A)領域に隣接し、細胞接着性又は細胞増殖性を有しない領域
前記(A)領域は、前記細胞培養基材に形成された凹部からなる、請求項1に記載の製造方法。
【請求項3】
前記レーザーがCO
2
レーザーである、請求項1又は2に記載の製造方法。
【請求項4】
前記表面改質処理がプラズマ処理を含む、請求項1又は2に記載の製造方法。
発明の詳細な説明
【技術分野】
【0001】
本発明は、細胞培養基材の製造方法に関する。
続きを表示(約 2,100 文字)
【背景技術】
【0002】
胚性幹細胞(ES細胞)や人工多能性幹細胞(iPS細胞)等の多能性幹細胞は、生体の様々な組織に分化する能力(分化万能性)を持つ細胞であり、再生医療分野や創薬スクリーニングのための細胞ソースとして大きな注目が寄せられている。多能性幹細胞を再生医療や創薬スクリーニングに応用するには、多能性幹細胞から目的の細胞へと分化させる必要があるが、その際、多能性幹細胞の細胞凝集塊を形成する必要がある。また、多能性幹細胞は様々な細胞へと分化することができるが、分化後の細胞の種類によって最適な細胞凝集塊のサイズが異なることが知られており、サイズを制御し、更にサイズの均一な細胞凝集塊を作製することが望ましい。
【0003】
細胞凝集塊を形成するための細胞培養基材及びその製造方法は、いくつか提案されている。特許文献1には、(a)表面が親水化処理された細胞培養基板上に2-メタクリロイルオキシエチルホスホリルコリン(MPC)とメタクリル酸ブチルからなる共重合体を塗布する工程;(b)MPCとメタクリル酸ブチルからなる共重合体を塗布した前記細胞培養基板上に所定の形状の孔を有するマスクを載せる工程;(c)マスクを載せた前記細胞培養基板をプラズマ処理する工程、を順次備えることを特徴とする細胞接着基材の作製方法が開示されている。特許文献2には、複数の凹みが底に配列した培養容器で細胞を播種、培養、培地交換、回収する培養方法が開示されており、当該凹みは、底部と開口部とからなり、細胞接着を阻害する処理がなされていることが記載されている。
【先行技術文献】
【特許文献】
【0004】
特許第7016150号公報
特許第7219303号公報
【発明の概要】
【発明が解決しようとする課題】
【0005】
特許文献1に開示される細胞培養基材の製造方法は、所定のマスクを載せる工程及びマスクを載せた前記細胞培養基板をプラズマ処理する工程を備えており、プラズマ処理を行った領域(マスクの孔の領域)は細胞接着領域、プラズマ処理を行っていない領域(マスク領域)は細胞非接着領域としてパターン化される。このように、マスクを利用したパターニング技術では、パターンを変更する際にマスクのパターン仕様も変更する必要があるため、汎用性が低い。
【0006】
特許文献2に開示される細胞培養容器のように、凹み内を細胞が低接着性になるよう処理をした細胞培養基材を使用した、細胞の浮遊培養系では、培地交換時等に細胞も一緒に吸引してしまう可能性が高いため、操作が煩雑である。
【0007】
そこで本発明は、マスク不要でパターン形成が可能であり、かつ接着状態で細胞培養可能な細胞培養基材の製造方法を提供することを目的とする。
【課題を解決するための手段】
【0008】
本発明は、例えば、以下の各発明を包含する。
[1]
細胞培養基材の製造方法であり、
基材の表面の少なくとも一部を、親水性高分子を含有する組成物で被覆し、上記親水性高分子を含有する層を形成する被覆工程、
上記親水性高分子を含有する層上に保護フィルムを積層する積層工程、
上記保護フィルムの表面の一部にレーザーを照射して、熱加工により凹部を形成する凹部形成工程、
上記凹部形成工程の後、上記保護フィルム及び上記凹部の表面に表面改質処理を行う改質工程、
上記改質工程の後、上記保護フィルムを、上記親水性高分子を含有する層から剥離する剥離工程を含む、製造方法。
[2]
上記細胞培養基材が、
基材と、上記基材の表面の少なくとも一部を被覆する親水性高分子を含有する層と、を備え、
下記(A)領域及び下記(B)領域を有し、
(A)細胞接着性及び細胞増殖性を有する領域
(B)上記(A)領域に隣接し、細胞接着性又は細胞増殖性を有しない領域
上記(A)領域は、上記細胞培養基材に形成された凹部からなる、[1]に記載の製造方法。
[3]
上記レーザーがCO
2
レーザーである、[1]又は[2]に記載の製造方法。
[4]
上記表面改質処理がプラズマ処理を含む、[1]~[3]のいずれかに記載の製造方法。
【発明の効果】
【0009】
本発明によれば、マスク不要でパターン形成が可能であり、かつ接着状態で細胞培養可能な細胞培養基材の製造方法を提供することができる。
【図面の簡単な説明】
【0010】
一実施形態に係る細胞培養基材の製造法のフローチャートである。
一実施形態に係る細胞培養基材の模式図(断面図)である。
一実施形態に係る製造方法における、貼合工程後の細胞培養基材の模式図(斜視図)である。
【発明を実施するための形態】
(【0011】以降は省略されています)
この特許をJ-PlatPat(特許庁公式サイト)で参照する
関連特許
東ソー株式会社
焼結体
27日前
東ソー株式会社
焼結体
27日前
東ソー株式会社
絶縁電線
1か月前
東ソー株式会社
ペレット
1か月前
東ソー株式会社
乳酸吸着材
1か月前
東ソー株式会社
自動分析装置
2か月前
東ソー株式会社
免疫学的測定法
1か月前
東ソー株式会社
焼結体の製造方法
1か月前
東ソー株式会社
印刷インキ組成物
1か月前
東ソー株式会社
プラスチゾル組成物
25日前
東ソー株式会社
ウェアラブルセンサ
2か月前
東ソー株式会社
ゴム用接着性改質剤
1か月前
東ソー株式会社
タンパク質の発現方法
2か月前
東ソー株式会社
土木用注入薬液組成物
2か月前
東ソー株式会社
エチレン系重合用触媒
28日前
東ソー株式会社
芳香族化合物の製造方法
2か月前
東ソー株式会社
細胞培養基材の製造方法
1か月前
東ソー株式会社
アルカリ金属の除去方法
1か月前
東ソー株式会社
細胞培養基材の製造方法
1か月前
東ソー株式会社
クロロプレンラテックス組成物
4日前
東ソー株式会社
酸素還元電極及びその製造方法
1か月前
東ソー株式会社
CHA型ゼオライトの製造方法
1か月前
東ソー株式会社
CHA型ゼオライトの製造方法
1か月前
東ソー株式会社
ポリアリーレンスルフィド組成物
1か月前
東ソー株式会社
廃プラスチックのリサイクル方法
1か月前
東ソー株式会社
細胞培養基材、及び細胞培養キット
1か月前
東ソー株式会社
分離剤を充填したカラムの製造方法
1か月前
東ソー株式会社
押出成形用ゴム組成物及び加硫ゴム
1か月前
東ソー株式会社
6-ヒドロキシヘキサン酸の製造方法
1か月前
東ソー株式会社
バイオマス由来の塩素化ポリエチレン
1か月前
東ソー株式会社
メチレンジアニリン化合物の製造方法
1か月前
東ソー株式会社
ポリアリーレンスルフィド樹脂組成物
1か月前
東ソー株式会社
ユウロピウム錯体含有細胞賦活用組成物
1か月前
東ソー株式会社
酸化ポリエチレンワックス及びその製造方法
1か月前
東ソー株式会社
免疫グロブリン結合性タンパク質の製造方法
25日前
東ソー株式会社
細胞外小胞精製キット及び細胞外小胞の精製方法
25日前
続きを見る
他の特許を見る