TOP
|
特許
|
意匠
|
商標
特許ウォッチ
Twitter
他の特許を見る
10個以上の画像は省略されています。
公開番号
2025148690
公報種別
公開特許公報(A)
公開日
2025-10-08
出願番号
2024048941
出願日
2024-03-26
発明の名称
コンクリート舗装の養生方法
出願人
鹿島道路株式会社
,
鹿島建設株式会社
代理人
弁理士法人高橋特許事務所
主分類
C04B
40/02 20060101AFI20251001BHJP(セメント;コンクリート;人造石;セラミックス;耐火物)
要約
【課題】道路舗装で用いられるコンクリート舗装について、施工現場において積極的に炭酸化(中性化)を進行するコンクリート舗装の養生方法の提供。
【解決手段】本発明のコンクリート舗装(1)の養生方法は、コンクリート舗装(1)の底面(1A)から炭酸化養生を行う工程を有し、前記炭酸化養生を行う工程では、前記施工現場に二酸化炭素ガス(CO
2
ガス)を供給する供給工程と、CO
2
濃度(二酸化炭素濃度)を計測する計測工程と、当該計測工程で計測されたCO
2
濃度により、前記供給工程で供給されるCO
2
ガスにおけるCO
2
濃度を制御する(例えば0.5%~80%の適正範囲に維持する)工程を有している。ここで、当該施工現場の雰囲気における温度及び/又は湿度を計測する工程と、当該計測結果に基づいて供給されるCO
2
ガスにおける温度及び/又は湿度を制御する工程を含むのが好ましい。
【選択図】図1
特許請求の範囲
【請求項1】
コンクリート舗装の底面から炭酸化養生を行う工程を有し、
前記炭酸化養生を行う工程では、
施工現場に二酸化炭素ガスを供給する供給工程と、
二酸化炭素濃度を計測する計測工程と、
当該計測工程で計測された二酸化炭素濃度により、前記供給工程で供給される二酸化炭素ガスにおける二酸化炭素濃度を制御する工程を有することを特徴とするコンクリート舗装の養生方法。
続きを表示(約 940 文字)
【請求項2】
炭酸化養生を行うコンクリート舗装の下方には、透水性及び通気性が良好な材料により構成された層が配置されており、当該層を介して二酸化炭素ガスがコンクリート舗装の底面に供給される請求項1のコンクリート舗装の養生方法。
【請求項3】
炭酸化養生を行うコンクリート舗装の下方には、透水性及び通気性が良好な材料により構成された層が配置されており、当該層には管壁に複数の貫通口が形成された有孔配管が埋設されており、当該有孔配管を介して二酸化炭素ガスがコンクリート舗装の底面に供給される請求項1のコンクリート舗装の養生方法。
【請求項4】
炭酸化養生を行うコンクリート舗装の下方には、透水性及び通気性が良好な材料により構成された層が配置されており、当該層とコンクリート舗装の底面の境界には不織布層が形成されており、当該不織布層を介して二酸化炭素ガスがコンクリート舗装の底面に供給される請求項1のコンクリート舗装の養生方法。
【請求項5】
炭酸化養生を行うコンクリート舗装の下方には、透水性及び通気性が良好な材料あるいは通気性の悪い材料により構成された層が配置されており、当該層とコンクリート舗装の底面の境界には溝が形成されており、当該溝を介して二酸化炭素ガスがコンクリート舗装の底面に供給される請求項1のコンクリート舗装の養生方法。
【請求項6】
コンクリート舗装の施工現場の雰囲気における温度及び/又は湿度を計測する工程と、
計測された温度及び/又は湿度に基づいて前記施工現場に供給される二酸化炭素ガスにおける温度及び/又は湿度を制御する工程を含む請求項1~5の何れか1項のコンクリート舗装の養生方法。
【請求項7】
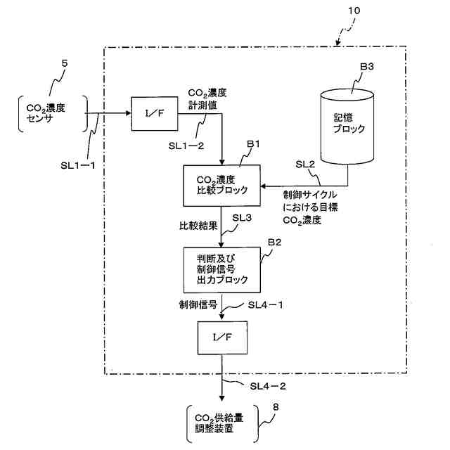
二酸化炭素濃度を計測する二酸化炭素濃度計測装置と、
コンクリート舗装の底面に二酸化炭素ガスを供給する二酸化炭素供給系統と、
前記二酸化炭素濃度計測装置で計測された二酸化炭素濃度により、前記二酸化炭素ガス供給系統を介して供給される二酸化炭素ガスにおける二酸化炭素濃度を制御する制御装置を有することを特徴とするコンクリート舗装の炭酸化養生を実行するシステム。
発明の詳細な説明
【技術分野】
【0001】
本発明は、道路や空港などの舗装の分野で用いられるコンクリート舗装について、施工現場で炭酸化(中性化)を進行する炭酸化養生の技術に関する。
続きを表示(約 2,000 文字)
【背景技術】
【0002】
結合材で粒子状材料を結合し、一体化したコンクリートにおいて、セメントコンクリートはセメントペーストを結合材としており、セメントの水和反応により硬化体を構築する性質を有している。
ここで、コンクリート中の水酸化カルシウム(Ca(OH)
2
)やケイ酸カルシウム水和物(C-S-H)と空気中の二酸化炭素(CO
2
)が反応し炭酸カルシウムが生成されることによりコンクリートのアルカリ性が低下する現象は、炭酸化(或いは中性化)と呼ばれる。
炭酸化が鉄筋コンクリートにおける鉄筋埋設箇所近傍まで進行すると、錆による鉄筋の膨張に起因してひび割れが生じ、コンクリートが破損に至る原因となってしまうという問題が存在する。
一方、炭酸化することにより、コンクリートが二酸化炭素を吸収して固定化することは、近年における重要な課題である二酸化炭素排出量低減に大きく寄与する。また、炭酸化することでコンクリートが緻密化して、コンクリート内部への水の浸透を抑制し、コンクリートの高耐久化が実現できる。
【0003】
炭酸化による上述したメリットに着目して、CO
2
排出量削減効果を得ることができるコンクリートの製造方法が従来技術として提案されている(例えば、特許文献1参照)。
しかし、係る従来技術(特許文献1)は道路や空港などのコンクリート舗装について適用することは考慮されていない。
そして、道路や空港などの舗装で用いられるコンクリート舗装を、施工現場において積極的に炭酸化(中性化)を進行して、二酸化炭素吸収量を増加する技術については、従来、提案されていない。
【先行技術文献】
【特許文献】
【0004】
特開2014-51422号公報
【発明の概要】
【発明が解決しようとする課題】
【0005】
本発明は上述した従来技術の問題点に鑑みて提案されたものであり、道路や空港などの舗装で用いられるコンクリート舗装について、施工現場において積極的に炭酸化(中性化)を進行するコンクリート舗装の養生方法の提供を目的としている。
【課題を解決するための手段】
【0006】
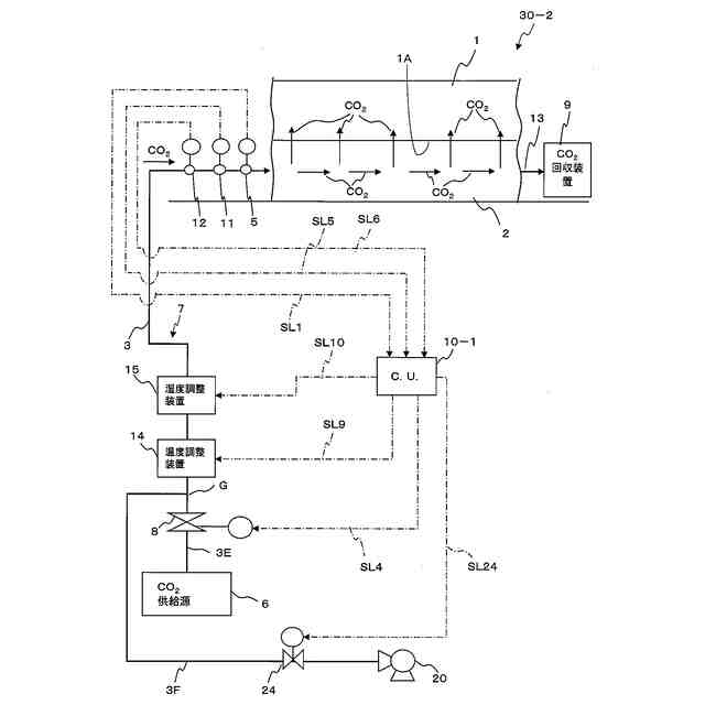
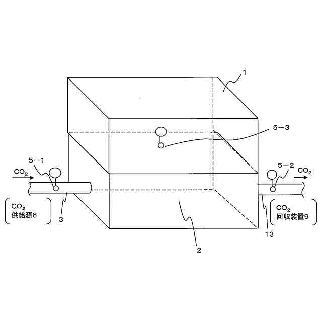
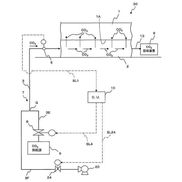
本発明のコンクリート舗装(1)の養生方法は、
コンクリート舗装(1)の底面(1A)から炭酸化養生を行う工程を有し、
前記炭酸化養生を行う工程では、
施工現場に二酸化炭素ガス(CO
2
ガス)を供給する供給工程と、
二酸化炭素濃度を計測する計測工程と、
当該計測工程で計測された二酸化炭素濃度により、前記供給工程で供給される二酸化炭素ガスにおける二酸化炭素濃度を制御する(例えば0.5%~80%の適正範囲に維持する)工程を有することを特徴としている。
【0007】
本発明において、
炭酸化養生を行うコンクリート舗装(1)の下方には、透水性及び通気性が良好な材料(例えばポーラスアスファルト混合物、ポーラスコンクリート、透水性路盤、溝が形成された密粒度アスファルト混合物)により構成された層(2)が配置されており、当該層(2)を介して二酸化炭素ガスがコンクリート舗装(1)の底面(1A)に供給されるのが好ましい。
【0008】
また本発明において、
炭酸化養生を行うコンクリート舗装(1)の下方には、透水性及び通気性が良好な材料により構成された層(2)が配置されており、当該層(2)には管壁に複数の貫通口(21H)が形成された有孔配管(21)が埋設されており、当該有孔配管(21)を介して二酸化炭素ガスがコンクリート舗装(1)の底面(1A)に供給されるのが好ましい。
【0009】
或いは本発明において、
炭酸化養生を行うコンクリート舗装(1)の下方には、透水性及び通気性が良好な材料により構成された層(2)が配置されており、当該層(2)とコンクリート舗装(1)の底面(1A)の境界には不織布層(22)が形成されており、当該不織布層(22)を介して二酸化炭素ガスがコンクリート舗装(1)の底面(1A)に供給されるのが好ましい。
【0010】
さらに本発明において、
炭酸化養生を行うコンクリート舗装(1)の下方には、透水性及び通気性が良好な材料あるいは通気性の悪い材料(例えば密粒度アスファルト混合物)により構成された層(2)が配置されており、当該層(2)とコンクリート舗装(1)の底面(1A)の境界には溝(23)が形成されており、当該溝(23)を介して二酸化炭素ガスがコンクリート舗装(1)の底面(1A)に供給されるのが好ましい。
(【0011】以降は省略されています)
この特許をJ-PlatPat(特許庁公式サイト)で参照する
関連特許
鹿島道路株式会社
コンクリート舗装の養生方法
今日
鹿島道路株式会社
コンクリート舗装の養生方法
今日
アオイ化学工業株式会社
道路用緊急補修材
5か月前
株式会社トクヤマ
水硬性組成物
3か月前
株式会社トクヤマ
水硬性組成物
13日前
株式会社トクヤマ
窒化ケイ素基板
1か月前
太平洋マテリアル株式会社
膨張材
5日前
東ソー株式会社
焼結体の製造方法
4か月前
東ソー株式会社
焼結体の製造方法
4か月前
株式会社トクヤマ
窒化ケイ素基板
6日前
株式会社トクヤマ
窒化ケイ素基板
27日前
株式会社トクヤマ
窒化ケイ素基板
4か月前
太平洋マテリアル株式会社
裏込め材
今日
有限会社林製作所
無機質成形体
2か月前
花王株式会社
空洞充填材
3か月前
太平洋マテリアル株式会社
樹脂モルタル
19日前
太平洋マテリアル株式会社
樹脂モルタル
19日前
日本電気硝子株式会社
光学部材の製造方法
5日前
株式会社トクヤマ
窒化ケイ素基板の製造方法
3か月前
愛媛県
釉薬組成物
2か月前
花王株式会社
吹付用水硬性組成物
4か月前
デンカ株式会社
グラウト材料
2か月前
花王株式会社
水硬性組成物用混和剤
4か月前
花王株式会社
水硬性組成物用添加剤
3か月前
花王株式会社
粘土含有石膏スラリー
4か月前
花王株式会社
水硬性組成物用添加剤
3か月前
太平洋セメント株式会社
固化材
3か月前
黒崎播磨株式会社
断熱材
3か月前
花王株式会社
水硬性組成物用被膜養生剤
4か月前
TOTO株式会社
複合材料
20日前
東レ株式会社
炭素シートおよびガス拡散電極の製造方法
4か月前
太平洋マテリアル株式会社
グラウト組成物及びグラウト
3か月前
太平洋マテリアル株式会社
モルタル組成物及びモルタル
3か月前
琉球セメント株式会社
処理設備、および処理方法
3か月前
TDK株式会社
電子部品
9日前
花王株式会社
粘土含有水硬性組成物用分散剤
4か月前
続きを見る
他の特許を見る