TOP
|
特許
|
意匠
|
商標
特許ウォッチ
Twitter
他の特許を見る
10個以上の画像は省略されています。
公開番号
2025161726
公報種別
公開特許公報(A)
公開日
2025-10-24
出願番号
2024232477
出願日
2024-12-27
発明の名称
作業サイクル分析システム
出願人
鹿島建設株式会社
代理人
弁理士法人後藤特許事務所
主分類
G06Q
50/08 20120101AFI20251017BHJP(計算;計数)
要約
【課題】作業状況を容易に把握する。
【解決手段】作業サイクル分析システム100は、作業工程が行われる作業領域を撮像可能な撮像部41と、撮像部41により撮像された画像内の特定の部材を識別する識別部32と、識別部32によって識別された特定の部材の画像内における画素割合の変化に基づいて作業サイクルに含まれる作業工程の開始または終了を判定する作業工程判定部と、を備える。
【選択図】図9
特許請求の範囲
【請求項1】
複数の作業工程により構成される作業サイクルが実施されることによって建造される建造物の前記作業サイクルを分析する作業サイクル分析システムであって、
前記作業工程が行われる作業領域を撮像可能な撮像部と、
前記撮像部により撮像された画像内の特定の部材を識別する識別部と、
前記識別部によって識別された前記特定の部材の前記画像内における画素割合の変化に基づいて前記作業サイクルに含まれる前記作業工程の開始または終了を判定する作業工程判定部と、を備える、
作業サイクル分析システム。
続きを表示(約 1,700 文字)
【請求項2】
前記特定の部材は、前記作業サイクルを構成する複数の前記作業工程のうち特定の作業工程において用いられる部材であり、
前記作業工程判定部は、前記画像内における前記特定の部材の前記画素割合の変化に基づいて前記特定の作業工程の開始または終了を判定する、
請求項1に記載の作業サイクル分析システム。
【請求項3】
前記作業サイクルには、前記作業領域内に鉄筋を配置する配筋工程が含まれ、
前記特定の部材は、前記配筋工程において前記作業領域内に配置される前記鉄筋及び型枠の少なくとも何れかであり、
前記作業工程判定部は、
前記画像内における前記鉄筋及び前記型枠の少なくとも何れかの前記画素割合の変化に基づいて前記配筋工程の開始及び終了を判定する、
請求項1または2に記載の作業サイクル分析システム。
【請求項4】
前記作業サイクルには、鉄筋が配置された前記作業領域内にコンクリートを打設するコンクリート打設工程が含まれ、
前記特定の部材は、前記コンクリート打設工程において前記作業領域内に配置される前記鉄筋及びコンクリートの少なくとも何れかであり、
前記作業工程判定部は、
前記画像内における前記鉄筋及び前記コンクリートの少なくとも何れかの前記画素割合の変化に基づいて前記コンクリート打設工程の開始及び終了を判定する、
請求項1または2に記載の作業サイクル分析システム。
【請求項5】
前記作業サイクルには、前記作業領域内に鉄筋を配置する配筋工程及び前記鉄筋が配置された前記作業領域内にコンクリートを打設するコンクリート打設工程が含まれ、
前記特定の部材は、前記配筋工程において配置される前記鉄筋であり、
前記作業工程判定部は、
前記画像内における前記鉄筋の前記画素割合が第2閾値を超えた時点を前記配筋工程の開始と判定し、
前記鉄筋の前記画素割合が前記第2閾値よりも大きい第1閾値を超えた時点を前記配筋工程の終了と判定し、
前記配筋工程の終了と判定された時点よりも後において前記鉄筋の前記画素割合が前記第1閾値よりも小さい第3閾値を下回った時点を前記コンクリート打設工程の終了と判定する、
請求項1または2に記載の作業サイクル分析システム。
【請求項6】
前記作業サイクルには、前記作業領域内で所定の前記作業工程を行う際に用いられる移動作業車を前記作業領域へ向けて移動させる移動工程が含まれ、
前記特定の部材は、前記移動作業車を前記作業領域へと案内するガイドレールであり、
前記作業工程判定部は、
前記画像内における前記ガイドレールの前記画素割合が最大となった後に第1閾値を下回った時点を前記移動工程の開始と判定し、
前記移動工程の開始と判定された時点よりも後において前記ガイドレールの前記画素割合が前記第1閾値よりも小さい第2閾値を下回った時点を前記移動工程の終了と判定する、
請求項1または2に記載の作業サイクル分析システム。
【請求項7】
前記作業サイクルは繰り返し実施され、
前記作業工程判定部は、既に判定された前記作業サイクルの開始時期から新たに判定された前記作業サイクルの開始時期、または、既に判定された前記作業サイクルの終了時期から新たに判定された前記作業サイクルの終了時期までに経過した時間を前記作業サイクルのサイクルタイムとして演算する、
請求項1または2に記載の作業サイクル分析システム。
【請求項8】
前記識別部は、前記撮像部により撮像された前記画像から人物をさらに識別し、
前記作業工程判定部は、前記識別部によって識別された前記特定の部材の前記画像内における画素割合の変化、及び、前記識別部によって識別された前記人物の数の変化に基づいて前記作業サイクルに含まれる前記作業工程の開始または終了を判定する、
請求項1または2に記載の作業サイクル分析システム。
発明の詳細な説明
【技術分野】
【0001】
本発明は、作業サイクル分析システムに関する。
続きを表示(約 2,000 文字)
【背景技術】
【0002】
特許文献1には、作業者や作業機械の動作を検出し、検出された動作に基づいて作業領域内において実施された作業を判定する作業分析システムが開示されている。
【先行技術文献】
【特許文献】
【0003】
特開2020-194243号公報
【発明の概要】
【発明が解決しようとする課題】
【0004】
特許文献1に記載された作業分析システムでは、作業領域内において実施された作業を判定するために、複数の作業機械や作業者を検出し、検出された複数の作業機械等の動作状態をそれぞれ把握することが求められる。このため、作業状況を正確に判定するには、例えば、作業機械の種別の認識精度を向上させたり、作業機械の動作状態の判定精度を向上させたりする必要があるが、何れも演算負荷の増大を招くことから、作業状況を把握するには困難を伴うことになる。また、正確なデータを収集するためには、動作を検出する検出器等を適切な位置に配置したり、動作が正常に検出されているか否かを人が常時確認したりする必要があり、データの収集に要する人的負荷が高くなるとともに運用コストが増大するおそれがある。
【0005】
本発明は、作業状況を容易に把握することを目的とする。
【課題を解決するための手段】
【0006】
本発明は、複数の作業工程により構成される作業サイクルが実施されることによって建造される建造物の作業サイクルを分析する作業サイクル分析システムであって、作業工程が行われる作業領域を撮像可能な撮像部と、撮像部により撮像された画像内の特定の部材を識別する識別部と、識別部によって識別された特定の部材の画像内における画素割合の変化に基づいて作業サイクルに含まれる作業工程の開始または終了を判定する作業工程判定部と、を備える。
【発明の効果】
【0007】
本発明によれば、作業状況を容易に把握することができる。
【図面の簡単な説明】
【0008】
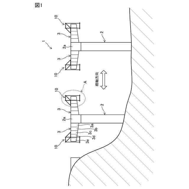
本発明の実施形態に係る作業サイクル分析システムにより作業工程が分析される作業現場の例を示す概略図である。
図1のA部を拡大して示した拡大図であり、図1に示される作業現場での作業工程について説明するための図である。
図2Aに示される作業工程に続く作業工程について説明するための図である。
図2Bに示される作業工程に続く作業工程について説明するための図である。
図2Cに示される作業工程に続く作業工程について説明するための図である。
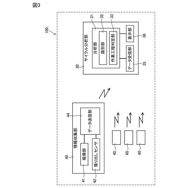
本発明の実施形態に係る作業サイクル分析システムのブロック図である。
本発明の実施形態に係る作業サイクル分析システムによる作業工程の判定手順を示したフローチャートである。
図2Aに示される作業工程において撮像部により撮像された画像を示す図である。
図2Bに示される作業工程において撮像部により撮像された画像を示す図である。
図2Cに示される作業工程において撮像部により撮像された画像を示す図である。
撮像部により撮像された画像中のガイドレールの面積割合の変化を示したグラフである。
図2Dに示される作業工程において撮像部により撮像された画像を示す図である。
図7Aに示される作業工程に続く作業工程において撮像部により撮像された画像を示す図である。
図7Bに示される作業工程に続く作業工程において撮像部により撮像された画像を示す図である。
撮像部により撮像された画像中の鉄筋等の面積割合の変化を示したグラフである。
本発明の実施形態に係る作業サイクル分析システムによる作業工程の判定について説明するための図である。
撮像部により撮像された画像中の鉄筋等の面積割合の変化を示したグラフであり、打設工程の開始時期の判定について説明するための図である。
撮像部により撮像された画像から人物を識別する手法について説明するための図である。
撮像部により撮像された画像中の鉄筋等の面積割合の変化と画像から識別された人物の数を示したグラフである。
【発明を実施するための形態】
【0009】
以下、図面を参照して、本発明の実施形態に係る作業サイクル分析システムについて説明する。
【0010】
本発明の実施形態に係る作業サイクル分析システム100は、複数の作業工程により構成される作業サイクルが実施されることによって建造される建造物、特に作業サイクルが繰り返し実施されることによって建造される建造物の作業サイクルを分析するためのシステムであり、作業サイクルに含まれる作業工程の開始時期や終了時期を自動的に判定するものである。
(【0011】以降は省略されています)
この特許をJ-PlatPat(特許庁公式サイト)で参照する
関連特許
鹿島建設株式会社
接続方法
今日
鹿島建設株式会社
構築方法
14日前
鹿島建設株式会社
制震架構
1か月前
鹿島建設株式会社
解体方法
1か月前
鹿島建設株式会社
接合構造
28日前
鹿島建設株式会社
過重力施設
1か月前
鹿島建設株式会社
床版架設方法
26日前
鹿島建設株式会社
空調システム
1か月前
鹿島建設株式会社
シールド掘進機
1か月前
鹿島建設株式会社
柱建て込み方法
1か月前
鹿島建設株式会社
運搬台車および運搬方法
1か月前
鹿島建設株式会社
ワイヤレス給電システム
1か月前
鹿島建設株式会社
橋、および橋の製造方法
1か月前
鹿島建設株式会社
接続方法および接続構造
1か月前
鹿島建設株式会社
作業サイクル分析システム
26日前
鹿島建設株式会社
壁体の構築方法およびタンク
27日前
鹿島建設株式会社
コンクリート構造物構築方法
13日前
鹿島建設株式会社
鋼管柱の接合方法、及び鋼管柱
1か月前
鹿島建設株式会社
品質評価装置および品質評価方法
22日前
鹿島建設株式会社
水硬性硬化体の炭酸化養生システム
1か月前
鹿島建設株式会社
盛土評価システムおよび盛土評価方法
27日前
鹿島建設株式会社
生態系環境改善部材及び生態系環境改善構造
12日前
鹿島道路株式会社
コンクリート舗装の養生方法
1か月前
鹿島建設株式会社
二酸化炭素の回収方法、二酸化炭素回収システム
13日前
鹿島道路株式会社
コンクリート舗装の養生方法
1か月前
鹿島道路株式会社
アスファルト混合物の製造方法
21日前
鹿島建設株式会社
環境音モニタ装置、環境音モニタ方法及びプログラム
1か月前
ゼネラルヒートポンプ工業株式会社
ヒートポンプシステム
26日前
ケイミューシポレックス株式会社
軽量気泡コンクリートの製造方法
1か月前
鹿島建設株式会社
生物生息場構造体、生物生息場構造、生物生息場構造体の引き上げ方法
1か月前
Haloworld株式会社
マップ作成システム及び自動走行システム
1か月前
鹿島建設株式会社
光ファイバー設置構造、コンクリート部材養生方法、損傷評価方法及び構造特性評価方法
1か月前
個人
詐欺保険
1か月前
個人
縁伊達ポイン
1か月前
個人
5掛けポイント
12日前
個人
RFタグシート
23日前
続きを見る
他の特許を見る