TOP
|
特許
|
意匠
|
商標
特許ウォッチ
Twitter
他の特許を見る
公開番号
2025157955
公報種別
公開特許公報(A)
公開日
2025-10-16
出願番号
2024060337
出願日
2024-04-03
発明の名称
鋼管柱の接合方法、及び鋼管柱
出願人
鹿島建設株式会社
代理人
個人
,
個人
,
個人
,
個人
主分類
E02D
29/05 20060101AFI20251008BHJP(水工;基礎;土砂の移送)
要約
【課題】鋼管柱とスラブとを互いに固定しやすくできる鋼管柱の接合方法、及び鋼管柱を提供する。
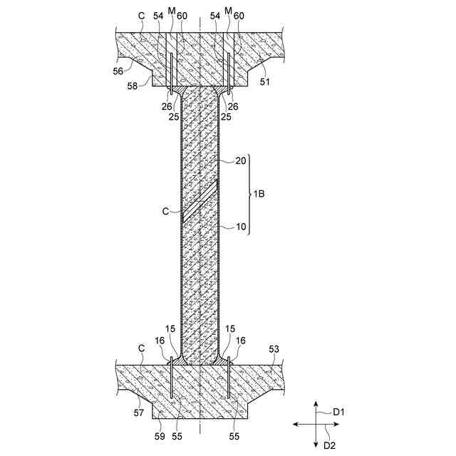
【解決手段】鋼管柱の接合方法は、スラブ53に第1鋼管柱10の一端を固定する工程と、スラブ51と第1鋼管柱10との間に水平方向D2に沿って第2鋼管柱20を挿入する工程と、第1鋼管柱10と第2鋼管柱20とを溶接により互いに接合する工程と、を備える。第1接合部11は、第1傾斜面13と、第1傾斜面13から第2接合部21に向けて突出する第1裏当て金14と、を有する。第2接合部21は、第2傾斜面23と、第2傾斜面23から第1接合部11に向けて突出する第2裏当て金24と、を有する。挿入する工程では、第2裏当て金24が第1内周面12に対向するとともに第1裏当て金14が第2内周面22に対向し、鉛直方向D1に沿って見たときに第1裏当て金14及び第2裏当て金24が環状部を形成するように配置される。
【選択図】図2
特許請求の範囲
【請求項1】
鉛直方向に沿って並ぶ2つのスラブの間において第1鋼管柱及び第2鋼管柱を互いに接合する鋼管柱の接合方法であって、
2つの前記スラブのうちの一方に前記第1鋼管柱の一端を固定する工程と、
2つの前記スラブのうちの他方と前記第1鋼管柱との間に水平方向に沿って前記第2鋼管柱を挿入する工程と、
前記第1鋼管柱と前記第2鋼管柱とを溶接により互いに接合する工程と、
を備え、
前記第1鋼管柱は、前記第2鋼管柱に接合される第1接合部を有し、
前記第2鋼管柱は、前記第1鋼管柱の前記第1接合部に接合される第2接合部を有し、
前記第1接合部は、水平方向に対して傾斜する第1傾斜面と、前記第1鋼管柱の第1内周面に固定されており前記第1傾斜面から前記第2接合部に向けて突出する第1裏当て金と、を有し、
前記第2接合部は、水平方向に対して傾斜する第2傾斜面と、前記第2鋼管柱の第2内周面に固定されており前記第2傾斜面から前記第1接合部に向けて突出する第2裏当て金と、を有し、
前記挿入する工程では、前記第2裏当て金が前記第1内周面に対向するとともに前記第1裏当て金が前記第2内周面に対向し、鉛直方向に沿って見たときに前記第1裏当て金及び前記第2裏当て金が環状部を形成するように配置される、
鋼管柱の接合方法。
続きを表示(約 1,100 文字)
【請求項2】
前記挿入する工程では、鉛直方向に沿って見たときに、前記第1裏当て金及び前記第2裏当て金のそれぞれが前記環状部の半分を形成するように配置される、
請求項1に記載の鋼管柱の接合方法。
【請求項3】
2つの前記スラブのうちの他方に第3鋼管柱の一端を固定する工程を備え、
前記第2鋼管柱を挿入する工程では、前記第1鋼管柱と前記第3鋼管柱との間に水平方向に沿って前記第2鋼管柱を挿入し、
前記接合する工程では、前記第3鋼管柱と前記第2鋼管柱とを溶接により互いに接合し、
前記第2鋼管柱は、前記第1鋼管柱とは反対側に位置しており前記第3鋼管柱に接合される第4接合部を有し、
前記第3鋼管柱は、前記第4接合部に接合される第3接合部を有し、
前記第3接合部は、水平方向に対して傾斜する第3傾斜面と、前記第3鋼管柱の第3内周面に固定されており前記第3傾斜面から前記第4接合部に向けて突出する第3裏当て金と、を有し、
前記第4接合部は、水平方向に対して傾斜する第4傾斜面と、前記第2内周面に固定されており前記第4傾斜面から前記第3接合部に向けて突出する第4裏当て金と、を有し、
前記挿入する工程では、前記第4裏当て金が前記第3内周面に対向するとともに前記第3裏当て金が前記第2内周面に対向し、鉛直方向に沿って見たときに前記第3裏当て金及び前記第4裏当て金が環状部を形成するように配置される、
請求項1又は請求項2に記載の鋼管柱の接合方法。
【請求項4】
鉛直方向に沿って並ぶ2つのスラブの間において互いに接合されている第1鋼管柱及び第2鋼管柱を含む鋼管柱であって、
2つの前記スラブのうちの一方に前記第1鋼管柱の一端が固定されており、
前記第1鋼管柱は、前記第2鋼管柱に接合される第1接合部を有し、
前記第2鋼管柱は、前記第1鋼管柱の前記第1接合部に接合される第2接合部を有し、
前記第1接合部は、水平方向に対して傾斜する第1傾斜面と、前記第1鋼管柱の第1内周面に固定されており前記第1傾斜面から前記第2接合部に向けて突出する第1裏当て金と、を有し、
前記第2接合部は、水平方向に対して傾斜する第2傾斜面と、前記第2鋼管柱の第2内周面に固定されており前記第2傾斜面から前記第1接合部に向けて突出する第2裏当て金と、を有し、
前記第2裏当て金が前記第1内周面に対向するとともに前記第1裏当て金が前記第2内周面に対向し、鉛直方向に沿って見たときに前記第1裏当て金及び前記第2裏当て金が環状部を形成している、
鋼管柱。
発明の詳細な説明
【技術分野】
【0001】
本開示は、鋼管柱の接合方法、及び鋼管柱に関する。
続きを表示(約 2,900 文字)
【背景技術】
【0002】
特許文献1には、地下空間に配設された梁部材同士を連結する中柱部材を備える地下構造物が開示されている。この地下構造物の中柱部材は、鉄筋コンクリート製の中柱本体と、中柱本体の両端部に配設された一組の支圧板と、を備える。支圧板は、それぞれ梁部材に固定されている。支圧板によって、中柱本体が支持されている。一組の支圧板の間に、中柱本体の長手方向に沿って複数の鉄筋が配筋されている。複数の鉄筋の端部に、鉄筋の横結束力を高める結束構造が設けられている。結束構造は、複数の鉄筋の端部が支圧板内において中柱本体の断面中央部に対応する位置に収束されて形成されている。
【先行技術文献】
【特許文献】
【0003】
特許第5827158号公報
【発明の概要】
【発明が解決しようとする課題】
【0004】
ところで、鉛直方向に沿って並ぶ一対のスラブの間に鋼管柱を設置するときには、上下一対のスラブに予めシース管を埋め込み、上下一対のシース管の間に鋼管柱を配置する。そして、鋼管柱の上端及び下端のそれぞれ、並びにシース管にアンカーを挿入し、その後、シース管にモルタルを充填することによって、鋼管柱を上下一対のスラブに設置する。このとき、スラブには鉄筋が過密に配置されることがあるため、シース管をスラブに容易に配置できないということが生じうる。さらに、鋼管柱を設置した後に、特に下部のシース管にモルタルを充填しづらいということが生じうる。このように、鋼管柱とスラブとを互いに固定する工程が容易でない場合がある。
【0005】
本開示は、鋼管柱とスラブとを互いに固定しやすくできる鋼管柱の接合方法、及び鋼管柱を提供することを目的とする。
【課題を解決するための手段】
【0006】
本開示に係る鋼管柱の接合方法は、(1)鉛直方向に沿って並ぶ2つのスラブの間において第1鋼管柱及び第2鋼管柱を互いに接合する鋼管柱の接合方法である。この鋼管柱の接合方法は、2つのスラブのうちの一方に第1鋼管柱の一端を固定する工程と、2つのスラブのうちの他方と第1鋼管柱との間に水平方向に沿って第2鋼管柱を挿入する工程と、第1鋼管柱と第2鋼管柱とを溶接により互いに接合する工程と、を備える。第1鋼管柱は、第2鋼管柱に接合される第1接合部を有する。第2鋼管柱は、第1鋼管柱の第1接合部に接合される第2接合部を有する。第1接合部は、水平方向に対して傾斜する第1傾斜面と、第1鋼管柱の第1内周面に固定されており第1傾斜面から第2接合部に向けて突出する第1裏当て金と、を有する。第2接合部は、水平方向に対して傾斜する第2傾斜面と、第2鋼管柱の第2内周面に固定されており第2傾斜面から第1接合部に向けて突出する第2裏当て金と、を有する。挿入する工程では、第2裏当て金が第1内周面に対向するとともに第1裏当て金が第2内周面に対向し、鉛直方向に沿って見たときに第1裏当て金及び第2裏当て金が環状部を形成するように配置される。
【0007】
この鋼管柱の接合方法では、2つのスラブのうちの一方に第1鋼管柱の一端を固定し、その後、2つのスラブのうちの他方と第1鋼管柱との間に第2鋼管柱を挿入する。第2鋼管柱を挿入する前に第1鋼管柱をスラブに固定することによって、第1鋼管柱が固定されるスラブへのシース管の配置を不要とすることができる。したがって、スラブへのシース管の配置、及びシース管へのモルタルの充填の作業を低減できるので、鋼管柱とスラブとを互いに固定しやすくできる。この接合方法では、第1裏当て金は第2鋼管柱の第2内周面に対向し、第2裏当て金は第1鋼管柱の第1内周面に対向する。第2鋼管柱がスラブと第1鋼管柱との間に水平方向に沿って挿入されたとき、第1裏当て金と第2裏当て金とが鉛直方向視において環状部を形成するように配置される。第1鋼管柱の第1傾斜面と第2鋼管柱の第2傾斜面とは、水平方向に対して傾斜している。これにより、2つのスラブのうちの一方に固定された第1鋼管柱に向かって第2鋼管柱を水平方向から挿入したときに、第1裏当て金に第2裏当て金が衝突する可能性を低減でき、第2鋼管柱をスラブと第1鋼管柱との間に挿入しやすくできる。
【0008】
(2)上記(1)において、挿入する工程では、鉛直方向に沿って見たときに、第1裏当て金及び第2裏当て金のそれぞれが環状部の半分を形成するように配置されてもよい。この場合、第2鋼管柱が挿入されたときに、第1裏当て金が環状部の一方側の半分を形成するとともに、第2裏当て金が環状部の他方側の半分を形成する。これにより、2つのスラブのうちの一方に固定された第1鋼管柱に向かって第2鋼管柱を水平方向から挿入したときに、第1裏当て金に第2裏当て金が衝突する可能性をより低減でき、第2鋼管柱を他方のスラブと第1鋼管柱との間により挿入しやすくできる。よって、鋼管柱とスラブとを互いに固定しやすくできる。
【0009】
(3)上記(1)または(2)において、鋼管柱の接合方法は、2つのスラブのうちの他方に第3鋼管柱の一端を固定する工程を備えてもよい。この場合、第2鋼管柱を挿入する工程では、第1鋼管柱と第3鋼管柱との間に水平方向に沿って第2鋼管柱を挿入する。接合する工程では、第3鋼管柱と第2鋼管柱とを溶接により互いに接合する。第2鋼管柱は、第1鋼管柱とは反対側に位置しており第3鋼管柱に接合される第4接合部を有する。第3鋼管柱は、第4接合部に接合される第3接合部を有する。第3接合部は、水平方向に対して傾斜する第3傾斜面と、第3鋼管柱の第3内周面に固定されており第3傾斜面から第4接合部に向けて突出する第3裏当て金と、を有する。第4接合部は、水平方向に対して傾斜する第4傾斜面と、第2内周面に固定されており第4傾斜面から第3接合部に向けて突出する第4裏当て金と、を有する。挿入する工程では、第4裏当て金が第3内周面に対向するとともに第3裏当て金が第2内周面に対向し、鉛直方向に沿って見たときに第3裏当て金及び第4裏当て金が環状部を形成するように配置される。
【0010】
この場合、2つのスラブのうちの一方に第1鋼管柱の一端を固定するとともに、2つのスラブのうちの他方に第3鋼管柱の一端を固定する。その後、第1鋼管柱と第3鋼管柱の間に第2鋼管柱を挿入する。第2鋼管柱を挿入する前に一方のスラブに第1鋼管柱を固定するとともに他方のスラブに第3鋼管柱を固定することによって、第1鋼管柱が固定されるスラブ、及び第3鋼管柱が固定されるスラブへのシース管の配置を不要とすることができる。したがって、スラブへのシース管の配置、及びシース管へのモルタルの充填の作業を不要とすることができるので、スラブに対する鋼管柱の設置作業を一層容易に行うことができる。
(【0011】以降は省略されています)
この特許をJ-PlatPat(特許庁公式サイト)で参照する
関連特許
鹿島建設株式会社
接合構造
20日前
鹿島建設株式会社
構築方法
6日前
鹿島建設株式会社
制震架構
28日前
鹿島建設株式会社
解体方法
25日前
鹿島建設株式会社
過重力施設
28日前
鹿島建設株式会社
床版架設方法
18日前
鹿島建設株式会社
空調システム
1か月前
鹿島建設株式会社
柱建て込み方法
1か月前
鹿島建設株式会社
シールド掘進機
1か月前
鹿島建設株式会社
運搬台車および運搬方法
1か月前
鹿島建設株式会社
ワイヤレス給電システム
1か月前
鹿島建設株式会社
橋、および橋の製造方法
26日前
鹿島建設株式会社
接続方法および接続構造
1か月前
鹿島建設株式会社
接続方法および接続構造
28日前
鹿島建設株式会社
作業サイクル分析システム
18日前
鹿島建設株式会社
壁体の構築方法およびタンク
19日前
鹿島建設株式会社
コンクリート構造物構築方法
5日前
鹿島建設株式会社
鋼管柱の接合方法、及び鋼管柱
26日前
鹿島建設株式会社
品質評価装置および品質評価方法
14日前
鹿島建設株式会社
水処理システムおよび水処理方法
1か月前
鹿島建設株式会社
水硬性硬化体の炭酸化養生システム
25日前
鹿島建設株式会社
盛土評価システムおよび盛土評価方法
19日前
鹿島建設株式会社
生態系環境改善部材及び生態系環境改善構造
4日前
鹿島建設株式会社
鉱物含有量測定方法及び鉱物含有量測定装置
1か月前
鹿島道路株式会社
コンクリート舗装の養生方法
1か月前
鹿島道路株式会社
コンクリート舗装の養生方法
1か月前
鹿島建設株式会社
二酸化炭素の回収方法、二酸化炭素回収システム
5日前
鹿島道路株式会社
アスファルト混合物の製造方法
13日前
鹿島建設株式会社
環境音モニタ装置、環境音モニタ方法及びプログラム
25日前
ゼネラルヒートポンプ工業株式会社
ヒートポンプシステム
18日前
ケイミューシポレックス株式会社
軽量気泡コンクリートの製造方法
1か月前
鹿島建設株式会社
生物生息場構造体、生物生息場構造、生物生息場構造体の引き上げ方法
1か月前
鹿島建設株式会社
搬送管および搬送装置
1か月前
鹿島建設株式会社
搬送管および搬送装置
1か月前
Haloworld株式会社
マップ作成システム及び自動走行システム
1か月前
鹿島建設株式会社
光ファイバー設置構造、コンクリート部材養生方法、損傷評価方法及び構造特性評価方法
26日前
続きを見る
他の特許を見る