TOP
|
特許
|
意匠
|
商標
特許ウォッチ
Twitter
他の特許を見る
10個以上の画像は省略されています。
公開番号
2025173797
公報種別
公開特許公報(A)
公開日
2025-11-28
出願番号
2024079564
出願日
2024-05-15
発明の名称
作業台の移動装置および作業台
出願人
株式会社ベルニック
,
大興物産株式会社
,
鹿島建設株式会社
代理人
個人
主分類
E04G
1/24 20060101AFI20251120BHJP(建築物)
要約
【課題】例えば、作業効率の向上を図ることができる作業装置、情報処理装置、作業台およびプログラムを提供することを目的の一つとする。
【解決手段】操作可能に動作する動作部と、マイクロフォンの出力信号を音声認識して得られた電文に前記動作部の所定動作と予め関連付けられた指示ワードが含まれる場合に前記動作部の動作を前記所定動作に制御する制御部とを有する作業装置とする。これにより、例えば、手を使わないで作業装置を操作者の声によって操作することができる。
【選択図】図1
特許請求の範囲
【請求項1】
操作可能に動作する動作部と、
マイクロフォンの出力信号を音声認識して得られた電文に前記動作部の所定動作と予め関連付けられた指示ワードが含まれる場合に前記動作部の動作を前記所定動作に制御する制御部と
を有する作業装置。
続きを表示(約 830 文字)
【請求項2】
前記制御の開始タイミングを設定時間に応じて意図的に遅延可能である
請求項1に記載の作業装置。
【請求項3】
前記制御は、前記電文に予め設定されている作業前の安全確認の掛け声を含むウェイクワードが含まれていた場合に、前記ウェイクワード後の前記電文に対して行われたものである
請求項1に記載の作業装置。
【請求項4】
前記指示ワード後の前記電文に作業中の安全確認の掛け声を含む指示継続ワードが含まれている場合は前記所定動作を継続し、含まれていない場合は前記所定動作を中止する
請求項1に記載の作業装置。
【請求項5】
モーメンタリ型のスイッチにより前記制御の可不可が切り替わる
請求項1に記載の作業装置。
【請求項6】
前記スイッチは、フットスイッチである
請求項5に記載の作業装置。
【請求項7】
前記動作部は、装置の本体部に着脱可能に取り付けられ、前記本体部を設置面に沿って移動可能である
請求項1に記載の作業装置。
【請求項8】
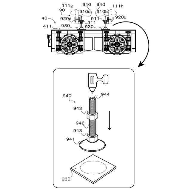
前記本体部が前記設置面から離間する状態で前記本体部に前記動作部を取り付ける取付部を有し、
前記取付部は、前記設置面から前記本体部までの距離を、ねじ回しにより長さ調節可能に接続する調整部を有する
請求項7に記載の作業装置。
【請求項9】
前記制御部は、PLC(Programmable Logic Controller)を含む
請求項1に記載の作業装置。
【請求項10】
マイクロフォンの出力信号を音声認識して得られた電文に作業装置の動作部の所定動作と予め関連付けられた指示ワードが含まれる場合に前記動作部の動作を前記所定動作に制御する制御部
を有する情報処理装置。
(【請求項11】以降は省略されています)
発明の詳細な説明
【技術分野】
【0001】
本発明は、作業装置、情報処理装置、作業台およびプログラムに関する。
続きを表示(約 1,500 文字)
【背景技術】
【0002】
操作可能に動作する動作部を有する作業装置が知られている。例えば、下記の特許文献1には、高所作業車の走行および作業台の昇降を操作レバーによって操作する技術について開示されている。
【先行技術文献】
【特許文献】
【0003】
特開2023-116203号公報
【発明の概要】
【発明が解決しようとする課題】
【0004】
しかしながら、これまでの作業装置による作業では作業効率が十分とはいえなかった。
【0005】
本発明は、例えば、作業効率の向上を図ることができる作業装置、情報処理装置、作業台およびプログラムを提供することを目的の一つとする。
【課題を解決するための手段】
【0006】
本発明は、例えば、
操作可能に動作する動作部と、
マイクロフォンの出力信号を音声認識して得られた電文に前記動作部の所定動作と予め関連付けられた指示ワードが含まれる場合に前記動作部の動作を前記所定動作に制御する制御部と
を有する作業装置である。
【0007】
本発明は、例えば、
マイクロフォンの出力信号を音声認識して得られた電文に作業装置の動作部の所定動作と予め関連付けられた指示ワードが含まれる場合に前記動作部の動作を前記所定動作に制御する制御部
を有する情報処理装置である。
本発明は、例えば、
操作可能に動作する動作部と、
マイクロフォンの出力信号を音声認識して得られた電文に前記動作部の所定動作と予め関連付けられた指示ワードが含まれる場合に前記動作部の動作を前記所定動作に制御する制御部と
を有する作業台である。
【0008】
本発明は、例えば、
マイクロフォンの出力信号を音声認識して得られた電文に作業装置の動作部の所定動作と予め関連付けられた指示ワードが含まれる場合に前記動作部の動作を前記所定動作に制御するステップ
をコンピュータに実行させるプログラムである。
【発明の効果】
【0009】
本発明によれば、例えば、作業効率の向上を図ることができる作業装置、情報処理装置、作業台およびプログラムを提供することができる。
【図面の簡単な説明】
【0010】
本発明の第1実施形態に係る作業システムの概略構成例を示す図である。
第1態様での作業台の構成例を示す斜視図である。
第2態様での作業台の構成例を示す斜視図である。
第3態様での作業台の構成例を示す斜視図である。
移動部の外観構成例を示す図である。
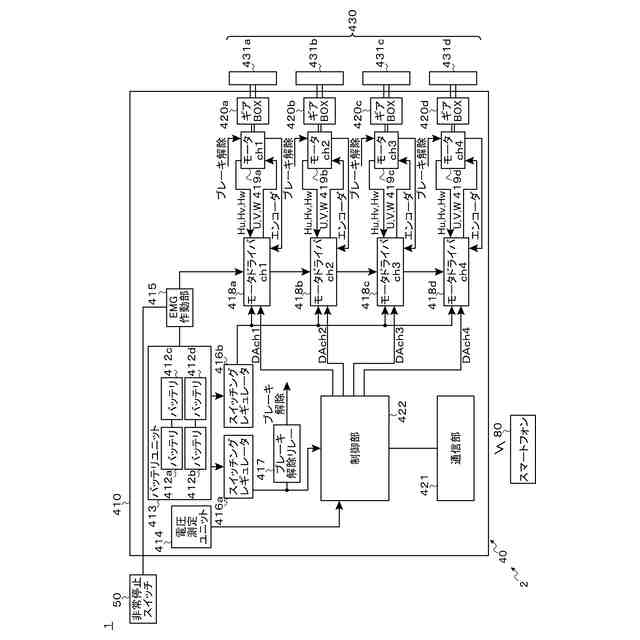
移動部の内部構成例を示すブロック図である。
本体部への移動部の取付構造の一例を示す上面図である。
本体部への取付部による取付例を示す斜視図である。
移動部への取付部による取付例について説明するための図である。
スマートフォンの構成例を示すブロック図である。
スマートフォンおよび移動部の処理例を示すフローチャートである。
スマートフォンの表示画面の一例を示す図である。
スマートフォンの表示画面の一例を示す図である。
スマートフォンが参照する設定ワードの具体例を示す図である。
移動部の動作例を示す図である。
移動動作の補正機能について説明するためのグラフである。
本発明の第2実施形態に係る作業システムの概略構成例を示す図である。
【発明を実施するための形態】
(【0011】以降は省略されています)
この特許をJ-PlatPat(特許庁公式サイト)で参照する
関連特許
株式会社ベルニック
作業台の移動装置および作業台
1日前
株式会社ベルニック
情報処理装置、作業台、作業システム、情報処理方法およびプログラム
1日前
個人
接合構造
1か月前
個人
タッチミー
1か月前
個人
屋台
2か月前
個人
野良猫ハウス
2か月前
個人
安心補助てすり
1か月前
個人
転落防止用手摺
2か月前
個人
フェンス
3か月前
積水樹脂株式会社
柵体
2か月前
個人
ベンリナアングル
1か月前
ニチハ株式会社
建築板
3か月前
個人
居住車両用駐車場
2か月前
個人
筋交自動設定装置
2か月前
個人
熱抵抗多層断熱建材
2か月前
個人
補強部材
2か月前
個人
柵
3か月前
個人
防災建築物
1か月前
個人
身体用シェルター
2か月前
個人
身体用シェルター
2か月前
株式会社シンケン
住宅
1か月前
鹿島建設株式会社
壁体
3か月前
成友建設株式会社
建物
2か月前
イワブチ株式会社
組立柱
2か月前
三協立山株式会社
構造体
22日前
個人
可搬型供養墓
1か月前
三洋工業株式会社
床構造
1か月前
三協立山株式会社
構造体
2か月前
三協立山株式会社
構造体
2か月前
三協立山株式会社
構造体
2か月前
インターマン株式会社
天井構造
3か月前
三協立山株式会社
構造体
2か月前
三協立山株式会社
構造体
2か月前
三協立山株式会社
構造体
1か月前
株式会社熊谷組
床構成材
1か月前
株式会社熊谷組
木質材料
2か月前
続きを見る
他の特許を見る