TOP
|
特許
|
意匠
|
商標
特許ウォッチ
Twitter
他の特許を見る
公開番号
2025160820
公報種別
公開特許公報(A)
公開日
2025-10-23
出願番号
2024063625
出願日
2024-04-10
発明の名称
壁体の構築方法およびタンク
出願人
鹿島建設株式会社
代理人
個人
主分類
E04H
7/18 20060101AFI20251016BHJP(建築物)
要約
【課題】タンクの壁体を好適に構築できる壁体の構築方法等を提供する。
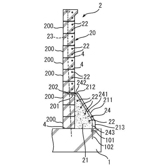
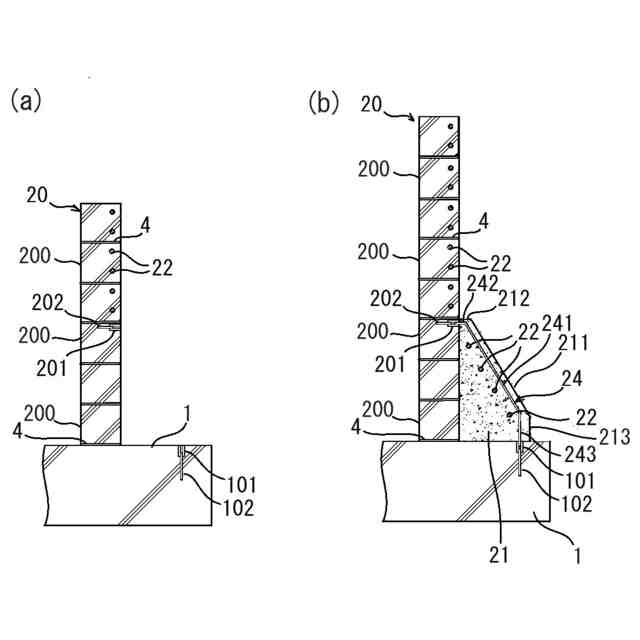
【解決手段】防液堤は、筒状の本体20と、本体20の底部の外側に設けられたハンチ21と、を有するタンクの壁体である。防液堤には周方向の緊張材22によるプレストレスが導入される。防液堤の本体20は、コンクリート製のプレキャストブロック200を上下に積層して形成する。ハンチ21は、本体20を少なくともハンチ21の高さまで形成した後、本体20の底部の外側でコンクリートを打設することで形成する。
【選択図】図3
特許請求の範囲
【請求項1】
タンクの壁体の構築方法であって、
前記壁体は、筒状の本体と、前記本体の底部の外側に設けられたハンチと、を有し、周方向の緊張材によるプレストレスが導入され、
コンクリート製のプレキャストブロックを上下に積層して前記本体を形成し、
前記ハンチは、前記本体を少なくとも前記ハンチの高さまで形成した後、前記本体の底部の外側でコンクリートを打設することで形成することを特徴とする壁体の構築方法。
続きを表示(約 390 文字)
【請求項2】
前記壁体の底部では、周方向の前記緊張材が前記ハンチに埋設され、
前記壁体の底部よりも上方の部分では、周方向の前記緊張材が前記本体に埋設されることを特徴とする請求項1に記載の壁体の構築方法。
【請求項3】
前記壁体は基礎版上に構築され、
前記ハンチに埋設された接合筋を用い、前記ハンチが前記本体と前記基礎版に接合されたことを特徴とする請求項1記載の壁体の構築方法。
【請求項4】
壁体を有するタンクであって、
前記壁体は、
コンクリート製のプレキャストブロックを上下に積層して形成される筒状の本体と、
前記本体の底部の外側で、現場打ちのコンクリートにより形成されたハンチと、
を有し、
前記壁体に周方向の緊張材によるプレストレスが導入されたことを特徴とするタンク。
発明の詳細な説明
【技術分野】
【0001】
本発明は、壁体の構築方法およびタンクに関する。
続きを表示(約 1,600 文字)
【背景技術】
【0002】
特許文献1、2には、外周部に防液堤を有するプレストレストコンクリート製のタンク(以下、PCタンクという)が開示されている。防液堤は筒状の壁体であり、その内部には周方向の緊張材が埋設される。当該緊張材は防液堤の高さ方向に間隔を空けて多段に配置され、これらの緊張材により防液堤に周方向のプレストレスを導入することで、防液堤内部の液圧に耐え得るように防液堤の補強が行われる。
【0003】
防液堤に周方向のプレストレスを導入すると、防液堤の底部では、防液堤をタンクの内側に曲げようとする鉛直面内の曲げモーメントが生じる。この曲げモーメントに対する補強のため、特許文献1では、縦方向の緊張材によるプレストレスを防液堤に導入するとともに、防液堤の底部を外側に増厚してハンチを形成し、構造上必要な部材断面を確保している。
【先行技術文献】
【特許文献】
【0004】
特許第4793640号公報
特開2023-19735号公報
【発明の概要】
【発明が解決しようとする課題】
【0005】
特許文献1では、ハンチを含む防液堤の底部を現場打ちのコンクリートにより形成しているため、型枠の設置など施工に時間がかかる。防液堤の内側には金属板等による内槽や外槽が設けられるが、その工事は機械工事となり、施工上の理由から防液堤をある程度の高さまで形成した後でないと開始できない。そのため、ハンチを含む防液堤の底部を現場打ちのコンクリートにより形成すると、機械工事の着手が遅れるなどして工程の遅延につながる恐れがある。
【0006】
一方、特許文献2では、プレキャストブロックを上下に積層して防液堤を構築することが記載されており、これにより比較的短時間で防液堤を構築できる。また特許文献2には、ハンチを有する防液堤の底部をプレキャストブロック化することも開示されている。しかしながら、当該プレキャストブロックは、他の部位のプレキャストブロックと形状が異なり、ハンチの分だけサイズや重量が大きくなることから製造や運搬の面で都合が悪い。
【0007】
本発明は上記の課題に鑑みてなされたものであり、タンクの壁体を好適に構築できる壁体の構築方法等を提供することを目的とする。
【課題を解決するための手段】
【0008】
上記した課題を解決するための第1の発明は、タンクの壁体の構築方法であって、前記壁体は、筒状の本体と、前記本体の底部の外側に設けられたハンチと、を有し、周方向の緊張材によるプレストレスが導入され、コンクリート製のプレキャストブロックを上下に積層して前記本体を形成し、前記ハンチは、前記本体を少なくとも前記ハンチの高さまで形成した後、前記本体の底部の外側でコンクリートを打設することで形成することを特徴とする壁体の構築方法である。
【0009】
本発明では、プレキャストブロックを用いて壁体の本体を形成することで、タンクの内槽や外槽の機械工事の開始に必要な高さを早期に確保でき、機械工事を早期に着手することで工期短縮につながる。一方、ハンチに関しては現場打ちのコンクリートにより形成することで、壁体の底部のプレキャストブロックのサイズや重量が大きくなるのを防止でき、プレキャストブロックの製造面や運搬面で好ましい。以上により、本発明ではタンクの壁体を好適に構築できる。
【0010】
前記壁体の底部では、周方向の前記緊張材が前記ハンチに埋設され、前記壁体の底部よりも上方の部分では、周方向の前記緊張材が前記本体に埋設されることが望ましい。
これにより、ハンチを含む壁体全体に周方向のプレストレスを導入することができる。
(【0011】以降は省略されています)
この特許をJ-PlatPat(特許庁公式サイト)で参照する
関連特許
鹿島建設株式会社
制震架構
1か月前
鹿島建設株式会社
接合構造
25日前
鹿島建設株式会社
構築方法
11日前
鹿島建設株式会社
解体方法
1か月前
鹿島建設株式会社
熱回収方法
2か月前
鹿島建設株式会社
過重力施設
1か月前
鹿島建設株式会社
空調システム
1か月前
鹿島建設株式会社
床版架設方法
23日前
鹿島建設株式会社
柱建て込み方法
1か月前
鹿島建設株式会社
シールド掘進機
1か月前
鹿島建設株式会社
グラウチングシステム
1か月前
鹿島建設株式会社
グラウチングシステム
1か月前
鹿島建設株式会社
ワイヤレス給電システム
1か月前
鹿島建設株式会社
橋、および橋の製造方法
1か月前
鹿島建設株式会社
運搬台車および運搬方法
1か月前
鹿島建設株式会社
接続方法および接続構造
1か月前
鹿島建設株式会社
接続方法および接続構造
1か月前
鹿島建設株式会社
作業サイクル分析システム
23日前
鹿島建設株式会社
壁体の構築方法およびタンク
24日前
鹿島建設株式会社
コンクリート構造物構築方法
10日前
鹿島建設株式会社
鋼管柱の接合方法、及び鋼管柱
1か月前
鹿島建設株式会社
水処理システムおよび水処理方法
1か月前
鹿島建設株式会社
品質評価装置および品質評価方法
19日前
鹿島建設株式会社
水硬性硬化体の炭酸化養生システム
1か月前
鹿島建設株式会社
盛土評価システムおよび盛土評価方法
24日前
鹿島建設株式会社
鉱物含有量測定方法及び鉱物含有量測定装置
1か月前
鹿島建設株式会社
生態系環境改善部材及び生態系環境改善構造
9日前
鹿島道路株式会社
コンクリート舗装の養生方法
1か月前
鹿島建設株式会社
二酸化炭素の回収方法、二酸化炭素回収システム
10日前
鹿島道路株式会社
コンクリート舗装の養生方法
1か月前
鹿島道路株式会社
アスファルト混合物の製造方法
18日前
鹿島建設株式会社
環境音モニタ装置、環境音モニタ方法及びプログラム
1か月前
ゼネラルヒートポンプ工業株式会社
ヒートポンプシステム
23日前
鹿島建設株式会社
オンライン会議サーバ、及び、オンライン会議を提供する方法
1か月前
ケイミューシポレックス株式会社
軽量気泡コンクリートの製造方法
1か月前
鹿島建設株式会社
生物生息場構造体、生物生息場構造、生物生息場構造体の引き上げ方法
1か月前
続きを見る
他の特許を見る